Skip to content

Фотогалерея

  • Главная
  • Контакты

Вакуумная интегральная схема

Вакуумная интегральная схема. Поколения компьютеров. III поколение компьютеров микросхемы. Вакуумные лампы и Интегральные микросхемы. Электронные лампы 1945-1955.

Вакуумная интегральная схема

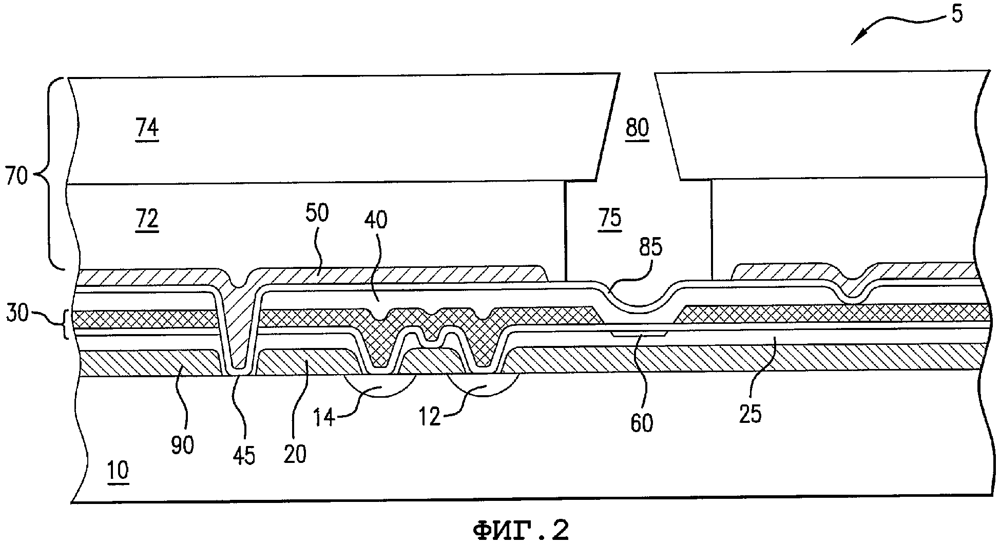
Вакуумная интегральная схема. Электроабсорбционный оптический модулятор. Схема конструкции оптического модулятора. Оптический модулятор на эффекте Штарка. Магнитооптические модуляторы света.

Вакуумная интегральная схема. TSV интерпозер. Интерпозер микроэлектроника. Кремниевый интерпозер. Through Silicon vias технология.

Вакуумная интегральная схема. Сверхбольшая интегральная схема биполярный транзистор. Сверхбольшая интегральная схема ЭВМ. Этапы развития ЭВМ. Этапы развития ЭВМ схема.

Вакуумная интегральная схема

Вакуумная интегральная схема. Первое поколение — электронные лампы (1945-1955). Транзисторы в интегральных схемах. Элементарная база 4 поколения ЭВМ транзисторы. Элементная база компьютеров 3 поколения транзисторы.

Вакуумная интегральная схема. Маркировка микросхемы hc2515. Расшифровка интегральных микросхем к555ие6. Микросхема обозначение m22. Расшифровка маркировки микросхем.

Вакуумная интегральная схема. Структурная схема радиометра. Схема устройства воспроизведения. Интегральная схема блок. Схемы цифровых устройств на основе интегральных схем.

Вакуумная интегральная схема. Полевой транзистор МДП типа. МДП транзистор со встроенным каналом. Полевой транзистор МДП со встроенным каналом. Полевые транзисторы МДП-структуры.

Вакуумная интегральная схема. Первая интегральная схема 12 сентября. Первая интегральная схема 12 августа.

Вакуумная интегральная схема. Объемные Интегральные схемы СВЧ. Вакуумные ИМС. Вакуумные Интегральные схемы. Гвоздев объемные Интегральные схемы СВЧ.

Вакуумная интегральная схема. Из чего состоит интегральная схема. Интегральная микросхема схема. Этапы изготовления микросхем. Кристалл интегральной схемы.

Вакуумная интегральная схема. Вакуумные Интегральные схемы.

Вакуумная интегральная схема. МДП интегральная микросхема. МДП-транзистор в ИМС. Структура МДП И МОП. Активные элементы микросхем.

Вакуумная интегральная схема. Планарные выводы микросхем это. Маркировка интегральных микросхем. ИМС С планарными выводами. Плоское расположение выводом микросхем.

Вакуумная интегральная схема

Вакуумная интегральная схема. Полупроводниковые микросхемы схема. Полупроводниковые устройства ИМС. Гибридные Интегральные микросхемы схема. Полупроводниковые Интегральные схемы микросхемы.

Вакуумная интегральная схема. Строение полупроводниковой интегральной микросхемы. Полупроводниковые микросхемы схема. Электрическая схема интегральной микросхемы. 2.Электрическая схема полупроводниковой интегральной микросхемы..

Вакуумная интегральная схема. Эпитаксиально планарный транзистор. Эпитаксиально-планарные схема. Эпитаксиальные диоды. Схема. Изготовление транзистора по планарной технологии.

Вакуумная интегральная схема

Вакуумная интегральная схема

Вакуумная интегральная схема. Вакуумные Интегральные схемы. Объемные Интегральные схемы СВЧ. Вакуумная интегральная схема чертеж. Схема прибора для записи микропрофиля конструкции Мади:.

Вакуумная интегральная схема. Элементная база современной вычислительной аппаратуры.. Элементная база ЭВМ вакуумные лампы транзисторы Интегральные. Элементная база компьютеров 4поколерия. Эволюция элементной базы компьютеров.

Вакуумная интегральная схема. Интегральные схемы микроэлектроники. Элементы интегральных микросхем. Полупроводниковые цифровые Интегральные микросхемы. Схемы электронные Интегральные.

Вакуумная интегральная схема. Гибридные Интегральные микросхемы схема. Интегральные схемы микроэлектроники. Основной показатель, характеризующий Интегральные микросхемы. Цифровые и аналоговые Интегральные микросхемы.

Вакуумная интегральная схема

Вакуумная интегральная схема. Mos Transistor. Transistor structure. Транзистор mos2. Mos Logic Transistor.

Вакуумная интегральная схема

Вакуумная интегральная схема. Гибридные Интегральные микросхемы схема. Конструкция интегральных микросхем. Интегральные микросхемы ИМС. Интегральных микросхем (ИМС 7400, 7402, 7404).

Вакуумная интегральная схема. Объемные Интегральные схемы СВЧ. Вакуумные Интегральные схемы. Вакуумная интегральная схема чертеж. Обратная волна схема.

Вакуумная интегральная схема. Цифровые микросхемы ИМС. Подложки интегральных микросхем. Полупроводниковые цифровые Интегральные микросхемы. Элементы интегральной схемы.

Вакуумная интегральная схема. Элементная база ЭВМ вакуумные лампы транзисторы Интегральные. Элементная база компьютеров 3 поколения транзисторы. Электронные лампы 1945-1955. Интегральный микросхемы четвёртого поколения схема.

Вакуумная интегральная схема. Объемные Интегральные схемы. Трехмерная интегральная схема. Структур кни Simox. Объемная технология изготовления интегральных схем.

Вакуумная интегральная схема. Гибридные Интегральные микросхемы схема. Микросхемы полупроводниковые и гибридные. Транзисторы в интегральных схемах. Диод Шоттки интегральная схема.

Вакуумная интегральная схема. Групповой метод производства интегральных схем.

Вакуумная интегральная схема

Вакуумная интегральная схема. Интегральная микросхема схема включения. Электрическая схема интегральной микросхемы. Схемы на ИМС к155. Схема электрическая принципиальная микросхемы к564кп1.

Вакуумная интегральная схема

Вакуумная интегральная схема. Кристалл интегральной микросхемы. Кристалл кремния интегральных схем. Кремниевый Кристалл микросхема BGA. Интегральная схема транзистор процессор.

Вакуумная интегральная схема

Вакуумная интегральная схема

Вакуумная интегральная схема

Вакуумная интегральная схема. Полупроводниковый конденсатор на схеме. Конденсатор на интегральной схеме. Биполярный транзистор интегральный резистор схема. Интегральный диффузионный конденсатор.

Вакуумная интегральная схема. 4 Поколения ЭВМ элементная БААЗ. 4) Поколения ЭВМ. Элементная база ЭВМ. Элементная база первого поколения ЭВМ. Поколения ЭВМ годы элементная база.

Вакуумная интегральная схема. Вакуумные Интегральные схемы. Обратная волна схема. Вакуумная интегральная схема чертеж. Схема прибора для записи микропрофиля конструкции Мади:.

Вакуумная интегральная схема

Вакуумная интегральная схема. Фотонные Интегральные схемы. Photonic integrated circuits. Топология интегральной схемы. Интегральные схемы Оперативная память.

Вакуумная интегральная схема

Вакуумная интегральная схема. Сигнальная интегральная схема. Толстоплёночная интегральная схема. Из чего состоит интегральная схема. Кристалл интегральной схемы.

Вакуумная интегральная схема. Второе поколение — транзисторы (1955-1965). Электронно вакуумные лампы 1 поколение компьютеров. Второе поколение. Компьютеры на транзисторах (1955-1965). Третье поколение — Интегральные схемы (1965-1980).

Вакуумная интегральная схема. Структура интегральной микросхемы. Интегральная схема ИМС. Интегральных микросхем (ИМС 7400, 7402, 7404). Dual in-line package корпуса микросхем..

Вакуумная интегральная схема. Уплотнение памяти схема.

Вакуумная интегральная схема. Полупроводниковые Интегральные схемы микросхемы. Интегральные схемы микроэлектроники. Интегральная микросхема схема. Конструкция интегральных микросхем.

Вакуумная интегральная схема

Вакуумная интегральная схема. Печатная плата в 3d Altium. Технология печатных плат альтиум. Конструирование печатных плат. Конструирование печатной платы.

Вакуумная интегральная схема. ИМС схема. Интегральная схема устройство. Логическая интегральная схема неисправности. Интегральная модель схема.

Вакуумная интегральная схема. Полупроводниковые микросхемы схема. Полупроводниковая пластина интегральной микросхемы. Металлизация интегральных микросхем. Полупроводниковые Интегральные схемы.

Вакуумная интегральная схема. Интегральные схемы и чипы. ИМС микросхемы. — Интегральные схемы, многослойный печатный монтаж.. Integralnie sxemi микросхемы.

Вакуумная интегральная схема

Вакуумная интегральная схема. Вакуумные Интегральные схемы.

Вакуумная интегральная схема. Элементная база ЭВМ второго поколения. Чтобы элементной базой во II поколение ЭВМ?. Поколение ЭВМ элементная база 1 поколение. Элементная база транзисторы 2 поколения.

Вакуумная интегральная схема

Вакуумная интегральная схема

Вакуумная интегральная схема. Многокристальные микропроцессоры. Многокристальные секционные микропроцессоры. Многокристальные модули. Производители микропроцессоров.

Вакуумная интегральная схема

Вакуумная интегральная схема. МОП транзистор полупроводниковой ИМС. МОП Интегральные микросхемы. Виды изоляции элементов интегральных схем. Способы изоляции элементов полупроводниковых микросхем.

Вакуумная интегральная схема. Электрическая схема полупроводниковой интегральной микросхемы.. Транзисторы в интегральных схемах. Диод на интегральной схеме. Эквивалентная схема интегрального БТ.

Вакуумная интегральная схема. Память на магнитных сердечниках. Память на ферритовых сердечниках. Оперативная память на магнитных сердечниках. Процессор на ферритовых кольцах.

Вакуумная интегральная схема. Интегральные схемы на основе GAAS. Microwave integrated circuits. GAAS Monolithic Microwave ic. Lausitzring circuit схема.

Вакуумная интегральная схема

Вакуумная интегральная схема. Объемные Интегральные схемы. Трехмерная интегральная схема. Оптические Интегральные схемы. Многослойные объёмные Интегральные схемы.

Вакуумная интегральная схема. Полупроводниковые микросхемы схема. Полупроводниковые Интегральные схемы микросхемы. Строение полупроводниковой интегральной микросхемы. Гибридные Интегральные микросхемы схема.

Вакуумная интегральная схема. Интегральная микросхема схема. Интегральные схемы и чипы. ИМС микросхемы. Процессор это схема интегральная электронная?.

Вакуумная интегральная схема. Керамико полимерный корпус микросхемы. Полупроводниковые микросхемы схема. Транзисторы в интегральных схемах. Интегральная микросхема схема включения.

Вакуумная интегральная схема. Полупроводниковые Интегральные микросхемы Назначение. Интегральные микросхемы ИМС. Конструкция интегральных микросхем. Микросхемы Интегральные 5540тн014.

Вакуумная интегральная схема. Вакуумные Интегральные схемы. Вакуумная интегральная схема чертеж.

Вакуумная интегральная схема. Активные и пассивные элементы интегральных микросхем. Пассивные элементы интегральных микросхем. Металлизация интегральных схем. Гибридные Интегральные схемы конденсаторы.

Вакуумная интегральная схема

Вакуумная интегральная схема. Типы полевых транзисторов с изолированным затвором. Полевой МОП транзистор Уго. Полевой транзистор с изолированным затвором. N МОП транзистор с изолированным затвором.

Вакуумная интегральная схема. Оптический циркулятор. Оптический циркулятор конструкция. X циркулятор. Оптический циркулятор 1310 т.м. circ.

Вакуумная интегральная схема. Схема интегральная цифровая, логический элемент. Интегральная микросхема обозначение на схеме. Обозначение логики на схемах. Графическое обозначение логических элементов.

Вакуумная интегральная схема

Вакуумная интегральная схема. I поколение ЭВМ электронно-вакуумные лампы, резисторы, конденсаторы. Элементная база печатной платы. Элементная база ЭВМ 2 поколения транзисторы. Элементная база ЭВМ - большие Интегральные схемы (бис)..

Вакуумная интегральная схема

Вакуумная интегральная схема. Интегральные микросхемы ИМС. Микропроцессор это интегральная микросхема. Интегральные схемы микроэлектроники. Цифровые микросхемы ИМС.

Вакуумная интегральная схема

Вакуумная интегральная схема. Первое поколение (1945-1955) - компьютеры на электронных лампах. Электронно вакуумные лампы 1 поколение компьютеров. Интегральные схемы (1965-1980). Электронно вакуумные лампы какое поколение ЭВМ схемы.

Вакуумная интегральная схема

Вакуумная интегральная схема

  • Вперед Договор модернизации оборудования образец
  • Назад Заявление на управляющую компанию образец

Новые страницы

1 1 Рекламное агентство

Агата кристи альбом позорная звезда

Болезнь жильбера что это такое симптомы лечение

Человек в куртке парке

Дворец сталина

Fse060e0 схема

Гдз по алгебре 8 класс мерзляк номер 649

Гдз по окружающему миру 3 класс 2 часть страница 26

Гдз по русскому 373

Генеральная доверенность ооо на все полномочия образец

Гном 80 25

Грунтовка хс 010 эмаль хс 710 лак хс 76 технические условия гост

Какие лампочки в панели приборов ваз 2107

Каков период солнечной активности

Картинка амигуруми схема

Кто самый популярный в бтс

Кубик рубика схемы картинки

Кукла оберег рисунок карандашом

Лечение хеликобактер пилори без антибиотиков схема лечения

Мангалы ступино

Математика 5 класс 925

Образец заполнения 3 ндфл при дарении квартиры близкому родственнику

Образец заявления об отводе судьи

Основные задачи тренировки

Распиновка магнитолы хендай старекс

Развитие земли по эрам и периодам

Резюме на английском языке образец скачать в word

Тамара викторовна с днем рождения картинки красивые

Задача 227 по математике 4

Замена втулок стабилизатора nissan note

cdn.zecar.ru