Skip to content

Фотогалерея

  • Главная
  • Контакты

Уголок 63х63х5

Металлический уголок 63х63х5 — купить в розницу — цена за 1 метр

Уголок 63х63х5 12м — купить в Великом Новгороде

Уголок 63х63х5 12м купить в Ижевске | Товары для дома и дачи | Авито

Металлический уголок 63х63х5 купить в Москве | Товары для дома и дачи ...

Уголок 63х63х5 металлический купить в Нижнем Новгороде | Товары для ...

Купить Уголок 63х63х5 оптом и в розницу на металлобазе | УК \"Группа ...

Сертификат 1 на уголок металлический 63х63х5 мм – ПКФ «Метинвест-сервис»

Уголок 63 х 63 х 5 стальной купить в Москве, цена за метр и за тонну ...

Уголок металлический 63х63х5. Уголок равнополочный купить в Нижнем ...

Уголок 63х63х5

Уголок 63 х 5 1 м.п. (28-782) – низкие цены, кредит, оплата частями в ...

Стальной уголок 63х63х5 цена за метр и тонну.

Уголок равнополочный 63х63х5,0 мм: цены, ГОСТы и производители

Вес 1 метра уголка 63х63х5 | ? ГОСТ 8509-93

Уголок стальной равнополочный 63х63х5 в Сургуте

уголок_63х6

Уголок 63х63х5, цена 29550 грн — Prom.ua (ID#1518255848)

Уголок 63х63х5 мм цена, вес, Купить уголок 63х63х5 мм в Минске

Уголок 63х63х5 вес 1 метра

Оцинкованный уголок 63х63х5 (6м) в Самаре – АО «Самараметалл»

Сертифицированный металлопрокат в СПб

Уголок 50х50х5, метр — Торговый дом Сатурн

Уголок 63х63х5 - купить в Москве, цена от 411 ?- Металлобаза в Москве

Уголки металл : Уголок 63х63х5 (12,0)

уголок_63х63х6

Уголок

Алюминий

Купить Уголок 25х25х3 мм в Краснодаре

Отверстия в угловых стальных профилях по ГОСТ 8509 и ГОСТ 8510 ...

Алюминий

Сертификат качества Уголок 63х63х5

Сертификат качества металлопродукции, скачать сертификат металлопрокат

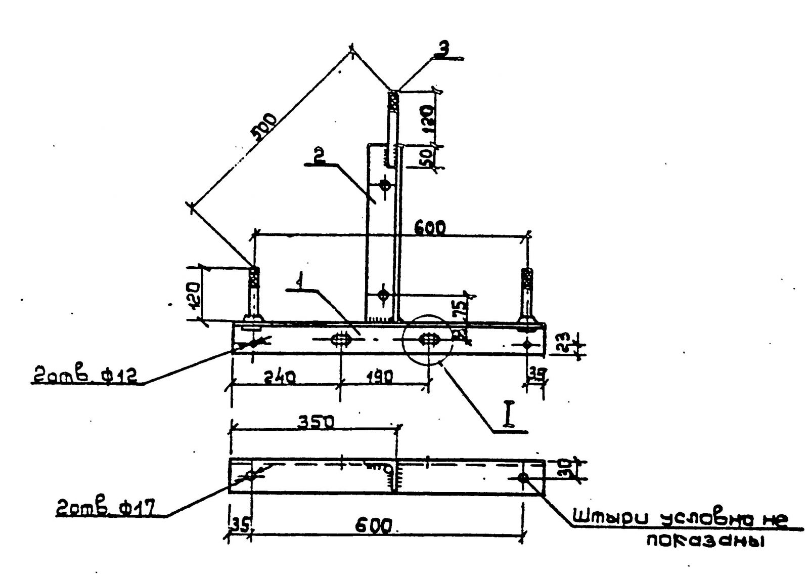
Траверса ТМ-71

Способ как сделать теплый пол в баню

Кронштейн КФПУЦ-63 заказать в Санкт-Петербурге - НПО \"АКС\"?

Кронштейн КФПУЦ-63 заказать в Санкт-Петербурге - НПО \"АКС\"

Купить Закладная \"4\" оптом и в розницу на металлобазе | УК \"Группа ...

Кронштейн КВЛЦ-63А заказать в Санкт-Петербурге - НПО \"АКС\"

Бытовка 2.4х6х2.5 м профлист с одним ПВХ окном купить в Ростове-на-Дону ...

Гараж 3,6х6х3,1м (теплый гараж дя дачи 21,6 м.кв) от производителя ...

Купить Квадрат 10 оптом и в розницу на металлобазе | УК \"Группа ...

«Укрзалізниці» не удалось приобрести уголка на 3,3 млн грн — Новости ...

Купить уголок равнополочный оптом и в розницу с низкой ценой в Москве и ...

Купить уголок металлический в Нальчике: опт и розница, равнополочный ...

Балконное ограждение - Чертежи, 3D Модели, Проекты, Металлоконструкции

Блок-контейнер БК-00

Траверса ТМ68

Блок-контейнер БК-14

Изготовление: ворота гаражные распашные «вгст» в Улан-Удэ - Барахолка ...

Купить Траверсы ТМ-74, ТМ-74М, цены на траверсы | \"СтальЭнергоРесурс\"

Бытовка дачная (домик) купить в Екатеринбурге по низкой цене ...

Купить траверсы ТМ-73а, ТМ-73аМ, цены на траверсы | \"СтальЭнергоРесурс\"

Творческий уголок * Переделки.Ру

Траверса ТН-8 (3.407.1-136.3-27) 6,10 кг

Торговый павильон 15 м.кв от производителя купить в Санкт-Петербурге ...

Придорожное кафе 12.9 кв.м. (передвижное кафе) от производителя купить ...

Кронштейны постоянного и переменного тока (КВЛЦ-50, КВЛЦ-63, КФДЦ-50)

Изготовление: ворота гаражные распашные «вгст» в Улан-Удэ - Барахолка ...

Уголок шампань алюминиевый для цоколя - фото

Уголок металлический вес 1 метра таблица: Калькулятор веса уголка ...

Уголок - ТюменьСтройБлок

Стеллаж приёмного моста буровой установки Hong Hua ZJ50DBS (Китай ...

Пост охраны СБК-21

Профиль стеклопластиковый пултрузионный полимерный композитный

Уголок 63х63х5 ГОСТ 8509-93 сталь Ст3 купить в Нижнем Новгороде ...

Траверса ТМ-110

Уголок 63х63х5 ГОСТ 8509-93 сталь Ст3 купить в Нижнем Новгороде ...

Траверса ТМ-63 узнать цены и купить в Сургуте, Челябинске, Красноярске ...

Траверса ТМ 63 в наличии - поставка оптом и в розницу по России и СНГ

  • Вперед Как поменять спидометр на ваз 2107
  • Назад Схемотехника цепи

Новые страницы

Аэробус а350 900 схема

Алгебра 9 класс колягин номер 586

Белое море схема

Электроклапан карбюратора ваз 2106

Гейдман 3 класс рабочая тетрадь 4 часть ответы

Хэмптон корт в лондоне

Как менять лампочки на приоре

Карта природных зон мира

Картинки первых весенних цветов для детей в детском саду

Когда менять масло в коробке лачетти

Красивые дома в майнкрафте фото и схемы как строить легкие

Магазин валберис женские спортивные костюмы

Масса фары

Москва 80 90 годы

Носки крючком из квадратов схемы и описание простые и красивые

Образец предостережения прокурора

Переходник металлический для труб

Повторение пройденного что узнали чему научились 4 класс школа россии 4 четверть презентация

Рено флюенс загорелся ключ

Схема московского мкц

Схема железного человека

Шнайдер автоматы

Штатное расписание образец заполнения

Сливной клапан 32 мм

Спбгу мвд

Технологическая карта спортивная игра

Терпящий бедствие пассажиры дремлют

Уголок 63х63х5

Ваз 2107 плавают холостые обороты инжектор

Зимние виды спорта доклад

cdn.zecar.ru