Skip to content

Фотогалерея

  • Главная
  • Контакты

Tda1519c схема включения

TDA1519C Stereo Audio Amplifier - YouTube

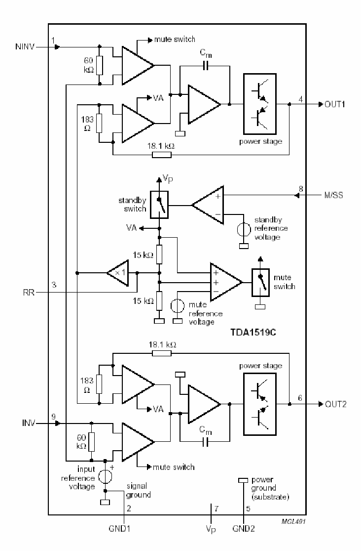
TDA1519C Datasheet - STEREO POWER AMPLIFIER

TDA1519C Datasheet - STEREO POWER AMPLIFIER

TDA1519C Circuit Intégré Amp Audio Pwr 12W Ster 9SIL | eBay

1PCS TDA1519C TDA1519 Power Radio Amplifier | eBay

TDA1519 TDA1519A TDA1519C integrated circuit|integrated circuit|circuit ...

TDA1519C pin connection diagram and pin fucntions and pin descripttion ...

TDA1519C Original supply, US $ 1.20-1.20 , Power Management ICs ...

Philips TDA1519C | BUY, PRICE, DATASHEET, | silicon-ark

Philips TDA1519C | BUY, PRICE, DATASHEET, | silicon-ark

TDA1519C_Typical Application Reference Design | Audio Power Amplifier ...

10PCS TDA1519C TDA1519 TDA1519CL ZIP9 Brand new in original-in ...

1pcs/lot TDA1519 TDA1519A TDA1519C TDA1519CL UTC ZIP In Stock-in ...

TDA1519CL-H09-B-T datasheet(3/8 Pages) UTC | No switch-on/switch-off pops

"Tda1524a схема включения"

Микросхема tda1517 схема включения - 80 фото

"Tda1524a схема включения"

IDT7024L55PF CA91C860A-40CQZ_虎窝淘

"Tda1524a схема включения"

"Tda1524a схема включения"

Tda8588aj схема включения - 92 фото

Tda7375 схема включения - 93 фото

Схема подключения трансформатора 10 - фото

К155ла8 схема включения генератора - 97 фото

Tea1521t схема включения

Схема подключения генератора тойота - 86 фото

Микросхема к155тм2 описание и схема включения - 87 фото

Тл494 даташит

Jual IC TDA1519 Phillips di Lapak Electronic Spare Part | Bukalapak

Amplificator 22 W cu TDA1519 | Schema Electrica

Amplificator 22 W cu TDA1519 | Schema Electrica

TDA1519C 音频攻放IC 提供技术资料 - Sumzi Electronics Co., Ltd

tda1519c (11) » Szukaj | elecena.pl - wyszukiwarka elementów ...

TDA1519C GRANDE - Duque Eletrônica

Усилители мощности для компьютера с сабвуфером - Электропортал

  • Вперед Замена масла в гуре рено дастер
  • Назад Тренировочная одежда для танцев для девочки

Новые страницы

Анастасия александровна с днем рождения картинки красивые

Батурино храм

Босова 7 гдз

Дизентерия симптомы у взрослых лечение

Дом ростовых в москве на поварской

Экспорт энергоносителей россии

Фигуристы сша

Фитнес гатчина абонементы

Гдз 4 б класс русский язык

Гдз по математике 5 класс номер 654

Грибок на ногтях ног как лечить

Италия бизнес

Как отключить спидометр форд транзит

Как выглядит еврораскладушка в отеле

Картинка огонек на прозрачном фоне

Каталог свечей зажигания бош

Контурная карта по истории 6 класс франкское государство при карле великом

Метро цска

Монтаж контактора расценка

Мозг хордовых картинки

Образец акта на дополнительные работы в строительстве

Перечень прикладных видов спорта

Phoenix sport

Решения по русскому языку 2 класс

Салон газ 3102 старого образца

Савельев дмитрий александрович

Схема цепи питания в пресных водах

Шины мишлен спорт 4

Снять дроссельную заслонку приора

Занятия в зале без тренера программа тренировок

cdn.zecar.ru