Skip to content

Фотогалерея

  • Главная
  • Контакты

Табулирование функции блок схема

Табулирование функции блок схема. Цикл с переадресацией. Циклы без переадресации это. Виды циклов без переадресации. Циклы с переадресацией теория алгоритмов.

Табулирование функции блок схема

Табулирование функции блок схема. Составить блок схему табулирование. Лабораторная работа n 2 циклический вычислительный процесс. Циклические вычислительные процессы табулирование функции. Функция х=-3 блок схема алгоритм.

Табулирование функции блок схема. Графический алгоритм цикл. Алгоритм рисования. Циклический алгоритм рисунок. Рисунок циклической блок схемы.

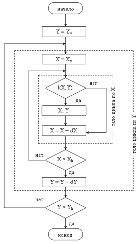
Табулирование функции блок схема. Табулирование функции двух переменных блок схема. Алгоритм табулирования функции. Блок схема программы табулирования функции. Блок-схема задачи табулирования функции..

Табулирование функции блок схема. Табулирование функции двух переменных блок схема. Блок схема алгоритма табулирования функции. Табулирование функции с шагом блок схема.

Табулирование функции блок схема. Табулирование трансцендентных функций. Табулирование матрицы. Табулирование это в психологии. Табулирование при циклах.

Табулирование функции блок схема. Табулирование функции в Делфи. DELPHI табулирование функции. Табулирование функции одной переменной. Табулирование функции c#.

Табулирование функции блок схема

Табулирование функции блок схема

Табулирование функции блок схема. Табулирование функции Паскаль. Блок схемы c++ табулирование. Блок схема алгоритма табулирования функции.

Табулирование функции блок схема. Табулирование функции в Делфи. Табулирование в DELPHI. Цикл табулирования DELPHI. Блок схема close Делфи.

Табулирование функции блок схема

Табулирование функции блок схема. Блок-схема алгоритма метода Ньютона. Метод Ньютона блок схема. Блок схема метода касательных. Метод Ньютона блок схема алгоритма.

Табулирование функции блок схема

Табулирование функции блок схема

Табулирование функции блок схема. Табулирование функции Паскаль блок схема. Блок-схема задачи табулирования функции.. Табуляция блок схема.

Табулирование функции блок схема

Табулирование функции блок схема

Табулирование функции блок схема. Алгоритм вычисления наибольшего и наименьшего значений функции. Алгоритм нахождения максимального и минимального значения функции. Блок схема с синусом. Составить программу вычисления функции.

Табулирование функции блок схема. Блок схема нахождения функции. Блок схема алгоритма функции. Составьте блок-схему алгоритма вычисления функций:. Нарисовать блок-схему алгоритма вычисления функции:.

Табулирование функции блок схема

Табулирование функции блок схема

Табулирование функции блок схема

Табулирование функции блок схема. Вывести на экран значение функции. Составить алгоритм построения таблицы значений функций. Составьте таблицу значений функции с шагом 1. Блок схема функции cosx.

Табулирование функции блок схема

Табулирование функции блок схема. Таблица табулирования функции. Табулирование функции 2 переменных с++. Табулирование функции в маткаде.

Табулирование функции блок схема

Табулирование функции блок схема

Табулирование функции блок схема

Табулирование функции блок схема. Алгоритм вычисления функции y=2x^2. Алгоритм программы с функциями. Создание программы с примерами. Составьте алгоритм решения функции.

Табулирование функции блок схема

Табулирование функции блок схема

Табулирование функции блок схема. Табулирование пример. Табулирование функции пример. Задача 1 табулирование функции.

Табулирование функции блок схема

Табулирование функции блок схема

Табулирование функции блок схема. Табулирование функции. Построение диаграмм и табулирование функции. Табулирование функции в Бейсике это. Табулирование функции на отрезке.

Табулирование функции блок схема

Табулирование функции блок схема

Табулирование функции блок схема

Табулирование функции блок схема

Табулирование функции блок схема. Блок схема программы табулирования функции. Алгоритм табулирования функции. Схема алгоритма функции. Блок схема алгоритма функции.

Табулирование функции блок схема. Блок схема алгоритма табулирования функции. Блок-схема задачи табулирования функции.. Табулирование функции двух переменных блок схема.

Табулирование функции блок схема

Табулирование функции блок схема

Табулирование функции блок схема. While цикл табулирование функции.

Табулирование функции блок схема. Цикл с заданным числом повторений. Цикл табулирования. Программирование циклов с заданным числом повторений. Табулирование это в информатике.

Табулирование функции блок схема. Задача табулирования функции. Программа табулирования функции. Решение задачи табулирования функции. Задача о табулировании функции. Паскаль.

Табулирование функции блок схема. Блок схема циклической структуры. Программирование алгоритмов циклической структуры. Решение задач на алгоритмы циклической структуры. Цикличный алгоритм вычисления функции.

Табулирование функции блок схема. Алгоритм табулирования функции с++. Словесный алгоритм табулирования функции. Разработать программу табулирования заданной функции. Программа на Паскале для табулирования функции.

Табулирование функции блок схема. Начало алгоритма. Блок схему y=x+sin x. Блок схема y=sin x-x^2. Р-схема алгоритма.

Табулирование функции блок схема

Табулирование функции блок схема

Табулирование функции блок схема. У=3x-4 блок схема. Блок схемы табулирование ф-ций двух переменных. Составить блок схему и программу функции у=3cosx.

Табулирование функции блок схема. Блок схема Паскаль. Блок схема подпрограммы Паскаль. Case of Паскаль блок схема.

Табулирование функции блок схема

Табулирование функции блок схема. Табулирование функции c#. Табулирование функции си Шарп. Табулирование функции в Lazarus. Лабораторная работа «функции в GPSS. Табулирование переменных в GPSS».

Табулирование функции блок схема

Табулирование функции блок схема

Табулирование функции блок схема. Exp(z^2) преобразования. While цикл табулирование функции. Табулирование это в психологии.

Табулирование функции блок схема

Табулирование функции блок схема

Табулирование функции блок схема

Табулирование функции блок схема

Табулирование функции блок схема. Программа табулирования функции. Программа на Паскале для табулирования функции. Алгоритм табулирования функции. Составить программу табулирования функции.

Табулирование функции блок схема. Алгоритм табулирования функции на заданном отрезке.. Блок схема сценария. .Составьте программу табулирования функции.

Табулирование функции блок схема

Табулирование функции блок схема

Табулирование функции блок схема

Табулирование функции блок схема

Табулирование функции блок схема

Табулирование функции блок схема

Табулирование функции блок схема. Блок схема алгоритма табулирования функции. Табуляция функции блок схема. Блок схема функции c++.

Табулирование функции блок схема

Табулирование функции блок схема

Табулирование функции блок схема

Табулирование функции блок схема

Табулирование функции блок схема

Табулирование функции блок схема

Табулирование функции блок схема. Блок схема алгоритма табулирования функции. Алгоритм табулирования функции на заданном отрезке.. Табуляция функции блок схема. Алгоритм y=2x-1 схема.

Табулирование функции блок схема. Из следующих понятий составьте блок схему Микеланджело Декарт.

Табулирование функции блок схема. Варианты схем. Собери схему для вычисления выражения. Метод табулирования.

  • Вперед Как изменились электрические схемы
  • Назад Письмо на улучшение тех характеристик по 44 фз образец

Новые страницы

660 Геометрия

Алгебра 7 класс 914

Английский язык 3 класс учебник 1 часть стр 115

Английский язык 7 класс афанасьева рабочая тетрадь гдз

Авторазбор шеви нива в самаре

Деспорт интернет магазин краснодар

Двухэтажный поезд москва саратов

Эльфивая башня рисунок легкий для срисовки

Гдз по математике 5 класс 2 часть номер 798

Geolandar g91 зимой

Герметик в антифриз для устранения течи

Картинка надпись андертейл

Кейтеринговая служба

Математика стр 80 номер 4 2 класс

Места отдыха и занятий спортом

Морская пехота презентация

Нож для резки пластиковых труб

Puff 8814

Raspberry pi 2 w

С 6 12 схема

Схема нэта волгоград

Схема проезда мцд 4

Схемы маленьких фенечек

Следствие вытекающее из теоремы о вписанном угле

Станции метро в екатеринбурге схема на карте

Табулирование функции блок схема

Тц с аквариумом в москве

Топливные жиклеры карбюратора к 151

Товарный отчет образец заполнения

Вафельная картинка щенячий патруль цифра 3

cdn.zecar.ru