Skip to content

Фотогалерея

  • Главная
  • Контакты

Спускник на трубопроводе

Что такое спускник на трубопроводе

Лучшие материалы - что такое спускник на трубопроводе

Спускник на трубопроводе водоснабжения

Лучшие материалы - что такое спускник на трубопроводе

Лучшие материалы - что такое спускник на трубопроводе

Что такое спускник на трубопроводе

Лучшие материалы - что такое спускник на трубопроводе

Спускники и воздушники на трубопроводах: Спускники и воздушники на ...

Кран шаровой со спускником Danfoss 065B8219 Ду 32 с внутренней резьбой ...

Подвижные и неподвижные опоры трубопроводов

Кран Itap ( Итап ) шаровой Арт. 115 со спускником, с ручкой \"рычаг\"

Последовательность установки запорной арматуры на питательном ...

Кран шаровой латунь со спускником BVR-D ВР никель полнопроходной рычаг ...

Спускник на трубопроводе водоснабжения

Особенности установки задвижек на трубопроводе | Компания «Газ и Сервис»

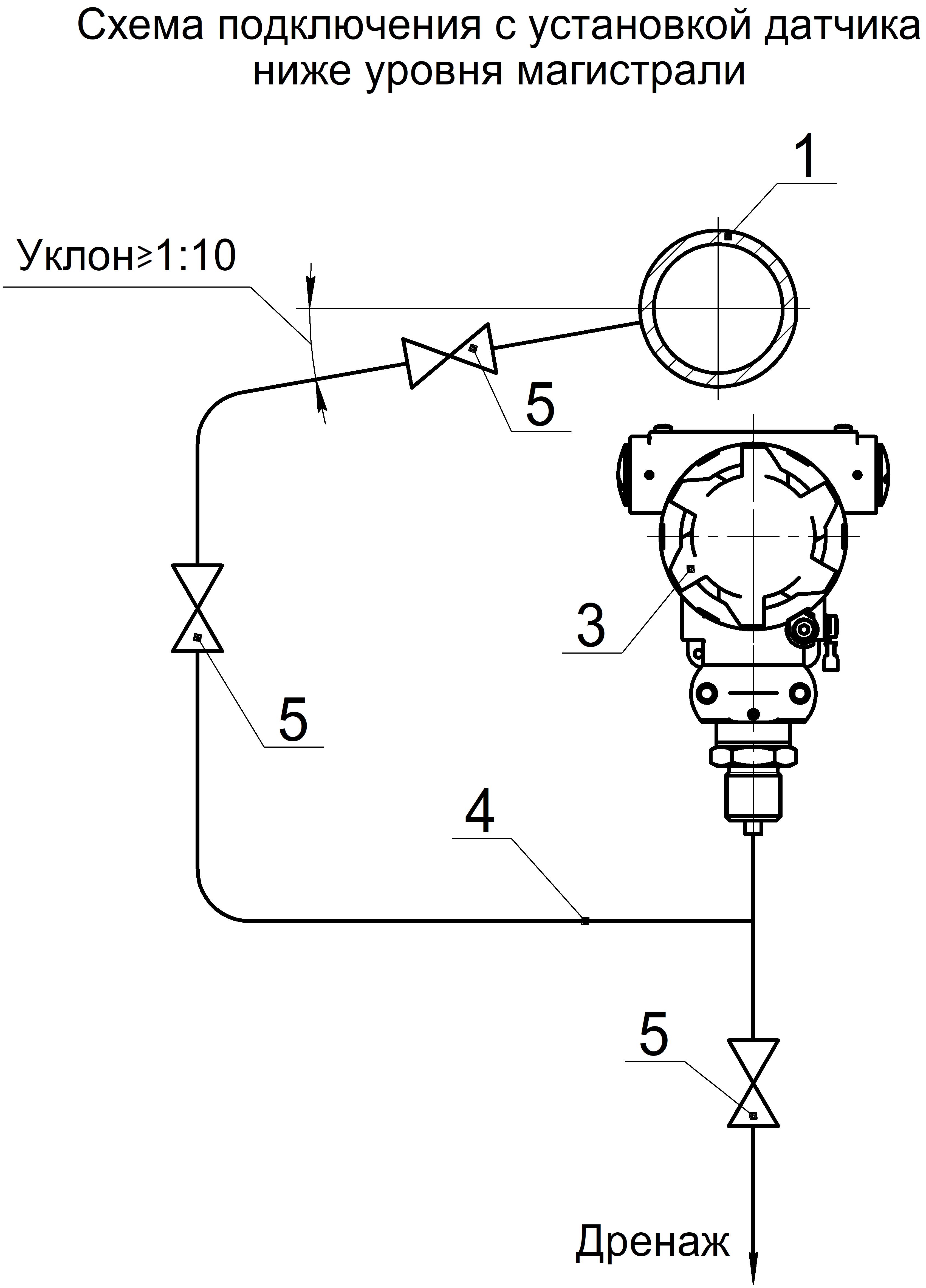
Монтаж датчика давления на трубопроводе | POWERpedia

ГВК.РФ | Как врезать фланцевый тройник в трубопровод - YouTube

Изготовление узлов трубопроводов Стоимость, поставка, комплектация

Спускник воздуха автоматический 1/2 угловой в Калининграде

Водопроводная задвижка – классификация, виды и устройства запорной ...

ПРОСТЫЕ И НАДЁЖНЫЕ ЗАТВОРНЫЕ ЭЛЕМЕНТЫ ДЛЯ ТРУБОПРОВОДНОЙ АРМАТУРЫ

Автоматический спускник воздуха системы отопления принцип работы

Правила по обозначению трубопроводов

?? Монтаж задвижек на трубопроводе: правила установки фланцевой задвижки ...

Автоматические спускники воздуха на отопление: Автоматический спускник ...

Гидравлическое испытание напорного трубопровода (Полиэтиленовые трубы ...

Предохранительный сбросной клапан принцип работы, сферы применения и ...

Автоматический воздухоотводчик для отопления: ручной для системы ...

Автоматический спускник воздуха на радиатор системы отопления

Лучшие материалы - что такое спускник на трубопроводе

Автоматические спускники воздуха на отопление: Автоматический спускник ...

Walraven Опоры для трубопровода на мягкой кровле

Спускник на трубопроводе водоснабжения

Автоматический воздухоотводчик для отопления принцип работы – ручной ...?

Как обнаружить течь в трубопроводе пожаротушения: методики

Арматура тепловых сетей | Tesrf.ru

Спускник 2 - YouTube

Клапан обратный поворотный фланцевый DN50 PN10/16 - купить обратный ...

Расширительный бак для отопления закрытого типа: принцип работы и ...

Арматура трубопроводная г. Воронеж

Схема насоса отопления – Схема подключения циркуляционного насоса в ...

Грувлок (цены и ассортимент)

ТМ Котельная 0,8 МВт - Чертежи.РУ

Семинар \"Ловля леща на спускник \" - YouTube

Акустический томограф Каскад-3 - купить | цена 1163008 рублей

Автоматические спускники воздуха на отопление: Автоматический спускник ...

Руководство по эксплуатации > ПД100 модели 3х1 датчики давления для ЖКХ ...

Производство | Каслинское механическое предприятие

Как спустить воздух с системы отопления

Лабораторно-практическая работа №3 \"Расчет потерь напора в трубопроводах\"

Снасть спускник на леща зимой (комбайн) - оснастка и процесс ловли

Руководство по эксплуатации > ПД100 модели 3х1 датчики давления для ЖКХ ...

Пожарная подставка фланцевая (ППФ) - Дон-Комплект

Условные обозначения водопровода и канализации на чертежах и колодцев с ...

Интеллектуальный Электромагнитный Расходомер

ДТС3ххх – датчики температуры для систем вентиляции, отопления и ...

Поворотные затворы | Аква-Гарант

Системы пожаротушения — gor

RIVACOLD BCUM004Z10A: built-in Конденсаторный агрегат открытого типа ...

Греющие кабели, электрообогрев, саморегулирующиеся нагревательные ...

Воздухоотводчики для систем отопления: принцип работы и устройство ...

Как обнаружить течь в трубопроводе пожаротушения: методики

Чем отличается доска садху от аппликатора ляпко - фото

Муфта противопожарная ПМ-25

Купить Пробозаборные (пробоотборное) устройства типа ПУ | ООО НПП АМ

ДТС3ххх – датчики температуры для систем вентиляции, отопления и ...

  • Вперед Нива 21213 заводится и глохнет
  • Назад Домашнее задание по русскому 2 класс 2 часть рабочая тетрадь

Новые страницы

1223 Математика 6

Биология 6 класс учебник трайтак ответы

Бисер 57710 чехия

Боди спорт

Что такое эволюция 6 класс

Csoft development

Е331

Гдз по математике третий класс ответы

Гдз по русскому 6 класс ладыженская учебник зеленый 2 часть

Художественная гимнастика россия спортсменки

Испортить windows xp

Как покрасить ваз 2110

Как промыть форсунки приора

Каким спортом можно заниматься после

Какой длины дворники на приоре

Карта пвз вайлдберриз красноярск

Карта россии с городами и областями крупным планом четким изображением крупным шрифтом по русскому

Катайский насосный завод официальный сайт

Конспект по австралии

Линейный двигатель схема

Опросный лист при приеме на работу образец

Раскраска виды спорта для детей

Распиновка проводов магнитолы пассат б5 плюс

Разболтовка на ауди

Схема электропроводки ваз 21043 карбюратор

Снятие радиатора печки ваз 2109

Спускник на трубопроводе

Убери эту картинку

Верните спортзал

Замена лобового стекла в домодедово

cdn.zecar.ru