Skip to content

Фотогалерея

  • Главная
  • Контакты

Создается вакуум в топливном баке

В цилиндрическую бочку с водой погружают тело массы m=1 кг неизвестной ...

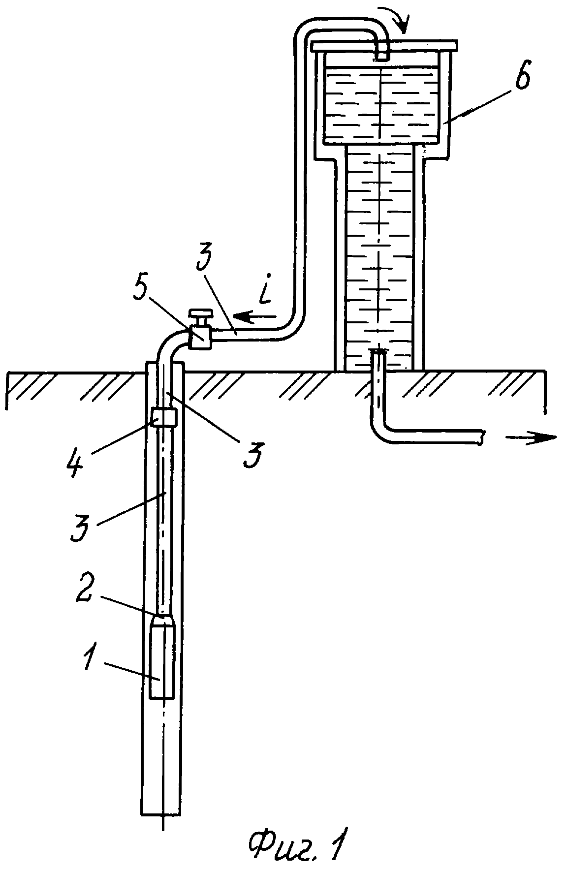
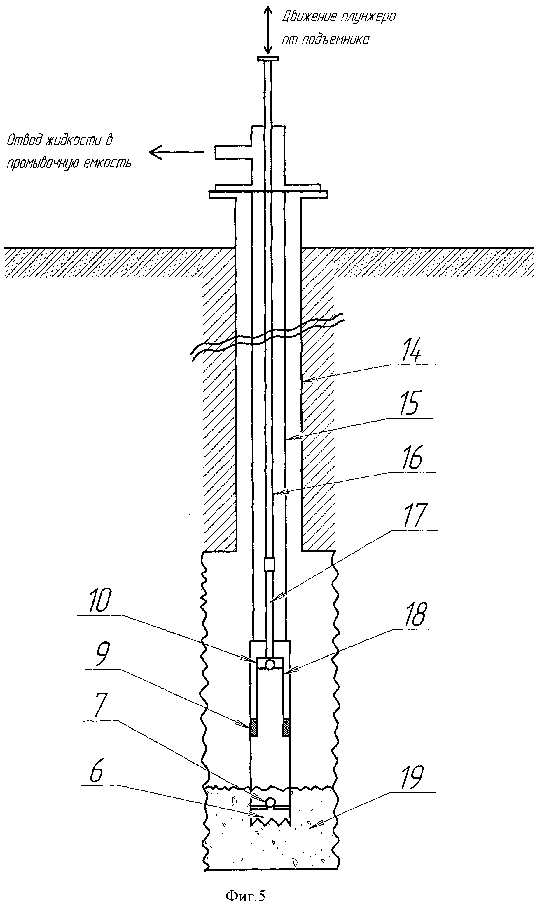
Почему создается вакуум в скважине - 90 фото

Почему создается вакуум в скважине - 90 фото

Почему создается вакуум в скважине - 90 фото

ИЖ Ода.Вакуум в топливном баке.Решение проблемы - YouTube

Почему создается вакуум в скважине - 90 фото

Замена топливного фильтра — Hyundai ix35, 2 л, 2012 года | своими ...

Вода в Топливном Баке: Опасность для Вашего Авто! - YouTube

Вакуум в баке. — Toyota Yaris (p1), 1 л, 2005 года | своими руками | DRIVE2

Почему создается вакуум в скважине - 90 фото

Свіжі авто з Швейцарії 🇨🇭😍VOLVO V60 2013р.в 2.0 Diesel D4 120 KW ...

Вода в топливном баке автомобиля: откуда берется и как с этим бороться ...

Почему создается вакуум в скважине - 90 фото

Почему создается вакуум в скважине - 90 фото

Вода в топливном баке? — БИГ Фильтр на DRIVE2

Почему создается вакуум в скважине - 90 фото

Повышенное давление в топливном баке. Причины появления и последствия ...

Если в топливном баке авто плещется не только бензин, но и конденсат ...

Вакуум в баке калина причины - 83 фото

Симптомы неисправного датчика давления в топливном баке

Вакуум в баке! Что делать? — KIA Sportage (2G), 2 л, 2010 года ...

Наличие воды в топливном баке грозит серьезными проблемами: как она там ...

Как быстро «выдыхается» бензин в топливном баке автомобиля | ТАРАНТАС НЬЮС

Грязь в топливном баке: ошибки водителей, приводящие к этому

Dry Fuel, Присадка к топливу для поглощения водного конденсата в ...

Toyota land cruiser 200 дизель бак

Вакуум в баке калина причины - 83 фото

Почему в топливном баке образуется вода и как этого не допустить ...

Вакуум в баке — Volkswagen Passat B7, 1,8 л., 2011 года | своими руками ...

Вода в топливном баке: откуда она там появляется и чем поможет спирт?

Вода в топливном баке. Как убрать? Спирт поможет?

Избыточное давление в топливном баке — Mazda 6 (1G) GG, 2,3 л, 2005 ...

Вакуум в баке. — Toyota Yaris (p1), 1 л, 2005 года | своими руками | DRIVE2

Почему на АЗС бывает трудно залить бензин в бак - постоянно срабатывает ...

На части Волво В60 /Volvo V60 2,0 дизел 14г. гр. Перник Калкас • OLX.bg

  • Вперед Спорткомплекс режим работы
  • Назад Министр спорта и туризма республики

Новые страницы

Английский язык 3 класс учебник страница 108 упражнение 2

Читать дикая собака краткое содержание

Домашние круговые тренировки

Фитнес йошкар ола

Гдз по алгебре 7 а класс макарычев

Кафе в николаевке

Каким видом спорта увлекаетесь

Карта осадков пермь онлайн сейчас в реальном времени бесплатно

Картинка гнома мем

Картинки лерчег из роблокса

Область применения схем

Отдых о кос

Отдых в ингушетии в горах цены

Ответ по математике 2 класс учебник 2 часть стр 81

Просить проспрягать

Разболтовка колес на рено флюенс

Регистрация товарного знака спб

Сальмонеллез лечение у взрослых

Схема индуктора для нагрева металла

Схема выходов

Симулятор ставок на спорт

Спортивный развлечения день здоровья

Свойства хлороводорода

Tiger резина отзывы

Тренировочный вариант гвэ по математике 9 класс

Учет спортивной тренировки

Удаление высолов

Установка тв тарелки

Валик для утепления двери

Впр история пятый класс образец

cdn.zecar.ru