Skip to content

Фотогалерея

  • Главная
  • Контакты

Симметричные схемы генераторов

Симметричные схемы генераторов. Бистабильный мультивибратор схема. Схема мультивибратора на транзисторах мп42. Генератор импульсов переменного тока схема. Мультивибратор схема сигнала.

Симметричные схемы генераторов. К561тм2 Генератор импульсов. Генератор на триггере к561тм2. Генератор на триггере тм2. Генератор на 561тм2 схема.

Симметричные схемы генераторов

Симметричные схемы генераторов. Мультивибратор 2n5551. Мультивибратор 2n2145. Мультивибратор схема электрическая принципиальная. Мультивибратор на транзисторах 5квт.

Симметричные схемы генераторов. Схема генератора импульсов на 561тм2. Генераторы прямоугольных импульсов на КМОП микросхемах. Схема генератора импульсов мультивибратора. Схема генератора импульсов на логических элементах.

Симметричные схемы генераторов. Схема симметричного транзисторного мультивибратора. Схема автоколебательного мультивибратора. Транзисторный мультивибратор схема. Симметричный автоколебательный мультивибратор.

Симметричные схемы генераторов

Симметричные схемы генераторов

Симметричные схемы генераторов

Симметричные схемы генераторов. Схема симметричного мультивибратора на биполярных транзисторах. Схема автоколебательного мультивибратора. Мультивибратор на транзисторах с регулируемой частотой на 12в. Мультивибратор на биполярных транзисторах схема.

Симметричные схемы генераторов. Схема автоколебательного мультивибратора. Симметричный автоколебательный мультивибратор схема. Схема мультивибратора на 12 вольт на микросхеме. Мультивибратор, работающий в автоколебательном режиме.

Симметричные схемы генераторов. Мультивибратор в автоколебательном режиме. Форма сигнала симметричного мультивибратора. Форма выходного напряжения в схеме мультивибратора. Генератор импульсов на резисторах.

Симметричные схемы генераторов. Схема симметричного транзисторного мультивибратора. Мультивибратор с регулировкой частоты схема. Несимметричный мультивибратор схема. Схема мультивибратора с регулировкой частоты на транзисторах 12в.

Симметричные схемы генераторов. Схема мультивибратора на транзисторах мп42. Принципиальная схема симметричного мультивибратора. Схема мультивибратора на транзисторах кт315. Мультивибратор схема электрическая принципиальная.

Симметричные схемы генераторов

Симметричные схемы генераторов

Симметричные схемы генераторов. Схема симметричного транзисторного мультивибратора. Симметричный мультивибратор на транзисторах схема. Транзисторный мультивибратор схема. Мультивибратор на кт315 схема.

Симметричные схемы генераторов. Несимметричный мультивибратор схема. Схема мультивибратора с коллекторно-базовыми связями. Синхронный мультивибратор схема. Схема автоколебательного мультивибратора.

Симметричные схемы генераторов

Симметричные схемы генераторов. Симметричного автоколебательного транзисторного мультивибратора. Схема автоколебательного мультивибратора. Симметричный мультивибратор на биполярных транзисторах. Мультивибратор на PNP транзисторах схема.

Симметричные схемы генераторов

Симметричные схемы генераторов. Передатчик по схеме мультивибратора. Схема симметричного мультивибратора диаграмма. Мультивибратор в режиме синхронизации. Схема 6.

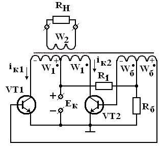
Симметричные схемы генераторов. Автогенераторный преобразователь схема. Двухтактный преобразователь с самовозбуждением. Двухтактный преобразователь с самовозбуждением схема. Схема двухтактного преобразователя напряжения на транзисторах.

Симметричные схемы генераторов. Схема мультивибратора в автоколебательном режиме. Схема симметричного транзисторного мультивибратора. Принципиальная схема симметричного мультивибратора. Принципиальная схема автоколебательного мультивибратора.

Симметричные схемы генераторов. Схема звукового мультивибратора на транзисторах. Схемы мультивибраторов на транзисторах 12 вольт. Схема мультивибратора с регулировкой частоты на транзисторах. Схема мультивибратора на 12 вольт на микросхеме.

Симметричные схемы генераторов

Симметричные схемы генераторов. Схема симметричного транзисторного мультивибратора. Транзисторные Автоколебательные мультивибраторы. Схема транзисторного автогенератора типа RC. Мультивибратор на 1 КГЦ.

Симметричные схемы генераторов. Схема симметричного транзисторного мультивибратора. Транзисторный мультивибратор схема. Симметричный мультивибратор на транзисторах. Мультивибратор на транзисторах 5квт.

Симметричные схемы генераторов. Схема самовозбуждающегося мультивибратора. Транзисторный мультивибратор схема. Схема симметричного мультивибратора. Схема симметричного транзисторного мультивибратора.

Симметричные схемы генераторов. Схема мультивибратора на логических элементах. Несимметричный мультивибратор на логических элементах. Мультивибратор прямоугольных импульсов. Схема мультивибратор на логических элементах с регулировкой частоты.

Симметричные схемы генераторов. Транзисторный мультивибратор схема. Несимметричный мультивибратор схема.

Симметричные схемы генераторов

Симметричные схемы генераторов. Схема симметричного мультивибратора. Схема генератора импульсов мультивибратора. Схема симметричного транзисторного мультивибратора. Как работает мультивибратор на транзисторах.

Симметричные схемы генераторов

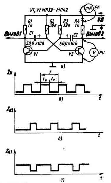
Симметричные схемы генераторов. Схема симметричного транзисторного мультивибратора. Мультивибратор на транзисторах 1гц. Скважность мультивибратора формула. Мультивибратор расчет частоты.

Симметричные схемы генераторов. Мультивибратор на PNP транзисторах схема. Монтажная схема мультивибратора. Схема мультивибратора на 12 вольт на микросхеме. Симметричный мультивибратор схема плата.

Симметричные схемы генераторов. К155 Генератор импульсов. Импульсные генераторы мультивибратор. Простая схема генератора импульсов 1гц. 1. Импульсные генераторы мультивибраторы схема.

Симметричные схемы генераторов. Транзисторный мультивибратор схема. Схема симметричного транзисторного мультивибратора. Симметричный автоколебательный мультивибратор. Мультивибратор на биполярных транзисторах.

Симметричные схемы генераторов

Симметричные схемы генераторов

Симметричные схемы генераторов. Ждущий мультивибратор на транзисторах схема. Принципиальная схема симметричного мультивибратора. Схема самовозбуждающегося мультивибратора. Моностабильный мультивибратор схема.

Симметричные схемы генераторов. Бистабильный мультивибратор триггер. Мультивибратор 2n5551. Схема симметричного транзисторного мультивибратора. Симметричный мультивибратор на транзисторах.

Симметричные схемы генераторов. Мультивибратор на транзисторах 5квт. Мультивибратор на транзисторах с трансформаторным выходом. Схема Генератор трехфазного сигнала мультивибратор. Мультивибратор на НПН транзисторах.

Симметричные схемы генераторов. Принцип работы мультивибратора на транзисторах. Симметричный мультивибратор на транзисторах схема принцип работы. Схема автоколебательного мультивибратора. Мультивибратор на транзисторах 1гц.

Симметричные схемы генераторов. Триггер на транзисторах кт315. Мультивибратор на транзисторах кт315г. Триггер схема кт315. Схемы мультивибратора и триггера на транзисторах.

Симметричные схемы генераторов

Симметричные схемы генераторов. Мультивибратор на транзисторах 1гц. Транзисторный мультивибратор схема. Мультивибратор на транзисторах с регулируемой частотой на 12в. Моностабильный мультивибратор.

Симметричные схемы генераторов. Схема мультивибратора на логических элементах. Схема мультивибратора на логических элементах и-не. Схема генератора импульсов на логических элементах. Схема включения мультивибратора на логических элементах.

Симметричные схемы генераторов. Симметричный мультивибратор на транзисторах. Мультивибратор на транзисторах 5квт. Симметричный мультивибратор на двух транзисторах. Мультивибратор на биполярных транзисторах схема.

Симметричные схемы генераторов. Схема автоколебательного мультивибратора. Мультивибратор на ОУ схема. Автоколебательный мультивибратор на ОУ. Операционные усилители схема Батлера.

Симметричные схемы генераторов. Схема симметричного мультивибратора. Мультивибратор на полевых транзисторах схема симметричный. Мультивибратор на транзисторах 12в. Схема симметричного транзисторного мультивибратора.

Симметричные схемы генераторов. Транзисторный мультивибратор схема. Схема симметричного мультивибратора. Несимметричный мультивибратор схема. Схема самовозбуждающегося мультивибратора.

Симметричные схемы генераторов. Принципиальная схема автоколебательного мультивибратора. Схема симметричного транзисторного мультивибратора. Схема трехфазного мультивибратора 12 вольт. Транзисторный мультивибратор схема.

Симметричные схемы генераторов

Симметричные схемы генераторов. Мультивибратор на 1 КГЦ. Генератор на мультивибраторе. Симметричный мультивибратор на микросхеме.

Симметричные схемы генераторов. Мультивибратор на Радиолампах схема. Ламповый мультивибратор схема. Схема симметричного мультивибратора на триодах. Схема мультивибратор двойном триоде.

Симметричные схемы генераторов

Симметричные схемы генераторов. Схема простейшего генератора прямоугольных импульсов. Генератор прямоугольных импульсов схема. Генератор импульсов схема простая. Генератор прямоугольных импульсов на транзисторах.

Симметричные схемы генераторов. Схемы кварцевых генераторов на логических элементах. Мультивибратор на логических элементах в автоколебательном режиме. Мультивибратор на ТТЛ логике. Мультивибратор КМОП схема.

Симметричные схемы генераторов

Симметричные схемы генераторов. Схема симметричного триггера на транзисторах. Триггер защелка на транзисторах. Низковольтный триггер на транзисторах. Симметричный Генератор на 2х транзисторах.

Симметричные схемы генераторов

Симметричные схемы генераторов. Мультивибратор на транзисторах с регулируемой частотой на 12в. Схема мультивибратора на 220в. Мультивибратор на транзисторах 12в. Симметричный мультивибратор с питанием 3 вольта на транзисторах.

Симметричные схемы генераторов. LC автогенераторы на транзисторах. Двухтактный LC Генератор на транзисторах. Высокочастотный двухтактный LC Генератор на биполярных транзисторах. LC автогенератор на биполярном транзисторе.

Симметричные схемы генераторов. Схема трехфазного мультивибратора с регулировкой частоты. Мультивибратор схема с номиналами. Трехфазный Генератор-мультивибратор. Мультивибратор на 50 КГЦ схема.

Симметричные схемы генераторов. Генератор импульсов на микросхеме к561лн2. Генератор прямоугольных импульсов схема принципиальная. Генератор прямоугольных импульсов на к561ла7 схема. Схема генератора импульсов на к561ла7.

Симметричные схемы генераторов

Симметричные схемы генераторов

Симметричные схемы генераторов. Мультивибратор для шокера схема. Мультивибратор для импульсного трансформатора схема. Высоковольтный мультивибратор схема. Высоковольтный преобразователь на кт805.

Симметричные схемы генераторов

Симметричные схемы генераторов. Принципиальная схема симметричного мультивибратора. Мультивибратор схема электрическая принципиальная. Схема простого мультивибратора. Схема генератора импульсов мультивибратора.

Симметричные схемы генераторов. Схема симметричного транзисторного мультивибратора. Симметричный мультивибратор на транзисторах с регулируемой частотой. Монтажная схема мультивибратора. Транзисторный мультивибратор схема.

Симметричные схемы генераторов

Симметричные схемы генераторов. Высоковольтный мультивибратор схема. Симметричный мультивибратор осциллограммы. АЧХ мультивибратора. Мультивибратор выходной сигнал.

Симметричные схемы генераторов. Схема симметричного транзисторного мультивибратора. Мультивибратор на транзисторах 1гц. Мультивибратор на транзисторах 5квт. Расчёт частоты мультивибратора на транзисторах.

Симметричные схемы генераторов. Схема симметричного триггера. Счетный триггер на транзисторах схема. Схема симметричного триггера на транзисторах. Схема принцип работы транзисторного триггера.

Симметричные схемы генераторов. Трансформаторный мультивибратор на 2 транзисторах схема. Несимметричный мультивибратор на биполярных транзисторах. Схема мультивибратора с коллекторно-базовыми связями. Мультивибратор на разнополярных транзисторах.

Симметричные схемы генераторов

Симметричные схемы генераторов. Мультивибратор на кт315 схема. Симметричный мультивибратор на транзисторах кт315. Схема мультивибратора на транзисторах кт315. Мультивибратор на транзисторах с регулируемой частотой схема.

Симметричные схемы генераторов. Дифференциальный Каскад с генератором стабильного тока. Нагрузочные сопротивления для генератора. Генераторы стабильного тока для ум схема. Все схемы стабильной системы.

Симметричные схемы генераторов. Схема симметричного транзисторного мультивибратора. Транзисторный мультивибратор схема. Мультивибратор на транзисторах с регулируемой частотой схема. Симметричный мультивибратор на транзисторах схема.

Симметричные схемы генераторов

Симметричные схемы генераторов. Мультивибратор на операционном усилителе схема. Мультивибратор на ОУ схема. Схема симметричного мультивибратора на ОУ. Несимметричный мультивибратор на ОУ.

Симметричные схемы генераторов. Схема симметричного транзисторного мультивибратора. Мультивибратор на транзисторах с регулируемой частотой на 12в.

  • Вперед Детский рисунок про спорт
  • Назад Обитель лжи сериал

Новые страницы

27 0 3

День рождения детей звезд

Гост 28821 90

Химчистка диванов в выхино жулебино

Химия запишите уравнения реакций схемы которых so2

Инвестиционные счета для физических лиц

Как поменять тормозной бачок

Карта погоды новокубанск

Картинки с днем рождения балдыз

Картинки в память об ушедших из жизни близких

Каса или коса

Лечение растяжение связок

Медный купорос формула

Монтаж противопожарного оборудования

Образец досудебной претензии виновнику дтп о возмещении ущерба

Образец заявления на сопровождение ребенка

Острая тонкая подобрать существительное

Перхоть себорея лечение

Предохранители субару легаси 1997

Расписка о возврате денег образец

Рассмотрение дел о взыскании алиментов

Рецепт куриных супов простых и вкусных

Ремонт телефонов котельники

Сепаратор антенный схема

Шары на 13 лет мальчику день рождения

Симметричные схемы генераторов

Ва банк казино зеркало

Высокие спортивные парни

Внутричерепное давление у ребенка лечение

Ярославна с днем рождения картинки с пожеланиями

cdn.zecar.ru