Skip to content

Фотогалерея

  • Главная
  • Контакты

Схемы усилителей магнитофона

Схемы усилителей магнитофона

Схемы усилителей магнитофона

Схемы усилителей магнитофона. Усилитель магнитофона Комета 225 стерео схема. Комета 225 стерео схема блока питания. Комета 225 стерео схема принципиальная электрическая. Комета 225 схема усилителя.

Схемы усилителей магнитофона. Усилитель воспроизведения кассетного магнитофона на транзисторах. Усилитель воспроизведения катушечного магнитофона схема. Усилитель воспроизведения на транзисторах схема. Усилитель для магнитной головки кассетного магнитофона.

Схемы усилителей магнитофона

Схемы усилителей магнитофона. Юпитер 202 схема. Юпитер 202 плата усилителя. Юпитер 202 стерео схема. Схема УНЧ Виктория 001.

Схемы усилителей магнитофона. Магнитофон эльфа 201-3 стерео схема принципиальная электрическая. Усилитель эльфа 201-3. Электрическая схема магнитофона эльфа 201-3 стерео. Схема магнитофона эльфа 201-3.

Схемы усилителей магнитофона. Магнитофон Дайна эльфа 29 схема. Схема магнитофона транзисторного Дайна эльфа 29. Магнитофон Дайна э-29 схема. Схема электрическая принципиальная магнитофона иней 303.

Схемы усилителей магнитофона

Схемы усилителей магнитофона. Схема усилителя воспроизведения на к157ул1а. Усилитель воспроизведения кассетного магнитофона схема.

Схемы усилителей магнитофона. Усилитель воспроизведения кассетного магнитофона на транзисторах. Усилитель записи кассетного магнитофона схема. Усилитель записи кассетного магнитофона схема усилителя. Усилитель воспроизведения на транзисторах схема магнитофона.

Схемы усилителей магнитофона. Усилитель воспроизведения кассетного магнитофона схема. Усилитель корректор на к157ул1.

Схемы усилителей магнитофона. Stk4152ii схема включения. Uher CV 140 схема. Stk0029 схема.

Схемы усилителей магнитофона. Электрофон Лидер 303 схема. Электроника 001 стерео усилитель схема. Электрофон Рондо 204 стерео схема. Электрофон Рондо 201 схема принципиальная.

Схемы усилителей магнитофона. Олимп 005с схема ув. Электрическая схема магнитофона Олимп 005с. Олимп 003 магнитофон катушечный схема принципиальная. Катушечный магнитофон Олимп 005 схема.

Схемы усилителей магнитофона

Схемы усилителей магнитофона. Усилитель воспроизведения катушечного магнитофона схема. Ув кассетного магнитофона схема. Усилитель воспроизведения для Олимп 005с схема. Усилитель воспроизведения Сухова для кассетного магнитофона.

Схемы усилителей магнитофона. Схема усилителя из магнитолы. Оконечный двухканальный УНЧ (2x60 Вт) схема. Схема подключения 2 усилителей от магнитофон. Схема подключения УНЧ 2*50.

Схемы усилителей магнитофона. Схема лампового магнитофона Айдас 9м. Магнитофон Дайна ламповый схема. Астра 206 магнитофон схема. Магнитофон Астра схема электрическая принципиальная.

Схемы усилителей магнитофона

Схемы усилителей магнитофона. Усилитель воспроизведения кассетного магнитофона схема. Усилитель записи кассетного магнитофона. Усилитель записи для катушечного магнитофона. Усилитель воспроизведения катушечного магнитофона схема.

Схемы усилителей магнитофона

Схемы усилителей магнитофона. Олимп 004 усилитель воспроизведения схема. Схема ув магнитофона электроника 004. Усилитель Олимп 001 стерео схема. Электроника 004 магнитофон-приставка схема.

Схемы усилителей магнитофона. Усилитель воспроизведения Akai 747 схема. Схема усилителя воспроизведения кассетного магнитофона Морион 101. Усилитель воспроизведения катушечного магнитофона схема. Малошумящий усилитель воспроизведения кассетного магнитофона схема.

Схемы усилителей магнитофона. Схема УНЧ Юпитер Квадро. Усилитель Юпитер Квадро схема. Юпитер 202 схема усилителя. Схема усилителя Юпитер Квадро стерео.

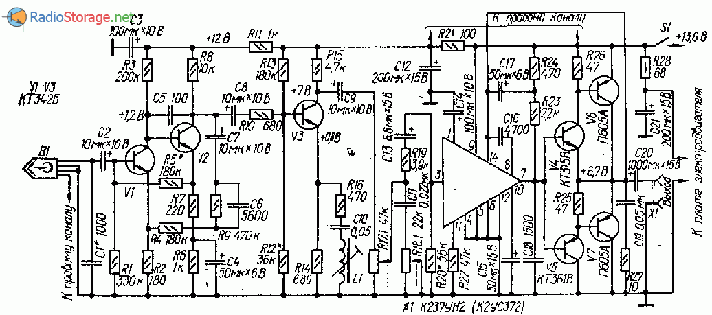
Схемы усилителей магнитофона. К237ун2 усилитель схема. К2ус248 схема включения. УНЧ на к237ун2. Микросхема к237ун1 схема включения.

Схемы усилителей магнитофона

Схемы усилителей магнитофона. Ламповый магнитофон Комета мг-201м схема.

Схемы усилителей магнитофона. Усилитель воспроизведения кассетного магнитофона схема. Усилитель для магнитной головки кассетного магнитофона. Схема усилителя записи для катушечного магнитофона. Усилитель воспроизведения кассетного магнитофона Яуза 220.

Схемы усилителей магнитофона. Усилитель воспроизведения электроника 003. Олимп 004 усилитель воспроизведения схема. Усилитель воспроизведения электроника 004 схема. Магнитофон Олимп 004 усилитель воспроизведения.

Схемы усилителей магнитофона. Усилитель воспроизведения на к157уд2. Усилитель воспроизведения кассетного магнитофона на транзисторах. Усилитель воспроизведения кассетного магнитофона на к157уд2. Усилитель воспроизведения кассетного магнитофона схема.

Схемы усилителей магнитофона

Схемы усилителей магнитофона. Усилитель воспроизведения кассетного магнитофона на транзисторах. Схема кассетного плеера транзисторного. Схема РЧВ-1-02 для кассетного магнитофона. Схема кассеты кассетного плеера.

Схемы усилителей магнитофона. Фонокорректор для винила схема к548ун1а. Усилитель воспроизведения кассетного магнитофона на к548ун1а. Усилитель корректор 548ун1. Усилитель корректор для винила на микросхеме к548ун1а.

Схемы усилителей магнитофона. Элегия 301 магнитофон схема. Магнитофон ИЖ 302 схема. Магнитофон Элегия 302с-1 схема принципиальная. Маяк 202 магнитофон схема.

Схемы усилителей магнитофона. Усилитель Ода 102 стерео схема. Ода 102 стерео схема предварительного усилителя. Ода 102 усилитель мощности схема. Схема усилителя мощности Ода ум 102 стерео.

Схемы усилителей магнитофона. Усилитель НЧ С гт402. Усилитель НЧ на гт403. Усилитель на германиевых транзисторах гт901. Схема усилителя УНЧ на транзисторах гт404 гт402.

Схемы усилителей магнитофона

Схемы усилителей магнитофона

Схемы усилителей магнитофона. Даташит микросхемы к157уд2. Схема усилителя на микросхеме к157уд2. Усилитель воспроизведения кассетного магнитофона на к157уд2. Генератор на к157уд2 схема.

Схемы усилителей магнитофона. Ламповый усилитель воспроизведения для кассетного магнитофона. Схема лампового катушечного магнитофона. Усилитель воспроизведения для катушечного магнитофона ing250. Ламповый усилитель воспроизведения для катушечного магнитофона.

Схемы усилителей магнитофона. Астра МК-110с-1 схема.

Схемы усилителей магнитофона

Схемы усилителей магнитофона. Схема усилителя воспроизведения на к157ул1а. К157ул1а схема включения для кассетного магнитофона. Усилитель воспроизведения для кассетного проигрывателя. Усилитель для магнитной головки кассетного магнитофона.

Схемы усилителей магнитофона. Союз 110 усилитель воспроизведения схема. Илеть 110 схема усилителя мощности. Илеть 110 схема электрическая принципиальная схема усилитель мощности. Магнитофон Союз 110 усилитель воспроизведения ,схема.

Схемы усилителей магнитофона. Океан 209 схема УНЧ. Океан 209 схема УНЧ усилитель. Схема электрическая Орфей 101 стерео. Радиотехника 103 стерео схема.

Схемы усилителей магнитофона

Схемы усилителей магнитофона. Схема усилителя магнитофона Маяк 233. Кассетный магнитофон Маяк 233 стерео схема. Схема усилителя мощности магнитофона. Маяк-233 стерео схема усилителя мощности.

Схемы усилителей магнитофона

Схемы усилителей магнитофона. Ламповый усилитель воспроизведения для катушечного магнитофона. Усилитель воспроизведения кассетного магнитофона на транзисторах. Схема лампового катушечного магнитофона.

Схемы усилителей магнитофона. Усилитель воспроизведения на ad745 Агеева. Радиоконструктор старт 7175 схема усилитель воспроизведения. Усилитель воспроизведения STM 210. Усилитель воспроизведения СТМ 610 схема.

Схемы усилителей магнитофона. Усилитель кассетного плеера схема. Схемы советских кассетных магнитофонов. Самодельный кассетный магнитофон схема. Схема магнитной головки кассетного магнитофона.

Схемы усилителей магнитофона

Схемы усилителей магнитофона

Схемы усилителей магнитофона. Схема лампового усилителя симфония. Романтика 106 схема УНЧ.

Схемы усилителей магнитофона. Микросхема к157уд2 схема включения. Усилитель воспроизведения на к157уд2. Усилитель-НЧ-на-микросхеме-к157уд2. Усилитель на 157уд1 с однополярным питанием.

Схемы усилителей магнитофона. Магнитофон Союз 110 стерео схема усилителя. Союз 110 усилитель воспроизведения схема.

Схемы усилителей магнитофона

Схемы усилителей магнитофона. Магнитная головка для кассетного магнитофона схема. Предусилитель для магнитной головки магнитофона. Усилитель воспроизведения на транзисторах схема. Предварительный усилитель для магнитной головки.

Схемы усилителей магнитофона. Магнитофон Соната 213 с схема. Громкоговоритель Советский усилитель трансформаторный п213. Магнитофон Снежеть 110 схема. Схема магнитофона Снежеть 203.

Схемы усилителей магнитофона. Усилитель на транзисторах п214. Схема усилителя магнитофона. Усилитель НЧ на транзисторах п214. Схема транзисторного входного усилителя магнитофона.

Схемы усилителей магнитофона. Усилитель воспроизведения кассетного магнитофона на транзисторах. Усилитель записи кассетного магнитофона схема. Схемы усилителей для кассетных магнитофонов. Простой ламповый магнитофон схема.

Схемы усилителей магнитофона. Магнитофон тембр 2м схема электрическая. 6е5с схема в ламповом усилителе. Схема лампового магнитофона Комета 201. Схема лампового магнитофона Комета.

Схемы усилителей магнитофона

Схемы усилителей магнитофона. Магнитофон Илеть 101 схема. Усилитель воспроизведения Илеть 102. Схема магнитофона Ростов 102 стерео. Усилитель магнитофона Илеть 102.

Схемы усилителей магнитофона. К157ул1а. Схема усилителя воспроизведения на к157ул1а. Усилитель воспроизведения катушечного магнитофона схема.

Схемы усилителей магнитофона. Элегия 102 схема блок регулировки тембра. Радиола мелодия 105 стерео схема. Магнитофон Элегия 302с-1 схема принципиальная. Radiotehnika Melodija 106 stereo схема.

Схемы усилителей магнитофона

Схемы усилителей магнитофона. Магнитофон Сатурн 201 схема. Магнитофон Комета м-225с-2 схема. Схема усилителя Комета 212 м. Магнитофон Комета 201м схема.

Схемы усилителей магнитофона. Схема усилителя Сатурн 202 стерео. Магнитофон "ИЖ 303 стерео" схема. Принципиальная схема магнитофона Юпитер 203 стерео. Юпитер 203-1 схема электрическая принципиальная.

Схемы усилителей магнитофона

Схемы усилителей магнитофона

Схемы усилителей магнитофона. Усилитель воспроизведения кассетного магнитофона на к548ун1а. Схема усилителя воспроизведения на к157ул1а. Микросхема к157ул1а даташит.

Схемы усилителей магнитофона

Схемы усилителей магнитофона. Магнитофон эльфа 201-3 стерео схема принципиальная электрическая. Магнитофон эльфа 201 стерео схема. Магнитофон эльфа 201-2 стерео схема. Эльфа 201-3 стерео схема.

Схемы усилителей магнитофона. Схема электрофона электроника д1 012 стерео. Электрофон электроника д1-012 схема. Тембр-2 магнитофон схема. Электрофон Вега 104 схема.

Схемы усилителей магнитофона. Усилитель воспроизведения магнитофона Сухова схема. Усилитель воспроизведения кассетного магнитофона схема. Усилитель воспроизведения для катушечного магнитофона Сухов. Магнитофона Олимп усилитель воспроизведения.

Схемы усилителей магнитофона. Усилитель воспроизведения Олимп-005с-1 схема. Олимп 004 усилитель воспроизведения схема. Магнитофон Олимп 004 усилитель воспроизведения. Усилитель воспроизведения для катушечного магнитофона Олимп 005.

  • Вперед Ремонт зимних садов
  • Назад Технологическая карта обработки детали образец

Новые страницы

Английский язык 7 класс spotlight стр 48

Биология 11 класс учебник пономарева гдз

Большая эрозия шейки матки

Chalk исчисляемое или неисчисляемое

Диагонали прямоугольника точкой пересечения делятся пополам рисунок

Фирма терем москва

Гдз по биологии теремов 10 класс

Изготовление сборных железобетонных гаражей

Как смазать тросик сцепления ваз 2110

Карта осадков ртищево саратовской области на сегодня

Картинки со смыслом про жизнь красивые без надписей

Королевы крика сериал смотреть онлайн

Купить скипидар в спб

Лабораторная работа изучение спектров испускания

Недостатки вариатора ниссан кашкай

Приказ об утверждении формы трудового договора образец

Рабочая тетрадь по русскому языку 3 класс стр 71

Решебник к рабочей тетради по английскому языку 4 класс афанасьева

Русский язык 1 класс стр 43 гдз

Схема предохранителей ауди 80

Сперанский конституционный проект

Ssl сертификат что это и зачем

Столица саудовская аравия

Таврический дворец

Типы рецепторов

У кукушкина льна отсутствуют

Виды музыкальных инструментов с картинками и названиями для детей

Впроголодь с размаху

Замена проводки в квартире без штробления

Жиросжиг тренировка

cdn.zecar.ru