Skip to content

Фотогалерея

  • Главная
  • Контакты

Схема устройства передачи

Схема устройства передачи. Устройство пакетов данных. Пакетная передача данных. Передача пакетов по впн. Тракт изображения классификатор.

Схема устройства передачи. Устройство передачи данных. Инициатор схема. Способы передачи товара. Системы передачи Кастильская.

Схема устройства передачи. Схема включения монтаж видеокамер видеонаблюдения. Видеонаблюдение по оптоволокну схема подключения. Схема устройств подключения видеокамеры видеонаблюдения. Схема подключения кабеля IP видеонаблюдения.

Схема устройства передачи. Радиорелейная система передачи данных sdr9500lh. Схема цифровой радиорелейной линии. Обобщенная структура радиорелейных систем передачи. Система передачи к-1920п.

Схема устройства передачи. Коробка КПП ЗИЛ 130 схема переключения передач. КПП ЗИЛ 130 схема переключения. Схема переключения коробки передач ЗИЛ 130. Устройство механической коробки передач схема.

Схема устройства передачи. Структурные схемы систем передачи аналоговых сообщений.. Структурная схема обработки дискретных сигналов. Структурная схема цифровой передачи информации. Структурная схема передатчика сигнала.

Схема устройства передачи. Кинематическая схема планетарного редуктора одноступенчатого. Двухступенчатый планетарный редуктор схема. Схемы планетарных редукторов ТММ. Водило планетарной передачи схема.

Схема устройства передачи. Устройство коробки передач схема. Устройство механической коробки передач схема. Принципиальная схема механической коробки передач. Механическая коробка передач автомобиля схема.

Схема устройства передачи. Ключ устройство для передачи данных.

Схема устройства передачи. Общая схема съема передачи и регистрации. Структурная схема передачи. Устройства съема медико-биологической информации. Схема съема передачи и регистрации медико-биологической информации.

Схема устройства передачи. Схема передачи телевизионного сигнала. Схема передачи сигнала спутниковой связи. Способы передачи информации. Современная передача информации.

Схема устройства передачи. Устройства приема и передачи. Устройство передачи данных. Устройства передачи и приема информации. Устройства передачи (модем).

Схема устройства передачи. Структурная схема двухканального усилителя. Функциональная схема усилителя низкой частоты. ФНЧ на функциональной схеме. Автоматическое регулирование усиления на плис.

Схема устройства передачи. Устройства приема данных. АСМ стоков способы передачи данных.

Схема устройства передачи. Устройства приема и передачи. Устройства передачи и приема информации. Схема передачи данных. Устройства приема данных.

Схема устройства передачи. Устройство механической коробки передач схема. Схема двухвальной механической коробки передач. Схема трехвальной коробки передач. Принципиальная схема механической коробки передач.

Схема устройства передачи. Устройства приема и передачи. Устройство передачи приема примеры. DGL способ приема.

Схема устройства передачи. КПП ТДТ 55 схема коробки передач. Коробка передач ТДТ 55 схема. КПП ТДТ 55 схема сборки. Схема коробки ТДТ 55.

Схема устройства передачи. Устройства приема и передачи. Устройство передачи/приема что входит.

Схема устройства передачи. Устройства приема и передачи. Устройства передачи и приема информации. Устройство передачи данных. Укажите устройства передачи и приема информации.

Схема устройства передачи. Схема РРЛ связи. Схема линии связи. Проводные линии связи. Скелетная схема ВОЛС.

Схема устройства передачи

Схема устройства передачи. Аппаратура линий связи схема. Передача сигнала по линии связи схема. Аппаратура передачи данных и ее основные характеристики. Аппаратура передачи данных состав.

Схема устройства передачи. Устройства приема и передачи. Устройства передачи и приема информации. Устройство передачи/приема что входит. Устройства передачи и регистрации биотелеметрия.

Схема устройства передачи. Трансформаторная гальваническая развязка аналогового сигнала схема. Трансформатор гальванической развязки. Трансформаторная гальваническая развязка схема. Гальваническая развязка аналоговых сигналов трансформатор.

Схема устройства передачи. Трехвальная КПП кинематическая схема. Кинематическая схема механической коробки передач. Кинематическая схема трехступенчатой коробки передач. Кинематическая схема коробки передач ГАЗ 53.

Схема устройства передачи. Схема трансмиссии Газель 4х4. Схема трансмиссии полноприводной газели. Кинематическая схема трансмиссии переднеприводного автомобиля. Кинематическая схема трансмиссии автомобиль ГАЗ 3110.

Схема устройства передачи. Устройство передачи данных. Схема передачи данных. Цифровые интерфейсы передачи данных. Устройства передачи и приема информации.

Схема устройства передачи. Устройство механической коробки переключения передач. Механическая коробка передач устройство и принцип работы. Устройство принцип механической коробки передач. Схема трехвальной пятиступенчатой коробки передач.

Схема устройства передачи. Устройства приема и передачи. Устройства приема данных. Устройства связи. Устройства связи развязки.

Схема устройства передачи. Схема подключения сетевых устройств. Схема соединения сетевого оборудования. Схема коммутации оборудования абонентского пункта. Структурная схема подключения цифровой АТС.

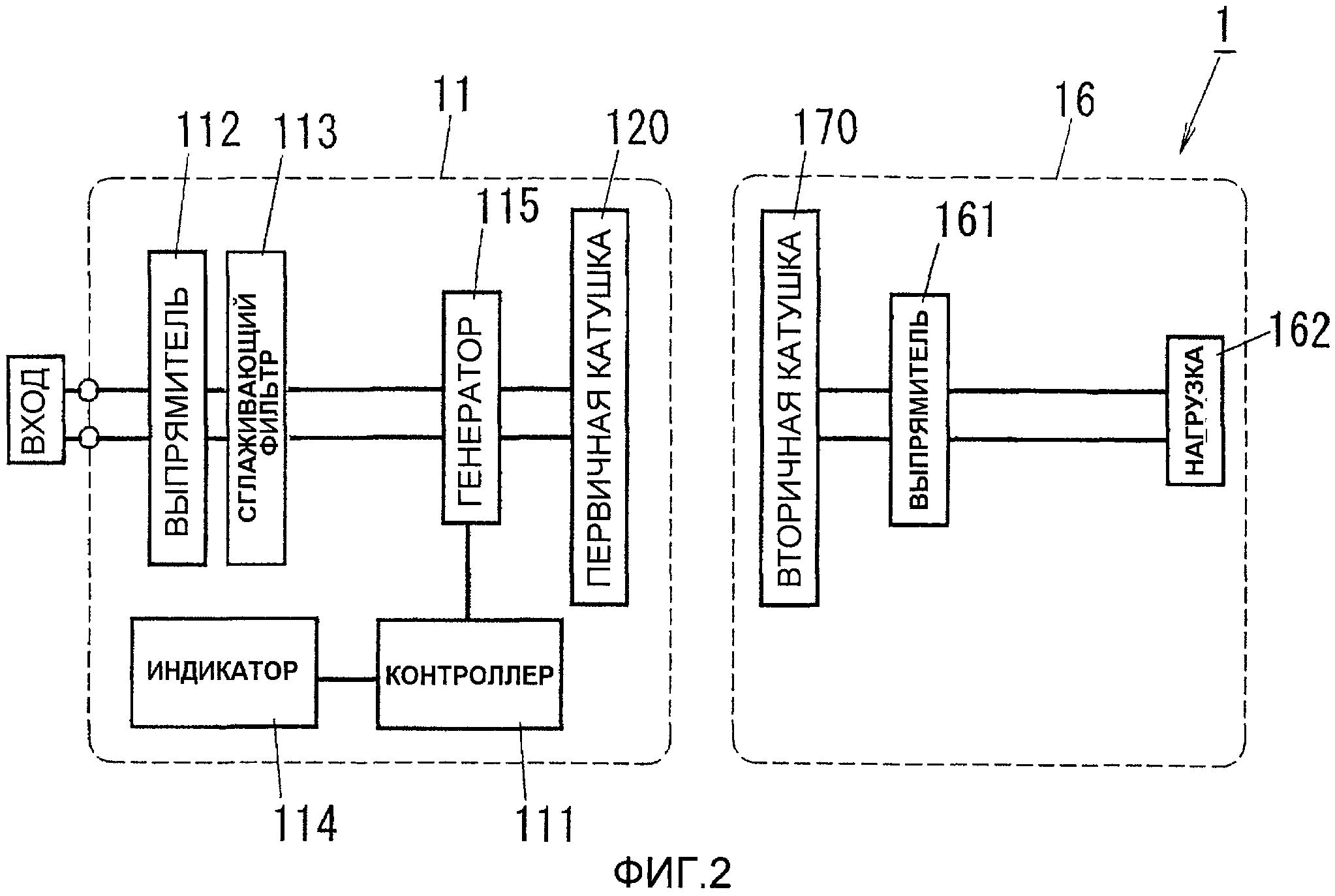
Схема устройства передачи. Обобщенная структурная схема системы передачи информации. Состав структурная схема цифровой системы передачи. Структурная схема канала передачи дискретной информации. Структурная схема типовой системы передачи информации.

Схема устройства передачи. Планетарный редуктор РТМ 160. Двухступенчатый планетарный редуктор схема. Двухступенчатый планетарный редуктор чертеж. Планетарный редуктор электротельфера схема.

Схема устройства передачи. Устройства передачи отключающего сигнала ЭПО. Устройства обмена.

Схема устройства передачи. Схема канала передачи данных. Структурная схема радиотехнические системы передачи информации. Функциональная схема передатчика телеметрической информации. Структурная схема последовательная передача сигнала.

Схема устройства передачи. Устройство коробки передач схема. Принцип работы механической коробки передач. Механическая коробка передач устройство схема. Коробка передач механика принцип работы.

Схема устройства передачи. Структурная схема модема XDSL. Структурная схема 4g модема. Принципиальная схема АДСЛ модема. Структура и принцип действия модема.

Схема устройства передачи. Устройства приема и передачи. Устройства приема и передачи данных. Методом передачи видеосигналов. Система передающих устройств.

Схема устройства передачи. Кинематическая схема автоматической коробки передач автомобиля. Кинематическая схема гидромеханической трансмиссии. Схема кинематическая гидромеханической АКПП 4 передачи. Принцип работы автоматической коробки передач схема.

Схема устройства передачи. Схема работы механической коробки передач. Устройство механической коробки переключения передач. Устройство коробки передач схема. Устройство механической коробки передач схема.

Схема устройства передачи. Процесс передачи информации. Виды передачи информации. Передача информации это в информатике. Способы передачи информации в информатике.

Схема устройства передачи. Общая структура канала связи. Каналы связи схема. Структурная схема канала связи. Канал связи.

Схема устройства передачи. Принципы передачи оптических сигналов по оптическому волокну.. Оптоволоконные линии связи схема. Структурная схема волоконно-оптической линии связи. Обобщенная структурная схема ВОЛС.

Схема устройства передачи. Устройства обмена данных. Устройство передачи ощущений. Устройства обмена. Устройство передачи sd600e.

Схема устройства передачи. Устройства приема и передачи. Устройства приема данных. Устройства приема информации.

Схема устройства передачи

Схема устройства передачи. Структурная схема системы передачи информации. Общая структурная схема передачи информации. Структурная схема системы передачи данных. Обобщённая структурная схема системы передачи информации..

Схема устройства передачи. Кинематическая схема карданной передачи. Кинематическая схема механической трансмиссии. Схема трансмиссии переднего привода автомобиля. Схема передачи крутящего момента с двигателя на колеса.

Схема устройства передачи. KS И KV на схемах.

Схема устройства передачи. Устройство обработки сигнала Signal Processor. Устройства передачи. Процессор сигналы. Древние устройства передачи сигналов.

Схема устройства передачи. Устройства приема и передачи. Устройства передачи и приема информации. Устройства приема данных. Схема передачи данных.

Схема устройства передачи. Устройство для передачи стереоскопического изображения. Принцип работы УПК-Ц цифровое устройство передачи команд.

Схема устройства передачи. Устройство механизма переключения передач. Механизм переключения передач Chevrolet Niva. Схема устройства и работа механизма переключения передач. Устройство механизма переключения коробки передач.

Схема устройства передачи. Устройство передающего оптического модуля. Оптоволокно передача оптических сигналов. Упрощённая схема оптического передающего устройства. Устройства приема и передачи.

Схема устройства передачи. Устройство трансмиссии автомобиля схема. Основные агрегаты трансмиссии. Общее устройство трансмиссии легкового автомобиля. Трансмиссия автомобиля (коробка передач).

Схема устройства передачи. Механизм переключения коробки перемены передач автомобиля ЗИЛ 130. Схема переключения коробки передач ЗИЛ 130. КПП ЗИЛ 130 схема. КПП ЗИЛ-130 устройство схема.

Схема устройства передачи. Устройства приема и передачи. Устройство передачи/приема что входит. Технология OFDM преобразование Фурье.

Схема устройства передачи. Устройство передачи приема примеры. Устройство приема и передачи включает. Взаимодействие роботов между собой схема.

Схема устройства передачи. Универсальный цифровой Интерфейс di-03. Схема интерфейса для цифровых видов связи. Устройства приема и передачи данных. Цифровые интерфейсы передачи данных.

Схема устройства передачи. Лайнтроник устройство передачи. DGL способ приема. Девять устройство передачи душ.

Схема устройства передачи. Устройства приема и передачи. Устройства передачи и приема информации. Устройства приема данных. Устройство приема\передачи на ПК.

Схема устройства передачи. Устройства приема данных.

Схема устройства передачи. Схема проводной передачи данных. Схема передачи данных по сети. Схема организации сети передачи данных. Схема передачи данных в компьютере.

Схема устройства передачи. Обобщенная структурная схема системы передачи информации. Обобщенная структурная схема дискретного канала передачи информации. Структурная схема передачи стереосигнала. Функциональная схема цифровой системы связи.

Схема устройства передачи. Устройства приема и передачи. Оптические системы связи. Устройство оптическое таксационное. Элемент устройства для приёма и передачи им в.

Схема устройства передачи. Схема работы коробки передач автомобиля. Устройство механической коробки переключения передач. Устройство коробки передач схема. Схема и принцип работы механических коробок передач..

Схема устройства передачи

Схема устройства передачи. Устройства приема и передачи.

Схема устройства передачи. Структурная схема передатчика бортового ретранслятора. Приемник передатчик сигнала. Передатчики мобильной станции. Приемник управления.

Схема устройства передачи. Передача информации. Способы передачи информации в компьютере. Схема передачи информации в компьютере. Схема передачи информации в информатике.

Схема устройства передачи. Структурная схема передвижной телевизионной станции. Структурная схема передатчика сигнала. Схема передачи сигнала спутникового телевидения. Структурная схема спутникового ТВ.

Схема устройства передачи. Схема процесса передачи информации. Кодирующее устройство и декодирующее устройство. Схема передачи информации декодирующее устройство. Примеры процесса передачи информации.

Схема устройства передачи. Передача информации. Передача информации источник декодирующее устройство. Передача информации это в информатике. Каналы связи для передачи информации.

Схема устройства передачи. Устройства приема и передачи. Устройства передачи и приема информации. Устройства приема и передачи данных. Схема передачи информации с датчиков.

Схема устройства передачи. Схема гидротрансформаторной автоматической коробки передач. Схема автоматической коробки передач автомобиля. Автоматическая коробка передач схема устройства. Автоматическая КПП схема.

Схема устройства передачи. Блок управления связью. Устройства связи. Системы связи и управления c4isuites. Принимающее устройство связи.

Схема устройства передачи. Устройство коробки передач схема. Устройство механической коробки переключения передач. Схема трехвальной коробки передач. Схема устройство и работа ступенчатой коробки передач.

Схема устройства передачи. АТС Квант-е структурная схема. Частотное разнесение сигнала схема. Структурная схема АТСКЭ Квант. АТС Квант-128.

Схема устройства передачи. Способ передачи к этому устройству кондиционер.

Схема устройства передачи. Приемное устройство. Устройство передачи sd600e. Ключ передающее устройство. Лисна ч передающее устройство.

Схема устройства передачи. Глобальная таблица дескрипторов. Таблица дескрипторов процесса. Локальная дескрипторная таблица. Таблицы локальных и глобальных дескрипторов в ассемблере.

Схема устройства передачи

Схема устройства передачи. Методом передачи видеосигналов. Передачи сигналов ТМ. Схемы направление передачи сигнала. Электромеханическое устройство для передачи команд и сигналов.

Схема устройства передачи. Кинематическая схема гидромеханической коробки передач. Принципиальная схема автоматической коробки передач. Кинематическая схема автоматической коробки передач. Упрощенная кинематическая схема АКПП.

Схема устройства передачи. Синхронизатор коробки передач автомобилей ГАЗ-3307,. Синхронизатор КАМАЗ 5320 схема. Схему синхронизатора КПП автомобиля ГАЗ-3307. Синхронизатор коробки передач схема.

Схема устройства передачи. Схема и принцип работы механических коробок передач.. Схема работы механической коробки передач. Схема и принцип работы механической коробки. Опишите устройство и опишите схему работы простейшей коробки передач.

  • Вперед 10 Травмоопасных видов спорта
  • Назад Инертная система

Новые страницы

Акт приема сдачи работ образец

Автосервис фиат дукато в свао

Бритни спирс сочинение

Бронхопневмония лечение у взрослых

Чем обработать ржавчину на кузове

Датчик температуры наружного воздуха esmt

Фигура человека в полный рост шаблон для технического рисунка

Форма 27у в медицине бланк образец

Гастрит лечение и диета

Гдз 3 класс английский язык воркбук

Груздь настоящий

Как поменять тормозную жидкость на логане

Как ставить угольный фильтр

Как записывать на диск сд рв

Какое свойство у равнобедренного треугольника

Математика 3 класс учебник стр 90 номер 6

Минское море места для

Образец характеристики на медработника для награждения почетной грамотой

Образец заявления в отпуск с последующим увольнением по собственному желанию

Озеро эльтон карта

Распиновка разъема магнитолы кашкай

Резка бетона алмазным диском

Самая жиросжигающая тренировка

Схема паровых котлов

Схема применения

Спорт экспресс онлайне

Спортивная 6 7

Тв 1 2 содержание

Volkswagen polo в пензе

Заявление о переносе заседания суда образец

cdn.zecar.ru