Skip to content

Фотогалерея

  • Главная
  • Контакты

Схема транзисторного ключа

Что такое транзистор - простым языком

Транзисторные ключи. - ЭЛЕКТРОНИКА И МИКРОЭЛЕКТРОНИКА: ИМПУЛЬСНАЯ И ...

Схема транзисторного ключа на 12 вольт

3. Включение транзисторного ключа

Схема электронного ключа

9. Статические режимы работы транзисторного ключа

NPN транзистор: схема подключения. Какая разница между PNP и NPN ...

Схема электронного ключа

Ключевой режим работы биполярного транзистора

ТРАНЗИСТОРНЫЙ КЛЮЧ - Общая электротехника и электроника

Схема электронного ключа

Нужна схема простейшего транзисторного ключа для упр. реле 1 - Форум ...

Транзистор реле схема

Схема нормально открытого транзисторного ключа | Аппаратная платформа ...

Расчёт параметров транзисторного ключа - YouTube

3. Включение транзисторного ключа

Транзисторы электронная схема

Транзисторные ключи: схема, принцип работы и особенности :: SYL.ru

Схемы электронных виключателей питания для схем на микроконтроллерах

КАК РАССЧИТАТЬ ТРАНЗИСТОРНЫЙ КЛЮЧ - YouTube

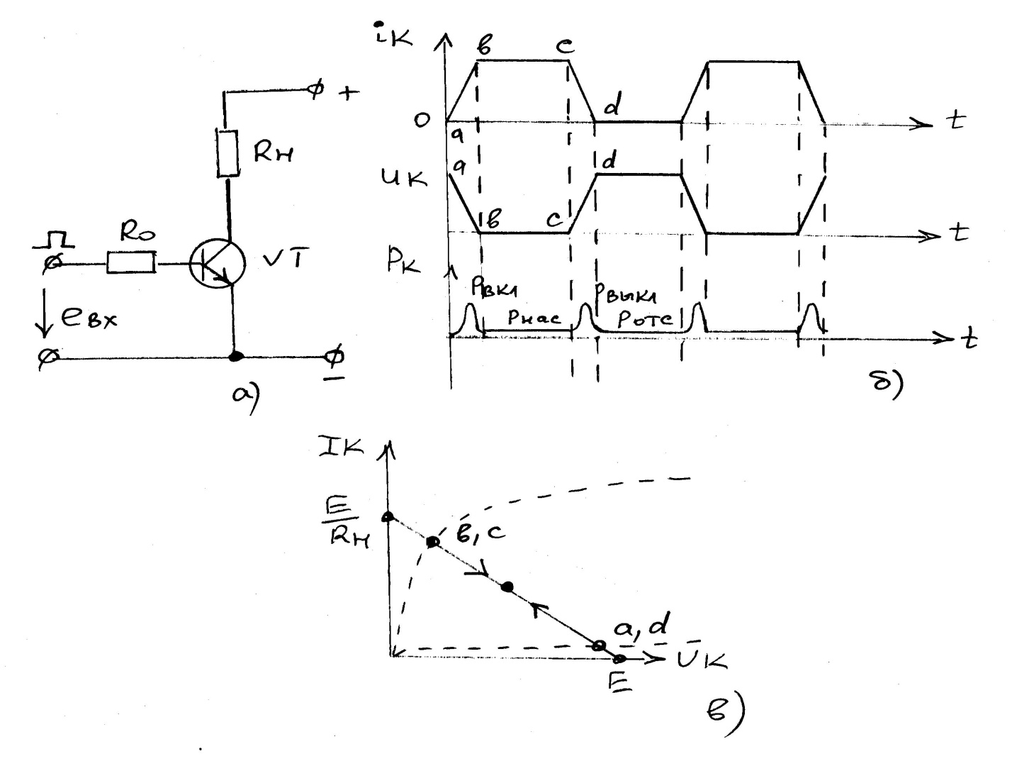
Рис. 2.9. Схема транзисторного ключа с ОЭ (а), временные диаграммы (б ...

Схема нормально открытого транзисторного ключа | Аппаратная платформа ...

Назовите схемы включения биполярного транзистора

Электронный ключ схема на транзисторе 12 вольт: Схема транзисторного ...

Схема нормально открытого транзисторного ключа | Аппаратная платформа ...

Схема для подключения конденсаторного микрофона

Исследование транзисторного ключа: Методические указания к выполнению ...

Транзистор в режиме ключа: Электронный ключ на транзисторе — принцип ...

Транзисторные ключи - Электроника и преобразовательная техника

Диаграмма транзистора

Схема электронного ключа на транзисторе

Электронный ключ схема на транзисторе 12 вольт: Схема транзисторного ...

Расчет транзисторного ключа

Подбор транзисторов для сборки по схеме Дарлингтона - В помощь ...

Исследование транзисторного ключа: Методические указания к выполнению ...

  • Вперед Кордицепс однобокий
  • Назад На зарядку становись ссср картинки

Новые страницы

Асус центр ремонт ноутбуков

Автобиография на работу образец написания для женщин

Бэха тройка

Буддистская одежда

Деревянные дома в москве и подмосковье

Дергается стрелка спидометра ваз 2114

Дез спорт

Дворцов владимир викторович саратов

Эстония все о стране

Гдз по русскому языку второй класс иванова

Инструкция по эксплуатации чери тигго

Как плести темляк из паракорда схемы плетения

Книга учета проверок образец заполнения беларусь

Москва пробки дорогах

Мраморная штукатурка

Образец резюме для устройства на работу в газпром

Рекламные инфо стенды дмитров

Ростов на дону хофф

Схема мест накопления тко

Схема океан 222

Схема транзисторного ключа

Спортмастер зеленогорск красноярский

Техническое описание здания образец

Титулка курсовой работы образец

Трясет двигатель

Устранение засора канализации

Вирус коксаки лечение

Всюду лучистыми алмазами

Яндере симулятор картинки всех персонажей

Замена краба на калине

cdn.zecar.ru