Skip to content

Фотогалерея

  • Главная
  • Контакты

Схема прибора ц4324

Как измерять напряжение ц4342

Прибор комбинированный Ц4324 - Измерения - Портал радиолюбителей

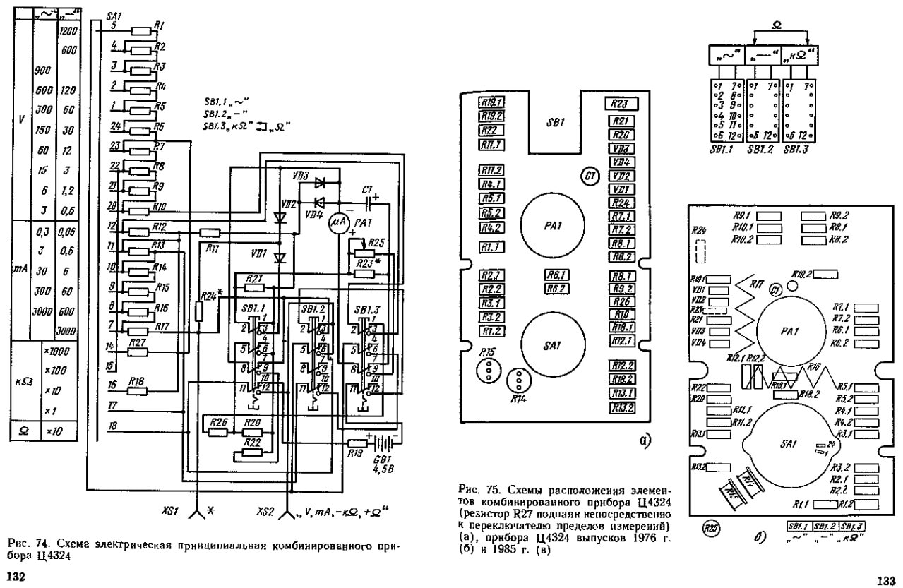
Принципиальная схема прибора Ц4324

Принципиальная схема прибора Ц4324

Тестер Ц4324 Инструкция - unitauto

Прибор комбинированный Ц4324 - Измерения - Портал радиолюбителей

Схема прибора ц4324

Принципиальная схема прибора Ц4324

Забавный ремонт стрелочного прибора Ц4324 | Пикабу

Ц4324 - Комбинированный измерительный прибор, схема и инструкция

Ц4324 Комбинированный измерительный прибор схема и инструкция

Ц4324 ремонт

Комбинированный прибор Ц4315 - Измерения - Портал радиолюбителей

Прибор ц4324 схема

Ц4324 Комбинированный измерительный прибор схема и инструкция

Как измерять напряжение ц4342

Схема прибора ц43101

Принципиальная схема прибора Ц4324

Ц4324 Комбинированный прибор. Назначение прибора Ц4324 | Метрология ...

Ц4324 >> 11 шт недорого купить

Монтажная схема прибора ц4324 ремонт

Забавный ремонт стрелочного прибора Ц4324 | Пикабу

Модернизация прибора "ПРИЗ" Ц4323 - Страница 3 - Технический форум

Схема прибора ц4317 ремонт

Комбинированный прибор Ц4325 - Измерения - Приднестровский портал ...

4324 - Мои файлы - Каталог файлов - Персональный сайт

Комбинированный прибор ''Ц4324''.

Монтажная схема прибора ц4352

Схема прибора 4324

Ц4340 инструкция прибора по пользованию

Тестер ц4324 схема ремонт

Прибор комбинированный Ц4313 (Ц4313Т)

Схема прибора II КА Б

43101 тестер схема

Тестер ц4324 схема ремонт

  • Вперед Карадагский дельфинарий
  • Назад Сколько дров в газели

Новые страницы

Автосервис брянск фокинский

Балет спартак большой театр

Декоративная штукатурка для внешней отделки

Диаметр коренной шейки коленчатого вала

Фильм точка обстрела

Гдз по английскому 10 афанасьев

Как лечится грипп

Как отполировать стекло птф

Как правильно написать грехи для исповеди на листочке образец исповеди

Линия электрических схем

Математика 2 класс учебник стр 55 упр 8

Морфологический разбор ветерок колышет

Определите значение силы тока

Перевод суры аль фатиха

Петергоф пушкинская карта

Припустился вдогонку

Редуктор 5

Реестр счетов образец

Рекламное агентство adv

Рихтование автомобиля

Самообман раскольникова

Селена анапа пансионат

Схема ближнего света ваз

Схема прибора ц4324

Схема зарядного устройства ansmann alcs 2 24a

Схемы ford transit

Сколько масляных фильтров на камазе

Служебная записка на оплату сверхурочных часов образец

Триал спорт чебоксары

Вяземский котел

cdn.zecar.ru