Skip to content

Фотогалерея

  • Главная
  • Контакты

Схема подключения мангуст

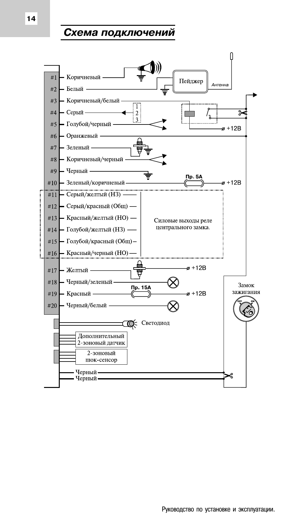
Схема подключения мангуст. Сигнализация Мангуст IQ 200 схема подключения. Автосигнализация Мангуст IQ 200 инструкция. Сигнализация Mongoose IQ 200/1. Схема подключения сигнализации Мангуст IQ 200/1 Alarm.

Схема подключения мангуст

Схема подключения мангуст. Схема подключения Мангуст 215. Mongoose IQ 215 сигнализация схема. Мангуст DX 1zone. Mongoose IQ 215.

Схема подключения мангуст. Сигнализация Мангуст IQ 200 схема подключения. Автосигнализация Мангуст 200 схема подключения. Mongoose сигнализация схема. Mongoose Digital 100 блок.

Схема подключения мангуст. Сигнализация Mongoose LS 9000d. Схема подключения сигнализации Мангуст 9000. Сигнализация Мангуст LS 1000d. Брелок Mongoose LS 9000d.

Схема подключения мангуст. Сигнализация Mongoose IQ 200. Сигнализация Mongoose IQ 250. Томагавк SL 950 схема подключения. Mongoose IQ 200 автосигнализации.

Схема подключения мангуст. Сигнализация Мангуст Duplex 2.1 Alarm. Mongoose Duplex 2.1. Сигнализация Мангуст Duplex2.1 схема подключения. Автосигнализация Mongoose Duplex 2.2 с обратной связью.

Схема подключения мангуст. Схема подключения центрального замка Mongoose CDL 24. Модуль центральным замком Mongoose CDL-24. Схема подключения Мангуст CDL3.2 центрального. Модуль центрального замка Мангуст CDL3.2 схема подключения.

Схема подключения мангуст

Схема подключения мангуст. Сигнализация AMG 700 750 схема подключения Мангуст Mongoose. Сигнализация Mongoose AMG 700 схема подключения сигнализации. Сигнализация Мангуст 750 схема подключения. Сигнализация Мангуст AMG 750/1 схема подключения.

Схема подключения мангуст. Сигнализация AMG 700 750 схема подключения Мангуст Mongoose. Схема подключения сигнализации Мангуст IQ 200/1 Alarm. Mongoose IQ 200 автосигнализации схема. Mongoose IQ 200 автосигнализации.

Схема подключения мангуст. Блок сигнализации сталкер 600. Схема установки сигнализации Мангуст на ВАЗ 2110. Mongoose CDL-2.2 схема подключения Центральный замок. Центральный замок Мангуст CDL-3.2 схема подключения проводов.

Схема подключения мангуст. Mongoose сигнализация схема. Автосигнализация Мангуст схема подключения. Сигнализация Mongoose с 3 кнопками схема подключения. Mangust блок сигнализации Мангуст.

Схема подключения мангуст. Сигнализация Мангуст Mongoose IQ 215. Схема подключения центрального замка Mongoose CDL 24. Схема подключения центрального замка Mongoose. Схема сигнализация Мангуст IQ 215 Alarm.

Схема подключения мангуст. Распиновка сигнализации Мангуст 700. Сигнализация Мангуст 750 схема подключения. Схема установки сигнализации Мангуст на ВАЗ 2114. Мангуст ems 1.7.

Схема подключения мангуст. Мангуст CDL3.2 схема подключения. Mongoose CDL 1.2 схема. Mongoose CDL-2.2 схема. Mongoose 138870 Центральный замок.

Схема подключения мангуст. Сигнализация Мангуст Base 30 Alarm. Сигнализация Mongoose Base 475 схема подключения. Сигнализация Mongoose Base 30 Alarm схема. Сигнализация Мангуст АМГ 700.

Схема подключения мангуст. Сигнализация Мангуст АМГ 700 схема. Схема сигнализации Мангуст AMG 700. Сигнализация AMG 700 750 схема подключения Мангуст Mongoose. Схема сигнализации Мангуст 700s.

Схема подключения мангуст

Схема подключения мангуст. Сигнализация Mongoose AMG 700 схема подключения сигнализации. Автосигнализация Мангуст AMG 700 / 1. Сигнализация AMG 700 750 схема подключения Мангуст Mongoose. Автосигнализация Мангуст АМГ 700 схема подключения.

Схема подключения мангуст. Схема сигнализации Мангуст 600д. Сигнализация Мангуст Duplex 2.1 Alarm. Мангуст CDL 5.2.1 схема подключения. Мангуст CDL3.2 схема подключения.

Схема подключения мангуст. Сигнализация Мангуст 900es. Сигнализация Мангуст 900es схема подключения. Сигнализация Mongoose 900. Сигнализация Мангуст 600 line 4 схема подключения.

Схема подключения мангуст

Схема подключения мангуст. Сигнализация Мангуст LS 7000d. Автосигнализация Mongoose LS 7000d инструкция. Брелок Мангуст LS-7000d. Сигнализация Мангуст LS 7000d схема подключения.

Схема подключения мангуст. Схема подключения сигнализации Мангуст. Mongoose сигнализация immobilizer Card. Схема подключения сигнализации Мангуст 633. Брелок сигнализации Мангуст Card 433.

Схема подключения мангуст

Схема подключения мангуст. Сигнализация Мангуст Duplex 2.1 Alarm. Схема подключения Мангуст 600. Сигнализация Мангуст Duplex2.1 схема подключения. Автосигнализация Мангуст схема подключения.

Схема подключения мангуст

Схема подключения мангуст. Модуль центрального замка Мангуст CDL3.2 схема подключения. Центральный замок Мангуст CDL-3.2 схема подключения проводов к реле. Центральный замок Мангуст CDL-3.2 схема подключения проводов. Схема подключения Мангуст CDL3.2 центрального.

Схема подключения мангуст. Схема подключения Мангуст CDL3.2 центрального. Мангуст тт1 схема подключения сигнализации. Модуль центрального замка Мангуст CDL3.2 схема подключения. Mongoose сигнализация схема.

Схема подключения мангуст. Схема подключения сигнализации Мангуст на ВАЗ 2109. Схема соединения сигнализации Мангуст. Мангуст 700/1. Схема автосигнализации Мангуст 770 модель.

Схема подключения мангуст. Схема сигнализация Мангуст IQ 215 Alarm. Мангуст сигнализация IQ 215 Alarm. Сигнализация Мангуст 215 схема подключения. Сигнализация Mongoose IQ 215.

Схема подключения мангуст

Схема подключения мангуст. Сигнализация Мангуст АМГ 700. Сигнализация Mongoose AMG 700 схема подключения сигнализации. Mongoose сигнализация схема. Сигнализация Mongoose w202.

Схема подключения мангуст. Сигнализация Мангуст LS 7000d. Схема подключения автосигнализации Мангуст LS 7000d. Схема соединения сигнализации Мангуст. Сигнализация АПС 7000 схема подключения.

Схема подключения мангуст. Сигнализация Мангуст модель 700. Сигнализация Мангуст 700s инструкция. Схема подключения сигнализации Mongoose 700s line. Мангуст 700 s line.

Схема подключения мангуст. Автосигнализация Мангуст AMG 700 / 1. Сигнализация Mongoose AMG 700 схема подключения сигнализации. Схема подключения сигнализации Mongoose AMG 700 super. Сигнализация Мангуст АМГ 700 схема.

Схема подключения мангуст. Схема подключения сигнализации Мангуст. Схема подключения сигнализации Мангуст 600. Сигнализация mongooseсхемма подключения. Мангуст 250 сигнализация схема.

Схема подключения мангуст. Сигнализация Mongoose AMG 700 схема подключения сигнализации. Мангуст CDL 1.2 схема подключения. Mongoose сигнализация схема. Схема сигнализация Mongoose DX 1zone.

Схема подключения мангуст

Схема подключения мангуст. Схема автосигнализации Mongoose. Mongoose сигнализация схема. Схема сигнализации Мангуст 5,2,3. Мангуст 750 схема для подключения.

Схема подключения мангуст. Сигнализация Мангуст RKT 11s. Сигнализация Mongoose AMG 700 схема подключения сигнализации. Сигнализация Mongoose RKT 11s Alarm. Схема подключения сигнализации Мангуст iq1400.

Схема подключения мангуст. Схема подключения автосигнализации Мангуст АМГ 750. Сигнализация Мангуст АМГ 750. Сигнализация Mongoose 750. Мангуст AMG 750 схема подключения.

Схема подключения мангуст. Автосигнализация Мангуст 700 схема подключения. Сигнализация Мангуст Mongoose AMG 700 AMG 750 схема подключения. Распиновка сигнализации Мангуст 700. Схема подключения сигнализации Mongoose AMG 700 super.

Схема подключения мангуст. Mongoose AMG 770 Alarm. Сигнализация Mongoose AMG 770 Alarm схема. Сигнализация Mongoose AMG 700 схема подключения сигнализации. Автосигнализация Mongoose AMG 770.

Схема подключения мангуст

Схема подключения мангуст

Схема подключения мангуст. Схема подключения сигнализации Мангуст 600. Сигнализация Мангуст IQ 200. Схема подключения автосигнализации Мангуст 250 IQ. Mongoose IQ 200 схема подключения.

Схема подключения мангуст. Схема подключения сигнализации Mongoose 750. Mangust блок сигнализации Мангуст. Сигнализация Mongoose AMG 700 схема подключения. Сигнализация Мангуст 600 line 4 схема подключения.

Схема подключения мангуст

Схема подключения мангуст. Mangust блок сигнализации Мангуст. Сигнализация mongooseсхемма подключения. Сигнализация Мангуст АМГ 700. Блок сигнализации Mongoose.

Схема подключения мангуст. Сигнализация Мангуст Base 50. Мангуст Base 475 Alarm схема. Сигнализация Mongoose Base 475 схема подключения. Сигнализация Мангуст Base 50 схема подключения..

Схема подключения мангуст. Схема подключения сигнализации Мангуст. Схема подключения сигнализации Мангуст 633. Сигнализация Mongoose 400 схема подключения. Схема подключения сигнализации Golden Chain.

Схема подключения мангуст. Mongoose CDL-2.2 схема подключения Центральный замок. Модуль управления центральным замком Mongoose CDL-3.2 схема подключения. Модуль центрального замка Мангуст CDL3.2 схема подключения. Схема подключения сигнализации Мангуст 600.

Схема подключения мангуст. Схема подключения центрального замка Mongoose CDL 24. Mongoose CDL-2.2 схема подключения Центральный замок. Схема подключения центрального замка Mongoose. Центральный замок Мангуст CDL-3.2 схема подключения проводов.

Схема подключения мангуст. Сигнализация Мангуст АМГ 700. Сигнализация Mongoose 700s схема подключения. Сигнализации Мангуст схема подключения сигнализации. Мангуст CDL3.2 схема подключения.

Схема подключения мангуст. Сигнализация Mongoose b001st. Мангуст CDL 5.2.1 схема подключения. Мангуст CDL3.2 схема подключения. Мангуст CDL 1.2 схема подключения.

Схема подключения мангуст. Автосигнализация Мангуст 800s. Сигнализация Mongoose 800s, схема подключения. Сигнализация Мангуст AMG 800. Мангуст 750 схема для подключения.

Схема подключения мангуст. Схема подключения сигнализации Мангуст. Сигнализация Mongoose tt1 Alarm. Схема подключения автосигнализации Мангуст. Сигнализация Mongoose IQ 200/1 схема подключения.

Схема подключения мангуст. Сигнализация Мангуст LS 9000d. Схема подключения сигнализации Мангуст 9000. Автосигнализация Mongoose instrukciya. Инструкция сигнализации Mongoose LS 9000d.

Схема подключения мангуст. Сигнализация Мангуст 750 схема подключения. Сигнализация Мангуст АМГ 700. Mongoose Base 400 схема подключения. Подключение сигнализации Мангуст 700.

Схема подключения мангуст. Сигнализации Mongoose RKT 07s. Схема сигнализации Мангуст RKT 07s Alarm. Автосигнализация Мангуст распиновка. Mongoose iq140 схема.

Схема подключения мангуст. Сигнализация Мангуст w202. Мангуст IQ 160 схема подключения. Сигнализация Мангуст IQ 200 схема подключения. Сигнализация Mongoose Duplex 2.2 схема подключения.

Схема подключения мангуст. Сигнализация Mongoose AMG 700 схема подключения сигнализации. Автосигнализация Mongoose AMG-750. Сигнализация AMG 700 750 схема подключения Мангуст Mongoose. Схема соединения сигнализации Мангуст.

Схема подключения мангуст. Автосигнализация Mongoose iq200. Автосигнализация Мангуст IQ 200. Сигнализация Мангуст IQ 200 схема подключения. Mongoose автосигнализация iq215.

Схема подключения мангуст. Сигнализация Mongoose Base 475 схема подключения. Схема подключения сигнализации Мангуст. Сигнализация Мангуст 475 схема подключения. Сигнализация Mongoose AMG 700 схема подключения.

Схема подключения мангуст. Сигнализация Мангуст 600. Сигнализация Мангуст 800s схема подключения. Автосигнализация Mongoose instrukciya. Автосигнализация Мангуст схема подключения.

Схема подключения мангуст. Сигнализация AMG 700 750 схема подключения Мангуст Mongoose. Сигнализация Mongoose AMG 700 схема подключения сигнализации. Мангуст AMG 750 схема. Мангуст AMG 750 схема подключения.

Схема подключения мангуст. Схема подключения сигнализации Мангуст Дюплекс. Mongoose Digital 100 распиновка. Сигнализация Mongoose Duplex 3d Alarm. Сигнализация Mongoose 100.

Схема подключения мангуст. Сигнализация Mongoose 100. Сигнализация Мангуст AMG 750 схема. Сигнализация Mongoose w202. Схема соединения сигнализации Мангуст.

Схема подключения мангуст. Mongoose 700s line2. Автосигнализация Mongoose 700s. Сигнализация Mongoose AMG 700 схема подключения сигнализации. Сигнализация Мангуст АМГ 700.

Схема подключения мангуст. Сигнализация Мангуст Mongoose IQ 215. Схема сигнализация Мангуст IQ 215 Alarm. Схема соединения сигнализации Мангуст. Мангуст сигнализация IQ 215 Alarm.

Схема подключения мангуст. Мангуст Base 475 Alarm схема. Мангуст 700s схема. Автосигнализация Mongoose 475 Base. Схема сигнализации Мангуст 600д.

Схема подключения мангуст. Сигнализация Mongoose AMG 700 схема подключения сигнализации. Сигнализация Мангуст 700 схема подключения. Схема сигнализации Мангуст AMG 700. Схема подключения сигнализации Мангуст AMG 700.

Схема подключения мангуст. Сигнализации Mongoose RKT 07s. Сигнализация Мангуст АМГ 700. Сигнализация Mongoose IQ 200. Сигнализация Mongoose RKT 11s.

Схема подключения мангуст. Сигнализация Мангуст 600 line 4 схема подключения. Сигнализация Мангуст Mongoose AMG 700 схема подключения. Схема подключения сигнализации Mongoose. Схема соединения сигнализации Мангуст.

Схема подключения мангуст. Схема подключения Мангуст CDL3.2 центрального. Mongoose CDL-2.2 схема подключения Центральный замок. Мангуст CDL 2.2 схема подключения. Mongoose CDL-2.2 схема подключения.

Схема подключения мангуст. Мангуст AMG 750 схема подключения. Mongoose AMG 750 схема. Mongoose AMG 750/1 схема подключения. Схема сигнализации Mongoose AMG 750.

Схема подключения мангуст. Схема соединения сигнализации Мангуст. Сигнализация Мангуст Mongoose AMG 700 AMG 750 схема подключения. Сигнализация Mongoose AMG 700 схема подключения сигнализации. Сигнализация Мангуст АМГ 700 схема.

Схема подключения мангуст. Mongoose two way 2.1 брелок. Сигнализация Mongoose two way Alarm. Mongoose IQ 200 автосигнализации. Сигнализация Мангуст Duplex2.1 схема подключения.

Схема подключения мангуст. Сигнализация Mongoose RKT 09s. Схема сигнализации Мангуст RKT 07s Alarm. Сигнализации Mongoose RKT 07s. Схема подключения сигнализации Мангуст RKT 09s Alarm.

Схема подключения мангуст. Модуль центрального замка Мангуст CDL3.2 схема подключения. Схема подключения центрального замка Mongoose CDL 24. Сигнализация Mongoose Duplex 3d Alarm. Схема блока сигнализации Мангуст.

Схема подключения мангуст. Модуль центрального замка Мангуст CDL3.2 схема подключения. Центральный замок Мангуст CDL-3.2 схема подключения проводов. Мангуст CDL3.2 схема подключения. Центральный замок Мангуст CDL-3.2 схема подключения проводов к реле.

Схема подключения мангуст. Сигнализация Mongoose 900es. Сигнализация Мангуст 900es схема подключения. Сигнализация Mongoose 900. Автосигнализация Mongoose 900 line 4.

Схема подключения мангуст. Схема подключения сигнализации Мангуст 2005г. Mongoose AMG 750 схема подключения. Сигнализация Мангуст АМГ 750 схема подключения. Схема подключения сигнализации Mongoose 900es.

  • Вперед Древние башни чечни
  • Назад Рекламация на оборудование образец

Новые страницы

1409 Школа официальный сайт

Число по разрядам

Чтение чертежей электрических схем

Дефектация цилиндров

Договор беспроцентного займа между ип и ип образец скачать

Дополнительное соглашение на перевод на другую должность образец

Dragon age карта мира

Гдз по математике 6 класс 2 часть ладыженская учебник

Грядки из цсп своими руками

Худенькая спортсменка

Как подружился вася с валеком и марусей

Конденсат в багажнике приора седан

Организация экспорта продукции

Организация здравоохранения в спорте

Plants will die

Рация сканер ловит все частоты

Разболтовка чери фора

Ресанта спн 5500 схема

Схема графического эквалайзера

Схема подключения мангуст

Спортивный костюм герб ссср купить

Театр ленком зрительный зал

Tps63000

Тренировка для рук мужчины программа

Тяжелая вода

В чем выражается приспособление росянки на скудных болотистых почвах

Вилка евро разборная

Vt 227 n 04

Yandex ru karta

Загадки нью йорка 4 прохождение в картинках

cdn.zecar.ru