Skip to content

Фотогалерея

  • Главная
  • Контакты

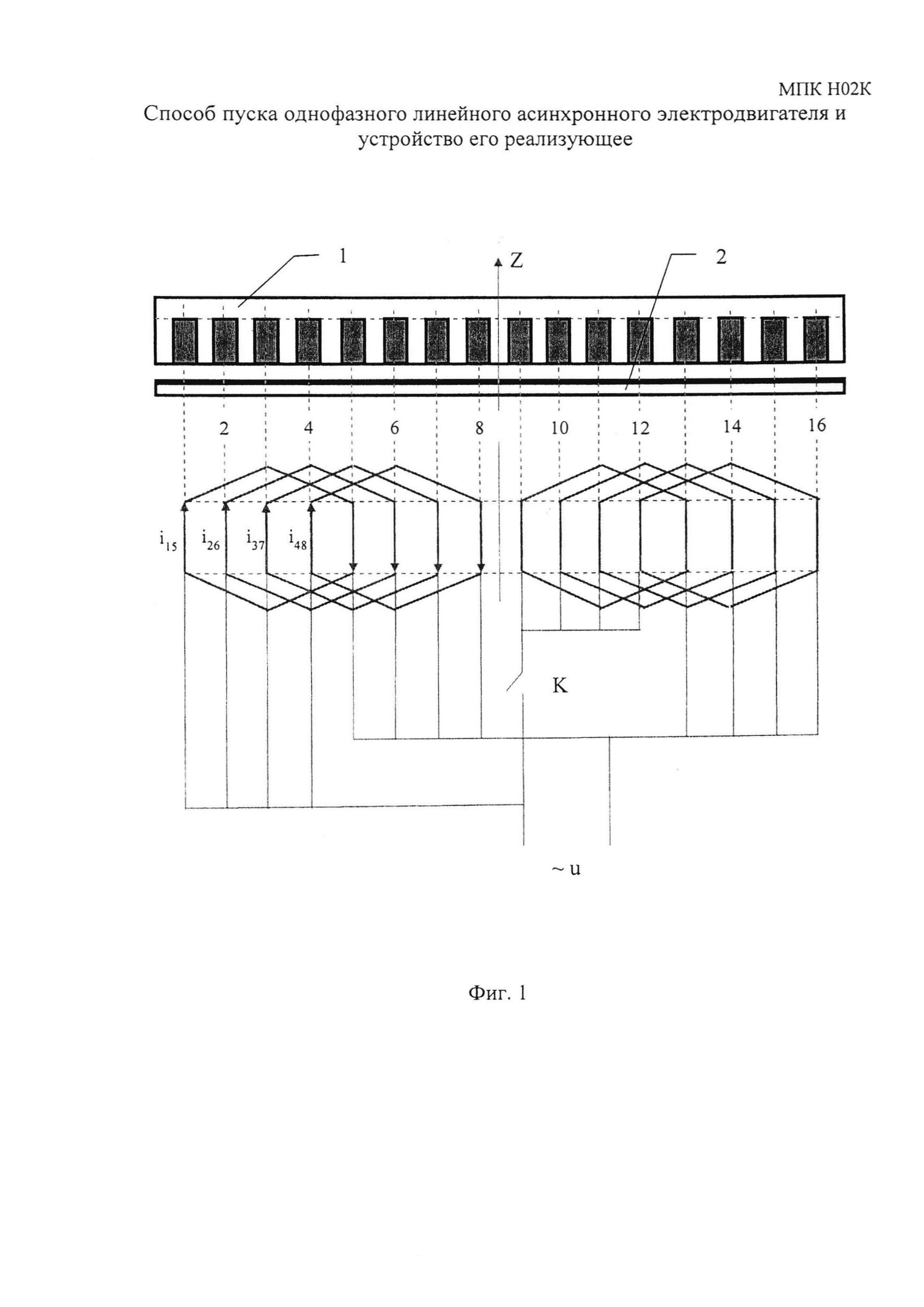
Схема линейного асинхронного двигателя

Схема линейного асинхронного двигателя. Линейный асинхронный двигатель. Линейный асинхронный электродвигатель. Цилиндрический линейный асинхронный двигатель. Линейный асинхронный двигатель схема.

Схема линейного асинхронного двигателя. Линейный асинхронный двигатель. Линейный асинхронный двигатель фото. Поперечный краевой эффект в линейных асинхронных двигателях.

Схема линейного асинхронного двигателя. Линейный асинхронный двигатель схема. Линейный электродвигатель схема. Линейные асинхронные двигатели устройство. Линейные синхронные электродвигатели.

Схема линейного асинхронного двигателя. Линейный асинхронный двигатель. Поперечный краевой эффект в линейных асинхронных двигателях. Полюсное деление линейного асинхронного двигателя что это.

Схема линейного асинхронного двигателя. Линейный асинхронный двигатель схема. Линейные асинхронные двигатели рельс.

Схема линейного асинхронного двигателя. Уменьшение оборотов 3 фазного асинхронного электродвигателя. Время пусковых токов асинхронного двигателя. Пусковые токи мельница. Как увеличить число полюсов фазного ротора.

Схема линейного асинхронного двигателя. Схема асинхронного двигателя с 2 короткозамкнутым. С асинхронного двигателя 3 фазы схема включения. Эл схема подключения асинхронного двигателя. Схема включения асинхронного двигателя с короткозамкнутым ротором.

Схема линейного асинхронного двигателя

Схема линейного асинхронного двигателя. Модель асинхронного двигателя в матлабе. Структурная схема модели асинхронного двигателя. Структурная схема математической модели асинхронного двигателя. Математическая модель асинхронного двигателя.

Схема линейного асинхронного двигателя. Линейный асинхронный двигатель схема. Принцип устройства линейного электродвигателя. Линейный асинхронный двигатель схема работы. Линейный синхронный двигатель схема.

Схема линейного асинхронного двигателя. Линейный двигатель конструкция. Линейный асинхронный двигатель схема. Линейный электродвигатель схема. Линейные двигатели принцип действия.

Схема линейного асинхронного двигателя

Схема линейного асинхронного двигателя

Схема линейного асинхронного двигателя. Индуктор линейного асинхронного двигателя. Линейный асинхронный двигатель схема. Линейный электродвигатель схема. Линейный двигатель постоянного тока схема.

Схема линейного асинхронного двигателя. Двухфазный асинхронный двигатель схема. Двухфазный асинхронный двигатель с короткозамкнутым ротором схема. Схема асинхронного двигателя с 2 короткозамкнутым. Однофазный асинхронный двигатель с короткозамкнутым ротором схема.

Схема линейного асинхронного двигателя. Линейный асинхронный тяговый двигатель. Линейный асинхронный двигатель схема. Линейный синхронный двигатель. Линейный электродвигатель схема.

Схема линейного асинхронного двигателя

Схема линейного асинхронного двигателя

Схема линейного асинхронного двигателя. Вторичный элемент линейного асинхронного двигателя. Линейный электродвигатель принцип действия. Линейный асинхронный двигатель принцип. Линейный ток асинхронного двигателя формула.

Схема линейного асинхронного двигателя. Линейный асинхронный двигатель. Линейный асинхронный двигатель книга.

Схема линейного асинхронного двигателя. Асинхронный двигатель с полым немагнитным ротором. Асинхронный исполнительный двигатель с полым немагнитным ротором. Асинхронные исполнительные двигатели схема. Двухфазный асинхронный двигатель с немагнитным полым ротором.

Схема линейного асинхронного двигателя. Линейный контактор на схеме. Схема включения линейного контактора. Линейный асинхронный двигатель схема. Линейная схема пускателя.

Схема линейного асинхронного двигателя. Линейный электродвигатель принцип работы. Линейный двигатель принцип. Двигатель линейного действия схема.

Схема линейного асинхронного двигателя

Схема линейного асинхронного двигателя. Линейный асинхронный двигатель схема. Цилиндрический линейный асинхронный двигатель. Линейный двигатель схема. Устройство линейного двигателя.

Схема линейного асинхронного двигателя. Схема статор линейного электродвигателя. Линейный шаговый двигатель схема. Линейный синхронный двигатель схема. Линейный электродвигатель схема.

Схема линейного асинхронного двигателя. Линейный асинхронный двигатель схема. Линейный синхронный двигатель схема. Линейный асинхронный двигатель схема работы. Конструкция линейного асинхронного двигателя.

Схема линейного асинхронного двигателя. Асинхронный двигатель с фазным ротором пусковой реостат схема. Пусковой ток асинхронного двигателя с фазным ротором. Схема прямого пуска трехфазного асинхронного двигателя. Ток при запуске асинхронного электродвигателя.

Схема линейного асинхронного двигателя. Линейный асинхронный двигатель схема. Соотношение пазов статора и ротора асинхронного двигателя. Соотношение пазов статора к пазам ротора. Сконструировать схему линейного асинхронного двигателя.

Схема линейного асинхронного двигателя. Схема включения линейного контактора. Схема пуска двигателя с двух мест. Блок управления электродвигателем схема. Схема включения электродвигателя с двух мест.

Схема линейного асинхронного двигателя. Линейный асинхронный двигатель схема. Дугостаторный асинхронный двигатель.

Схема линейного асинхронного двигателя. Линейный асинхронный двигатель. Линейный асинхронный тяговый двигатель. Линейный асинхронный двигатель книга. Параметрическая неоднородность линейного асинхронного двигателя.

Схема линейного асинхронного двигателя. Цилиндрический линейный асинхронный двигатель. Цилиндрический линейный двигатель.

Схема линейного асинхронного двигателя. Асинхронный электродвигатель схема. Схема устройства асинхронного двигателя с трехфазным ротором. Конструкция однофазного асинхронного двигателя схема. Двухфазный асинхронный двигатель схема.

Схема линейного асинхронного двигателя

Схема линейного асинхронного двигателя. Линейный асинхронный двигатель. Линейный асинхронный двигатель схема работы. 2.8. Линейный асинхронный двигатель. Линейный асинхронный двигатель книга.

Схема линейного асинхронного двигателя. Линейный асинхронный электропривод. Асинхронный электропривод турбомеханизма. Электропривод производства профнастила схема. Линейный асинхронный двигатель фото.

Схема линейного асинхронного двигателя. Линейные асинхронные двигатели устройство. Линейный асинхронный двигатель схема. Линейный электродвигатель схема. Линейный электродвигатель принцип работы.

Схема линейного асинхронного двигателя. Схема реверсивного пуска асинхронного двигателя. Электронное управление асинхронным двигателем схема. Структурная схема подключения асинхронного двигателя в станке ЧПУ. Для управления асинхронным двигателем используется аппарат типа.

Схема линейного асинхронного двигателя. Схема статор линейного электродвигателя. Линейный тяговый электродвигатель. Линейный электродвигатель обмотки. Линейный асинхронный электродвигатель.

Схема линейного асинхронного двигателя. Линейный асинхронный тяговый двигатель. Индуктор линейного асинхронного двигателя. Линейный асинхронный двигатель схема. Линейный синхронный двигатель.

Схема линейного асинхронного двигателя. Цилиндрический линейный асинхронный двигатель. Линейный асинхронный двигатель. Цилиндрические линейные двигатели своими руками схема.

Схема линейного асинхронного двигателя. Импульсное регулирование скорости в роторе асинхронного двигателя. Электродвигатель медленного вращения ротора. Обороты ротора высокого давления.

Схема линейного асинхронного двигателя. Синхронная машина переменного тока схема. Электрическая схема синхронного электродвигателя. Схема включения асинхронной машины переменного тока. Схема подключения роторного электродвигателя.

Схема линейного асинхронного двигателя. Электродвигатель 220в 2.2 КВТ схема включения. Схема включения трехфазного асинхронного двигателя. Двухполюсный асинхронный двигатель схема. Схема включения обмоток статора асинхронного двигателя:.

Схема линейного асинхронного двигателя. Линейный асинхронный двигатель. Линейный асинхронный электродвигатель. Линейный электродвигатель принцип работы. Линейный асинхронный двигатель принцип работы.

Схема линейного асинхронного двигателя. Асинхронный электропривод турбомеханизма. Линейный асинхронный электропривод. Электропривод патент. Динамические процессы в электроприводе.

Схема линейного асинхронного двигателя. Линейный асинхронный двигатель схема. Линейный асинхронный электродвигатель. Устройство линейного двигателя. Линейный двигатель конструкция.

Схема линейного асинхронного двигателя. Линейный асинхронный электропривод. Управление асинхронным электроприводом кольцевой канатной дороги. Асинхронный электропривод купить Arduino.

Схема линейного асинхронного двигателя

Схема линейного асинхронного двигателя

Схема линейного асинхронного двигателя

Схема линейного асинхронного двигателя. Производственная практика РГАЗУ линейные асинхронные двигатели.

Схема линейного асинхронного двигателя. Обмотки статора асинхронного двигателя. Обмотки асинхронного двигателя на 380. Схема подключения электродвигателя треугольником. Схема соединения обмоток статора асинхронного двигателя.

Схема линейного асинхронного двигателя. Схемы подключения 3 фазных асинхронных электродвигателей. Схема подключения асинхронного двигателя 380в звезда. Схема подключения электромотора 380. Схема подключения 3 фазного электродвигателя в однофазную сеть.

Схема линейного асинхронного двигателя

Схема линейного асинхронного двигателя. Схема подключения электродвигателя с короткозамкнутым ротором. Схема подключения двигателя с короткозамкнутым ротором. Схема асинхронного двигателя с короткозамкнутым ротором. Трехфазный асинхронный двигатель с короткозамкнутым ротором схема.

Схема линейного асинхронного двигателя. Линейный асинхронный двигатель схема. Индуктор линейного асинхронного двигателя. 2.8. Линейный асинхронный двигатель. Линейные асинхронные электродвигатели 1991.

Схема линейного асинхронного двигателя. Линейный асинхронный двигатель. Конструкция линейного асинхронного двигателя. Линейный асинхронный электродвигатель. Линейный электродвигатель принцип работы.

Схема линейного асинхронного двигателя

Схема линейного асинхронного двигателя

Схема линейного асинхронного двигателя. Нулевая точка трансформатора. Линейное и фазное напряжение различие. 330 Кв это линейное или фазное. 4- Полюсный сравнение 3-х фазный.

Схема линейного асинхронного двигателя. Схема включения асинхронного двигателя через магнитный пускатель 220в. Схема подключения трехфазного двигателя через контактор. Схема прямого пуска электродвигателя 380. Схема подключения магнитного пускателя на 380.

Схема линейного асинхронного двигателя. Асинхронный электропривод турбомеханизма. Линейный асинхронный двигатель. Электродвигатель с поперечным магнитным потоком. Тележки с линейным асинхронным двигателем.

Схема линейного асинхронного двигателя. Индуктор тягового линейного электродвигателя. Классификация тяговых электродвигателей. Стенд для тягового электродвигателя. Тяговый линейный двигатель на метрополитене.

Схема линейного асинхронного двигателя. Схема электродвигателя с короткозамкнутым ротором. Асинхронная машина с короткозамкнутым ротором схема. Схема асинхронного двигателя с короткозамкнутым ротором. Разомкнутый электропривод схема.

Схема линейного асинхронного двигателя. Цилиндрический линейный асинхронный двигатель. Индуктор тягового линейного электродвигателя. Линейный асинхронный двигатель схема. Индуктор линейного асинхронного двигателя.

Схема линейного асинхронного двигателя

Схема линейного асинхронного двигателя. Принципиальная электрическая схема пуска электродвигателя. Принципиальная электрическая схема асинхронного двигателя. Схема торможения двигателя динамическим торможением. Принципиальная схема подключения пуска асинхронного двигателя.

Схема линейного асинхронного двигателя. Схема прямого пуска электродвигателя 380. Плавный пуск схема подключения асинхронного двигателя. Схема подключения плавного пуска для асинхронного двигателя. Схема плавного пуска асинхронного двигателя 380в.

Схема линейного асинхронного двигателя. Линейный магнитный привод. Цилиндрический линейный вентильный двигатель. Цилиндрический линейный асинхронный двигатель. Линейный электродвигатель принцип работы.

Схема линейного асинхронного двигателя. Линейный асинхронный тяговый двигатель. Асинхронный линейный электродвигатель схема. Линейный асинхронный двигатель схема. Линейные асинхронные двигатели устройство.

Схема линейного асинхронного двигателя

Схема линейного асинхронного двигателя. Линейный асинхронный двигатель схема. Линейный электродвигатель схема. Линейный двигатель постоянного тока.

Схема линейного асинхронного двигателя

Схема линейного асинхронного двигателя. Индуктор линейного асинхронного двигателя. Линейный асинхронный двигатель принцип. Линейный асинхронный двигатель электросхема. Линейный асинхронный двигатель схема.

Схема линейного асинхронного двигателя. Привод ПЭ-21 схема электрическая. Упрощенная схема асинхронного двигателя. Нереверсивный контур. Насос регулируемый с нереверсивным потоком схема.

Схема линейного асинхронного двигателя. Цилиндрический линейный асинхронный двигатель. Линейный асинхронный двигатель схема. Цилиндрический линейный двигатель. Двигатель цилиндрический линейный индукционный.

Схема линейного асинхронного двигателя

Схема линейного асинхронного двигателя. Электрическая схема схема электропривода с асинхронным двигателем. Схема электропривода трамвайного вагона с асинхронным двигателем.

Схема линейного асинхронного двигателя. Соединение обмоток трехфазного генератора треугольником схема. Схема соединения обмоток генератора треугольником звездой. Соединение обмоток трехфазного генератора звездой. Схема подключения обмоток генератора звездой.

Схема линейного асинхронного двигателя. Конструкция катушки асинхронного двигателя. Составные части асинхронного электродвигателя. Линейный асинхронный двигатель. Асинхронный двигатель Электротехника.

Схема линейного асинхронного двигателя

Схема линейного асинхронного двигателя

Схема линейного асинхронного двигателя. Линейные асинхронные двигатели схема и устройства. Линейный асинхронный тяговый двигатель. Линейный асинхронный электропривод. Асинхронный линейный электродвигатель схема.

  • Вперед Английский язык рабочая тетрадь страница 70
  • Назад На схеме обозначен город где в 1918 году был образовано антибольшевистское правительство комуч

Новые страницы

Аккорд а5 на гитаре схема

Что позволяет утверждать что развитие зародыша млекопитающего в специализированном органе тела лучше

Договор оказания рекламных услуг образец

Электрощетка для мытья окон

Фитнес хаус расписание занятий таллинском шоссе

Фотостудия в москве для семейного

Кафе лайф

Красивый нежный детский фон для презентации

Курсовая спортивный туризм

Математика 1 класс страница 47 задание 7

Mcalpine гофра

Место отдыха у реки

Образец заявления в росреестр

Ответ на заявление гражданина образец

Прайм спорт прямая трансляция

Приказ о переводе работника в обособленное подразделение образец

Приёмная комиссия угнту уфа

Программа для создания тату эскизов на пк

Разработка схемы связи

Рекламная наклейка на авто заднее стекло

Спортивная фармакология купить

Спортсмены а и б

Стук задней подвески

Сваебойная установка копра

Верховный суд российской федерации рассмотрение дел

Вес хонда фит

Водород аллотропные модификации

Wowarships

Журнал крановщика автомобильного крана образец заполнения

Звуковая схема воробей

cdn.zecar.ru