Skip to content

Фотогалерея

  • Главная
  • Контакты

Схема излучателя

Типовые схемы подключения датчика движения для освещения » Сайт для ...

Излучатель Схема - Энциклопедия по машиностроению XXL

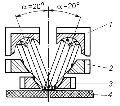
Барьеры на модулированном ИК излучении

Эквивалентная схема излучателя на частотах вблизи ре - Энциклопедия по ...

Барьер с непрерывным ИК излучением

Обозначение выключателей на чертежах - советы электрика - Electro Genius

Проект \"Плазменные излучатели звуковых волн\"

A simple emitter UHF, modulated by therapeutic frequencies of an audio ...

Излучатель Схема - Энциклопедия по машиностроению XXL

Оборудование для сварки инфракрасным излучением

Схема электрическая эквивалентная (ЭЭС - Энциклопедия по машиностроению XXL

Излучатель КВЧ на трёх тиратронах МТХ-90, модулированный частотой 10Гц

Схема подключения инфракрасного излучателя

Антенна на НЧ диапазоны

Мощный ультразвуковой излучатель своими руками

Излучатель Схема - Энциклопедия по машиностроению XXL

Применение лазерных технологий в стоматологии

Red-Resistor.ru - Ультразвуковая ванна

Излучатель Схема - Энциклопедия по машиностроению XXL

Самодельный ультразвуковой излучатель

Виды наушников: какие бывают разновидности и в чем отличие между ними

Торсионный генератор акимова своими руками

Условные обозначения в электрических схемах: как читать схемы

Модернизация фотореле РФ8300 - Промышленность - Портал радиолюбителей

Обозначения электрических аппаратов на схеме

Основы радиосвязи и телевидения

Ученые из МИФИ нашли новый источник терагерцового излучения

Робот объезжающий и избегающий препятствия

Как выглядит источник питания на схеме

ИК-барьер для охранных систем и «умного дома» — radiohlam.ru

Излучатель инфразвука своими руками: Инфразвуковой генератор схема ...

Оборудование для сварки инфракрасным излучением

Схема подключения инфракрасного излучателя

ЛУЧИСТОЕ ОТОПЛЕНИЕ ПРОИЗВОДСТВЕННЫХ И ОБЩЕСТВЕННЫХ ЗДАНИЙ ...

Описание Работы Электрической Схемы - tokzamer.ru

  • Вперед Ревматолог это кто
  • Назад 1 Комнат схема

Новые страницы

Антоним приветливо

Автозапуск на сигналке старлайн

Бланк выполненных работ образец

Дмитров ремонт компьютеров

Электрокотел 6 квт

Фитнес браслет какой точное давление

Гдз география 5 класс контурная карта алексеев николина липкина

Как отрегулировать фары на киа спектра вручную

Карта анапа геленджик новороссийск

Карта осадков салават онлайн в реальном времени

Карта россии с соседними государствами и их столицами

Когитум отзывы врачей

Корпус to 236 и sot23

Машина дэу нексия фото

Математика 3 класс учебник школа россии 2 часть стр 58

Многоугольник распределения кратностей

Мтлб вездеход

Образец трудового договора на дистанционную работу

Подвижное соединение глушителя

Презентация по проекту 10 класс индивидуальному образец

Расход топлива маз 6501

Расписка в приеме документов воинского учета образец

Салон химчистка

Схема левобережного кладбища г магнитогорска

Спецификация к договору купли продажи образец скачать

Спорт букмекерская контора

Спортивный модный костюм интернет магазин

Тест spotlight

Задачи на готовых чертежах по теме вписанные и центральные углы 8 класс

Заказы на ремонт компьютеров

cdn.zecar.ru