Skip to content

Фотогалерея

  • Главная
  • Контакты

Схема ивс

Схема ивс. Схема охраны периметра здания ИВС. Схема исправительного учреждения. Примерная схема генерального плана ИК строгого режима. Схема охраны внешней запретной зоны.

Схема ивс. Схема изолятора временного содержания. Структурная схема ИВС. Схема защиты ИВС.

Схема ивс. Линейные пожарные извещатели схема подключения. Линейный пожарный Извещатель дымовой структурная схема. Ип212-252см. Схема пожарного извещателя ИП 212.

Схема ивс

Схема ивс

Схема ивс. Многоуровневые ИВС. Многоуровневая схема. Эталонные модели систем.

Схема ивс

Схема ивс. Примерная схема генерального плана ИК строгого режима. Кормокухня для служебных собак схема. Типовой проект городка содержания служебных собак. Генеральный план ФКУ ИК-8.

Схема ивс. Структура Следственного изолятора схема. Организационная структура СИЗО схема. Структурные подразделения СИЗО. Схема организационной структуры исправительного учреждения.

Схема ивс

Схема ивс. Схема поверки автоматического потенциометра КСП-4. Автоматического потенциометра схема измерения. Потенциометр автоматический ксп3-п схема. Принципиальная схема потенциометра для измерения термоэдс.

Схема ивс. Индикатор выносной световой ИВС-2. ИВС-1 индикатор выносной световой. Индикатор выносной ИВС-1 схема. Выносной световой Извещатель.

Схема ивс. Структура ИВС. Документирование сети. Схема защиты ИВС.

Схема ивс. Виста 501 схема. ПКП охранной сигнализации схема обозначения. Запотолочные датчики обозначение. Обозначение запотолочных пожарных извещателей.

Схема ивс. План крепость в ИВС. План схема изолятора временного содержания. План крепость МВД. План охраны и границы охраны ИВС.

Схема ивс. Дверь КХО чертежи. Решетчатая дверь в КХО требования и чертежи. Дверной блок КХО. Дверь в КХО требования.

Схема ивс. Схема охраны периметра здания изолятора временного содержания. Схема охраны периметра здания ИВС. План-схему охраны периметра здания ИВС. Схема складского комплекса ЖД.

Схема ивс. Схема здания полиции. План участка. План участка детского сада. Схему внутренних помещений полицейского участка.

Схема ивс. Фрагмент сети. Типовой фрагмент сети связи. Техническая архитектура ИВС Росстата.

Схема ивс. План схема СИЗО. Примерная схема генерального плана ИК строгого режима. Схема Следственного изолятора. Типовой проект Следственного изолятора.

Схема ивс. Индикатор выносной световой ИВС-2. ИВС-1 индикатор выносной световой. ИВС-1 индикатор выносной световой схема подключения. Индикатор выносной световой с возможностью оконечника ИВС-2.

Схема ивс. ИВС-1 индикатор выносной световой. ИВС-1 индикатор выносной световой схема. Выносной индикатор пожарного датчика. ИВС 1 расключение 212 141.

Схема ивс. Схема охранной системы периметра. Схема охраны периметра здания. Технические средства защиты периметра. Системы охраны периметра объекта.

Схема ивс. Нарушение порядка отбывания наказания. Нарушение установленного порядка отбывания наказания осужденными. Нарушением порядка и условий отбывания осужденными. Виды нарушений установленного порядка отбывания наказания.

Схема ивс

Схема ивс. Генетический алгоритм задача коммивояжера. Задача коммивояжера Python. Задача о коммивояжере блок схема. Лидер коммивояжер.

Схема ивс

Схема ивс. Схема охраны периметра здания ИВС. План-схему охраны периметра здания ИВС. Схема полевого склада инженерных боеприпасов. План-схема охраны объекта охраны.

Схема ивс. Структура исправительных учреждений РФ. Исправительные учреждения видя. Виды режимов в исправительных учреждениях. Виды исправительных учреждений в России.

Схема ивс

Схема ивс. Многоуровневые ИВС. Классификация ИВС. Функции ИВС. Многоуровневая организация управления в ИВС.

Схема ивс

Схема ивс. Функциональная схема управляющего автомата. Функциональные модульные схемы. Основы построения цифровых схем. Функционально-модульная схема.

Схема ивс. План питомника для собак схема. Изолятор для собак в питомнике схема. Схема питомника для служебных собак. Схема размещения собак в питомниках.

Схема ивс

Схема ивс. Схема охраны периметра здания ИВС. Схема охраны внешней запретной зоны. Схема охраны периметра здания изолятора временного содержания. План схема охраны объекта.

Схема ивс. Sn74155 устройство схема. Усэм в оптической схема.

Схема ивс. Порядок содержания под стражей. Содержания подозреваемых под стражей. Порядок заключения под стражу. Порядок и условия содержания подозреваемых под стражей..

Схема ивс. Схема изолятора временного содержания. Схема ШИЗО. Схема укрепленности ИВС. ИВС чертежи.

Схема ивс

Схема ивс

Схема ивс. Санпропускник в операционном блоке схема. Схема санпропускника в баклаборатории. Санпропускник операционного блока схема 3 помещения. Bonner санпропускник схема электрическая.

Схема ивс. Структура СИЗО схема. Структура тюрьмы схема.

Схема ивс. Дип 44. Дип 44 с МС-02 схема подключения. Дип 44 схема подключения. Дип 44 схема ремонта.

Схема ивс. Дорожная карта проекта. Дорожная карта схема. Составление дорожной карты проекта. Разработать дорожную карту проекта.

Схема ивс. Архитектура централизованной ИВС. ИТ архитектура ИВС Росстата.

Схема ивс. Схема изолятора для инфекционных больных. Схема изолятора для инфекционных больных животных. Схема мельцеровского бокса. Приемно-карантинное отделение с изолятором схема.

Схема ивс. Многоуровневые ИВС. Многоуровневая организация управления в ИВС. Эшелонированное представление иерархических систем концерн. Структура изолятора временного содержания.

Схема ивс. План здания ОВД. План здания отделения полиции. Полиция планировка. Схема здания МВД.

Схема ивс. Схема тюрьмы. Схема Следственного изолятора. Схема колонии. План схема Следственного изолятора.

Схема ивс. Планировка СИЗО. Генплан ИВС. Планировка изолятора временного содержания. Схема здания ОВД.

Схема ивс. Структура ИВС. Схема защиты ИВС. ИВС Росстата системная архитектура. ИВС статистика.

Схема ивс

Схема ивс. Классификация ИВС. Структура изолятора временного содержания. Иерархическая ИВС. Лексические ИВС.

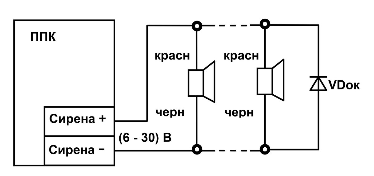
Схема ивс. Схема подключения оповещателей. Оповещатель пожарный звуковой схема соединения. ОПЗ антишок Оповещатель звуковой схема. Поверхностный звуковой Оповещатель схема подключения.

Схема ивс

Схема ивс. Виды мест содержания под стражей. Порядок содержания подозреваемых под стражей. Места содержания под стражей подозреваемых и обвиняемых. Обеспечение режима содержания подозреваемых и обвиняемых.

Схема ивс. Схема полевого склада инженерных боеприпасов. Схема охраны внешней запретной зоны. Схема караульного помещения. План схема охраны периметра здания изолятора временного содержания.

Схема ивс

Схема ивс. ИВС-1 индикатор выносной световой. ИВС-1 индикатор выносной световой схема подключения. Выносной индикатор к ппсду.

Схема ивс. Многоуровневые ИВС. Классификация ИВС. Методы в ИВС. Многоуровневая организация управления в ИВС.

Схема ивс. Палата хирургического отделения планировка. Боксированная палата инфекционного отделения схема. Боксированные палаты в инфекционном отделении. Планировка инфекционного отделения.

Схема ивс. Таблица оснований для избрания меры пресечения. Порядок освобождения подозреваемого. Основания задержания и освобождения подозреваемого.. Основания освобождения подозреваемог.

Схема ивс. Санпропускник в приемном отделении планировка. Схема изолятора для инфекционных больных. Приемно-смотровой бокс инфекционной больницы. Санпропускник схема в приемном отделении.

Схема ивс. Схема охраны периметра здания ИВС. План схема охраны периметра здания изолятора временного содержания. План-схему охраны периметра здания ИВС. Схема полевого склада инженерных боеприпасов.

Схема ивс. Ухищрения осужденных. Ухищрения применяемые для совершения побега. Ухищрения осужденных для побега. Карикатура - заключенный в тюрьме.

Схема ивс. Структура ИВС. Структурная схема ИВС. Логическая структура документа. Структурно логическая сетка.

Схема ивс. Принципиальная схема указатель истинной воздушной скорости. ЭМГ датчики принципиальная схема. Электрические схемы датчиков воздушной скорости. Принципиальная схема датчика нагрева.

Схема ивс. Цифровой изолятор схема. Вводной изолятор схема. Изолятор из-1 рубеж схема. Изолятор для животных на ферме схема.

Схема ивс. Схема сбора статистики. Схемы сбора и обработки статданных. Производственный план Росстата.

Схема ивс. Виды исправительных учреждений таблица. Исправительные колонии особого режима таблица. Условия отбывания наказания в исправительных учреждениях таблица. Какие есть режимы содержания осужденных.

Схема ивс. Примерная схема генерального плана ИК строгого режима. План схема исправительного учреждения. План схема исправительной колонии. План схема организации исправительного учреждения.

Схема ивс. Схема ветеринарного изолятора для животных. Нормы проектирования ветеринарных клиник. План ветеринарного изолятора. План схема изолятора временного содержания.

Схема ивс. Отделение полиции схема здания. План отделения полиции. Отделение полиции планировка. План здания ОВД.

Схема ивс. Ячеистая топология сети схема. Полносвязная топология сети. Локальная сеть ячеистая топология. Полносвязная топология локальной сети.

Схема ивс. Схема процесса сбора статистических данных. Система охраны ИВС. Система сбора отчетности.

Схема ивс. ИВС примеры. Как устроен ИВС. ИВС это в медицине. Институт высокомолекулярных соединений.

Схема ивс

Схема ивс. Схема обхода территории охранником. Схема охраны периметра здания ИВС. План схема инженерно-технических средств охраны. Схема размещения датчиков периметра.

Схема ивс. Канал передачи данных. Каналы передачи информации канал. Каналы передачи данных примеры. Каналы передачи в компьютерных сетях.

Схема ивс. Источники возбуждения спектров. Источник возбуждения спектра. Генератор внешний вид. ИВС электрика.

Схема ивс. Сауна-150 ИП 105-1 G Извещатель схема подключения. Извещатель сауна ИП 105-1d схема включения. Извещатель ип105 схема. ИП 105-1-а1 схема подключения к сигнал 20.

Схема ивс. Типовой проект ИВС. План ИВС. ИВС чертежи. Типовой проект ЭОМ.

Схема ивс. Типовой проект ИВС. ООО ИВС.

Схема ивс. Классификация ИВС. Одноранговая сеть. Децентрализованная одноранговая сеть. Одноранговая сеть схема.

Схема ивс. УДП 535-26 Север схема подключения. ИПР 535-26 Север схема подключения. УДП 513-3м схема подключения. Спектрон-535-EXD-М схема подключения.

Схема ивс. Структурная схема дымового извещателя пожарного. Линейный пожарный Извещатель дымовой структурная схема. Структурная схема датчика дыма. ИП-212-142 Извещатель схема принципиальная электрическая.

Схема ивс. Схема установки решетки наружной. Решетка из арматуры чертеж. Дверь решетчатая металлическая чертеж. Распашные оконные решетки чертеж.

  • Вперед Спортсити
  • Назад Эдвард нортон

Новые страницы

7 Days to die nevzgen карта 20 alpha

Арк карта валгуеро пещеры

Батарейка 13 для слуховых аппаратов аналог

Бланк экстренное извещение об инфекционном заболевании форма 058 у образец

Чем почистить клеммы аккумулятора от окисления

Что кушаем перед тренировкой в зале

Что такое возвратные и невозвратные причастия

Csop

Грузовые перевозки по россии дешево

Кафе веранда тюмень

Камеди вумен балетная школа

Корешковый синдром грудного отдела

Мифические животные картинки милые

Ооо ростелеком

Проект на тему искусственные органы проблема и перспективы

Расписка о получении ключей от квартиры образец

С днем рождения гоша прикольные и смешные картинки

С первым снегом с добрым утром красивые картинки

Схема кукла наращивание

Схемы всемирной истории

Шим контроллер что это такое

Сочинение грачи

Stm32f429i disco

Существует легенда о том что заводчик никита демидов в подвале невьянской башни тайно чеканил монеты

Тайбэй

Упражнение 434 по русскому языку 6 класс

Вышивка скатерти крестом схемы

Замена дроссельной заслонки на приоре

Замена шруса

Заполнение путевого листа автобуса образец заполнения

cdn.zecar.ru