Skip to content

Фотогалерея

  • Главная
  • Контакты

Схема электронного обмена

Схема электронного обмена. Схема электронного документооборота на предприятии. Схема документооборота Эдо. Электронный документооборот схема движения электронных документов. Схема подписания электронной подписи.

Схема электронного обмена. Edi система. Электронный обмен данными (Electronic data Interchange, Edi). Технология Edi. Edi электронный документооборот.

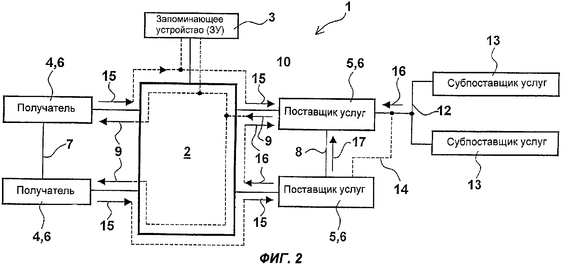
Схема электронного обмена. Поставщик и субпоставщик. Субпоставщик это.

Схема электронного обмена

Схема электронного обмена. Обмен данными с внешними устройствами таблица. Схема сетей обмена информацией. Обмен данными между системами. Схема обмена между системами.

Схема электронного обмена. Схемы с микросирверприводами. Схемы с тивикаем.

Схема электронного обмена. Электронный обмен данными (Electronic data Interchange, Edi). Edi система. Технология Edi. Edi в логистике.

Схема электронного обмена. Система ЭОД. Свойства системы обмена данными.

Схема электронного обмена. Система Edi электронный документооборот. Электронный обмен данными (Electronic data Interchange, Edi). Электронного документооборота Edi электронного документооборота Edi. Edi схема документооборота.

Схема электронного обмена. Система обмена данными. Схема обмена данными. Подсистема обмена данными. Система обмена данными состоит.

Схема электронного обмена

Схема электронного обмена. Электронная платежная система ЭПС схема. Схемы взаимодействия в платежной системе. Структура платежной системы России схема. Схемы платежей в электронной платежной системе.

Схема электронного обмена. Электронная обработка данных. Система ЭОД. Схематичный рисунок электронный обмен данных. Система ЭОД местного уровня.

Схема электронного обмена

Схема электронного обмена. Диадок схема документооборота. Схема документооборота с контрагентами. Электронный документооборот с контрагентами. Схема Эдо с контрагентами.

Схема электронного обмена. Схема обмена сообщениями. Схема обмена электронными документами. Обмен электронными сообщениями.

Схема электронного обмена. Схема электронной цепи. Принципы схема. Расчет электронных схем. Аналоговые электронные цепи.

Схема электронного обмена

Схема электронного обмена. Вычислительные машины комплексы системы и сети диплом. Схема обмена электронными сообщениями. Схема размена. Схема обмена сигналами.

Схема электронного обмена. Схема электронного документооборота в школе. Анализ документооборота. Внедрение электронного документооборота в школе. Автоматизированная система документооборота.

Схема электронного обмена

Схема электронного обмена

Схема электронного обмена. Электронный документооборот схема работы. Схема внешнего электронного документооборота. Оператор электронного документооборота. Эдо электронный документооборот.

Схема электронного обмена. Микропроцессорная система управления двигателем блок схема.. Система управления расходом топлива РКТ.

Схема электронного обмена. Electronic data Interchange схема. Edi схема взаимодействия. Edi схема документооборота. Схема сотрудничества с поставщиками.

Схема электронного обмена. Схема электронного документооборота в 1с. Схема электронногодокуентооброта. Электронный документооборот схема работы. Электронный документооборот схема документооборота.

Схема электронного обмена. Схема документооборота Эдо. Электронный документооборот схема работы. Безбумажный документооборот схема. Схема работы СЭД на предприятии.

Схема электронного обмена. Схема работы системы электронного документооборота. Электронный документооборот схема работы. Схема электронного документооборота в 1с. Схема взаимодействия электронный документооборот.

Схема электронного обмена. Электронный документооборот схема работы. Схема электронного документооборота в 1с. Схема внешнего электронного документооборота. Схема работы электронного документооборота в организации.

Схема электронного обмена

Схема электронного обмена. Схема подключения периферийных устройств к шине. Схема коммутатора процессор ,Оперативная память. Схемы функционирования устройств ввода. ОЗУ схема подключения ПК В блоке.

Схема электронного обмена. Ведение электронного документооборота Меркурий.

Схема электронного обмена

Схема электронного обмена. Адресация в системе электронной почты. Сервер электронной почты. Имя сервера в электронной почте. Имя почтового сервера.

Схема электронного обмена

Схема электронного обмена. Edi электронный документооборот. Edi схема документооборота. Электронный обмен данными. Схема работы Edi.

Схема электронного обмена. Электронный документооборот в таможенных органах. Структурная схема электронного декларирования. Схема электронного декларирования 2020. Процесс электронного декларирования схема.

Схема электронного обмена. Схема информационного обмена в организации. Схема обменов между информационными системами. Схема информационного обмена с третьими лицами. Схема потока обмена между системами.

Схема электронного обмена

Схема электронного обмена. Электронный обмен данными Edi. Edi электронный документооборот. Технология электронного обмена данными (Edi – Electronic data Interchange). Соглашение Edi.

Схема электронного обмена

Схема электронного обмена. Схема обменного взаимодействия. Взаимодействие как обмен. Взаимодействия как обмена картинки. Как взаимодействуют счета.

Схема электронного обмена. Edi схема документооборота. Edi схема взаимодействия. Edi электронный обмен документами. Взаимодействие системы документооборота с другими системами.

Схема электронного обмена. Схема метаболизма углеводов. Углеводный обмен в организме схема. Углеводного схема углеводного обмена. Схема белкового жирового углеводного обменов.

Схема электронного обмена

Схема электронного обмена

Схема электронного обмена. Схема обмена электронными сообщениями. Схема отправки электронными сообщениями. Алгоритм отправки электронного письма. Блок схема обмена информацией.

Схема электронного обмена. Electronic data Interchange схема. ИС обработки транзакций. Edi схема. Схема обработки транзакций.

Схема электронного обмена. Схема регистрации индивидуального предпринимателя. Органы регистрации юридических лиц. Регистрация в электронном виде. Каким органом регистрируется юридическое лицо.

Схема электронного обмена. Схема взаимодействия электронный документооборот. Функции электронных документов схема. Процесс Эдо схема. Схема взаимодействия электронный документооборот контур.

Схема электронного обмена. Схема обмена электронными сообщениями. Обмен XML файлами. XML основные понятия.

Схема электронного обмена

Схема электронного обмена. Электронный документооборот ФССП. Порядок обмена документами по договору. Схема основной документации по тура. ОЭД схемы.

Схема электронного обмена. Схема замещения входной цепи. Схема замещения цепи постоянного тока. Схема замещения электронного усилителя.. Источник питания на схеме замещения.

Схема электронного обмена

Схема электронного обмена. Электронный обмен данными Edi. Edi схема документооборота. Технология электронного обмена данными (Edi).. Задачи системы Edi.

Схема электронного обмена

Схема электронного обмена. Схема электронного документооборота. Схема взаимодействия электронный документооборот. Документооборот в налоговых органах. Схема документооборота с налоговой.

Схема электронного обмена. Схема электронного билетооформления. Проект как система схема. Схема электронная транспортная. Системы управления отправками в аэропорту.

Схема электронного обмена. Организация обмена данными. Электронный обмен данными. Электронный обмен данными Edi. Основные элементы системы обмена данными.

Схема электронного обмена. Edi схема. Edi электронный документооборот. Электронный обмен данными Edi. Edi схема взаимодействия.

Схема электронного обмена

Схема электронного обмена. Электронный документооборот схема DIRECTUM. Схема внешнего электронного документооборота. Схема документооборота в Директум. Схема электронного документооборота в организации пример.

Схема электронного обмена

Схема электронного обмена. Цифровые интерфейсы передачи данных. Электронный модуль передачи данных. Электронные устройства это определение. Электронное !устройство !данных.

Схема электронного обмена

Схема электронного обмена. Электронный обмен данными. Технология электронного обмена данными. Электронный обмен данными Edi. Обмен данными определение.

Схема электронного обмена. Документооборот схема DIRECTUM. DIRECTUM RX документооборот. Synerdocs схема. Внедрение Директум схема.

Схема электронного обмена. Схема организации сервиса. Схема информационного обмена. Схема сетей обмена информацией. Схема информационного обмена в организации.

Схема электронного обмена. Схема организации электронной почты. Электронная почта схема. Схема составления электронного письма. Схема передачи сообщений по электронной почте.

Схема электронного обмена

Схема электронного обмена. Технология электронного обмена данными. Электронный обмен данными Edi. Структура системы электронного обмена данными.

Схема электронного обмена

Схема электронного обмена

Схема электронного обмена. Система учета электронного документооборота. Электронный документооборот схема документов. Схема документооборота Эдо. Электоронныйдокументооборот.

  • Вперед Рассмотрение жалобы командиром
  • Назад Деловое письмо просьба о встрече образец

Новые страницы

7093

Акт о приеме передачи основных средств образец

Акт отбора проб и образцов для таможенной экспертизы

Биология девятый класс решебник

Битва при монжизаре картина

Фитнес клуб академия курск на клыкова

Где по русскому 8 класс зеленый учебник

Гдз по русскому языку 4 класс 2 часть упражнение 153

Характеристика для суда с места работы образец для женщин

Какао словосочетание с прилагательным

Какие механизмы лежат в основе формирования человеческих рас

Какие сиденья подойдут на приору

Калина кросс ларгус кросс сравнение

Каргат жд вокзал

Картинка 5в класс на заставку

Контурная карта 7 класс евразия обозначьте условную границу между европой и азией

Маленький патрик рисунок

Монтаж реечного потолка в ванной

Можно ли пропустить тренировку

Платья напрокат для беременных для фотосессии

Рябчики цветы фото

Схема приводного ремня нива шевроле без кондиционера

Схема района где

Средство для мытья посуды фейри

Труба стальная ду200

У волги какой привод

Уголок 100 100 5

Возражения на апелляционную жалобу образец

Все отели анапы

Запрессовка поршневого пальца ваз 21083

cdn.zecar.ru