Skip to content

Фотогалерея

  • Главная
  • Контакты

Ремонт турбины снятие и установка

Самостоятельный ремонт турбины - замена картриджа, ремкомплекта

Ремонт турбин в Киеве. Гарантия 6 месяцев на работу и запчасти.

СТГТ завершили капитальный ремонт газовой турбины Затонской ТЭЦ ...

Замена и ремонт турбины Опель Астра J 1.4 турбо — Opel-Center Москва

Диагностика и ремонт турбины + гарантия

Ремонт турбины дизельного двигателя, цена услуги, а также бензинового ...

Ремонт турбины - YouTube

Ремонт турбины дизельного двигателя в СПб

Ремонт турбины Мерседес Спринтер

Ремонт и методы диагностики турбины

ремонт турбины в казахстане - YouTube

Ремонт турбин в Киеве. Гарантия 6 месяцев на работу и запчасти.

Ремонт турбины своими руками - YouTube

Ремонт турбины на Хундай (Hyundai) | Компания ReStart

Ремонт турбины: основные признаки скорой поломки детали

Ремонт турбины с электронным блоком управления

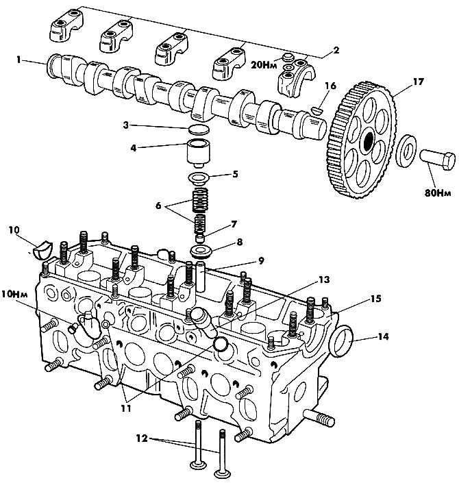
Снятие и установка головки блока цилиндров (Дизельные двигатели ...

Ремонт турбины своими руками

Установка турбины: описание, особенности, схема и отзывы

Снятие и установка распределительного вала (Бензиновые двигатели 1.6/1. ...

Ремонт турбин в москве - свежие фото с ремзоны!

Профессиональный ремонт турбин

Замена или ремонт турбины - Клуб любителей микроавтобусов и минивэнов

Ремонт Турбины за 2тыс. рублей. Гаражный ремонт турбины. Часть №1 - YouTube

Ремонт турбин

Ремонт турбины

Ремонт турбины с электронным блоком управления

Услуги ремонта турбин в Чебоксарах. Автосервис Вольтаж

Ремонт турбин

Снятие турбины Фольксваген Гольф 4 1.9 TDI - YouTube

Устройство современных паровых турбин

Выгодно ли заказывать ремонт турбины или лучше приобрести новую?

Ремонт турбины дизельного двигателя своими руками - Ремонт и ...

Установка турбины на маз - YouTube

У Вас проблемы с турбиной двигателя? Диагностика турбины - лучшее ...

  • Вперед Образец пароля для сбербанка онлайн варианты
  • Назад Есть на ночь после тренировки

Новые страницы

Алексахина

Что такое русада в спорте

Датчик кислорода ваз распиновка разъема

Электросхема ек 14

Европарковка схема

Гора базардюзю

Карта деулинское перемирие и столбовский мир

Кофта из травки спицами схемы для молодежи

Ланос не крутит стартер

Лечение нейролептического синдрома

Мастер по настройке телевизора цифровых каналов

Мкб 10 рак молочной железы

Не горят стоп сигналы

Определите по диаграмме сколько примерно учеников получили отметку 3 по итогам контрольной работы

Письмо ректору образец

Приключения ам няма путешествие во времени

Проект как укрыться от непогоды 9 класс

Прошение матроне московской образец

Протерм электрические котлы

Распределить виды спорта

Рассмотрите фотографию

Рассмотрите фотографию с изображением последствий опасного явления природы

Ренат с днем рождения прикольные картинки

Спорт24 ру футбол

Сухая штукатурка это

Тросик сантехнический

Улица заповедная москва

Узлы макраме для начинающих схемы плетения

Все острова на контурной карте

Звуковая схема 2.1

cdn.zecar.ru