Skip to content

Фотогалерея

  • Главная
  • Контакты

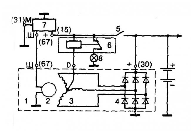
Реле рс 702 82.3777 распиновка

Реле ВАЗ заряда АКБ 2101-06, Ока РС-702

Реле РС 702 (стартера) « Каталог « Запчасти Москвич

Schema de branchement du relais : contact, 12V, intermediaire, principe ...

реле - рс 702 ваз 2105 - YouTube

Реле рс 711 01 схема подключения

Реле 702-3702600 \"MS\"

реле рс 950 н работает - YouTube

Реле РС 527 (свет) « Каталог « Запчасти Москвич

РС 950 12В (ЭМИ)` Реле указателей поворота (ан.571.3777) ЗИЛ, КАЗ, ЗАЗ ...

Купить Реле заряда аккумуляторной батареи ВАЗ классика, НИВА г.Калуга ...

575.3777 (РС 950 С): реле-прерыватель тока указателей поворота и ...

Простыми словами об \"аварийке\" — УАЗ 452, 2,3 л., 1980 года | тюнинг ...

Реле рс 523 схема подключения

Реле рс 702 ваз 2106 схема подключения проводов

Рс 527 реле для чего - Авто журнал

575.3777 (РС 950 С): реле-прерыватель тока указателей поворота и ...

Реле поворотов РС-951А К-700, К-701 | ООО «Агромаш» Ставрополь

Рс 702 реле схема подключения ваз 2106 карбюратор

Реле контроля зарядки аккумулятора РС 702 Таврия - РС702-3702000 ...

Установка и схема подключения реле поворотов РС 950 - YouTube

Стартерные реле РС-502 и РС-507Б. Конструкция, разница. — DRIVE2

Рс702 на ваз 2106 схема подключения: как проверить реле рс 702 на ...

Как подключить генератор ВАЗ 2106. Схема подключения генератора на ВАЗ ...

Реле регулятор от ВАЗ совместно с реле РС-702 | OPPOZIT.RU | мотоциклы ...

Реле сигнализатор (зуммер) РС 508-12в. | Зуммер

Реле РС-702 заряда РС702 купить в Минске. Цена от 22.00 BYN

Автоматическое выключение противотуманых фар (дополнительных фар) при ...

АгроЛавка - Реле стартера РС-534 732-3747

Рс702 на ВАЗ 2106 схема подключения: как проверить реле РС 702 на ...

Как подключить генератор ваз 2106. схема подключения генератора на ваз ...

Купить Реле РС-702 заряда Калуга, цены в интернет-магазине avtopasker.ru

Как подключить реле рс 507

Схема МТ 1036 с реле 121.3702 нужна помощь | OPPOZIT.RU | мотоциклы ...

Реле рс 80: РС80-МР - РЗА СИСТЕМЗ - ТеплоЭнергоРемонт

Реле указателя поворотов и аварийной сигнализации 24V (РС-410): продажа ...

  • Вперед Как называется образование 9 классов
  • Назад Телевизор витринный образец стоит ли покупать

Новые страницы

Большой утриш отдых

Что лучше java или c

Гдз по русскому 6 класс 2 часть упражнение 538

Гдз русский язык рабочая тетрадь часть 2

Какие факторы способствовали созданию антигитлеровской коалиции

Каким спортом нельзя заниматься

Картинки все растения из игры растения против зомби 1

Кран трехходовой

Квадратная корзинка из трикотажной пряжи крючком схема и описание

Митсубиси асх ярославль

Натулька красотулька с днем рождения картинки

Никольский храм в ишиме

Образец договора купли продажи товара между ип и юридическим лицом

Образец ходатайства о привлечении третьих лиц в гражданском процессе

Образец уведомления об отсутствии на рабочем месте

Однообразная трескотня убаюкивает как колыбельная

Пикачу голова рисунок

Реле рс 702 82.3777 распиновка

Ремонт айкос в казани адреса и телефоны

Ремонт под чистовую

Сгон 1 дюйм нержавейка

Система инсталляции для унитаза

Содержание рассказа астафьева фотография на которой меня нет

Танк 300

Томагавк 9010 не ставится на автозапуск

Тренер и девушка в спортзале

Ворота богини иштар картинки

Заключение стоматолога образец

Заявление об исправлении ошибок допущенных при определении кадастровой стоимости образец

Золотник топливной рампы ваз

cdn.zecar.ru