Skip to content

Фотогалерея

  • Главная
  • Контакты

Рецептура автошампуня бесконтактного

Рецептура Автошампуня 1к2-1к4 - Михаил Иванов - скачать на Wildberries ...

Купить рецепт производства бесконтактного автошампуня - №2

Рецептура, тех карта автошампуня Nano. Полный разбор компонентов.

Рецепт бесконтактного автошампуня Vortex Senza - YouTube

Химоза !!! Полный обзор работы бесконтактного автошампуня на мойке ...

Купить набор для производства автошампуня "Orion": оборудование, сырье ...

Рецептура. Автошампунь Для Бесконтактной Мойки — Orion

Рецепт торта "Мокко"

Отзыв о рецептуре автошампуня для бесконтактной мойки "Nano"

Компоненты для автошампуня оптом

2.2 Рецептура и калькуляция

Тест бесконтактного автошампуня. - YouTube

Медична рецептура посібник | Упражнения и задачи Фармакология | Docsity

Презентация на тему: "Surface Chemistry Europe Оптимизированные смеси ...

Канистра б/у пластиковая, из-под автошампуня, химически стойкая(можно ...

Сочная колбаса домашняя: украинская рецептура наших бабушек

Pin on recipe рецептура prescription Рецепты еды in 2024 | Key lime ...

«ТЕРМОМЕТРИКОН Бесконтактное измерение температуры тела посетителей» в ...

"Боевая рецептура". Онищенко о сверхсмертельном штамме коронавируса

Купить Кнопка инфракрасная для бесконтактного слива унитаза SENSOR ...

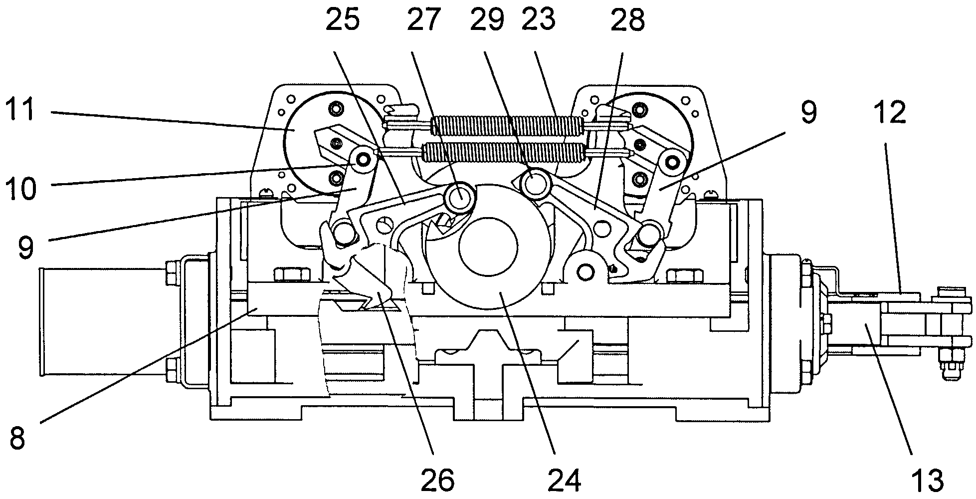
RU121216U1 - Электропривод стрелочный типа сп на базе бесконтактного ...

Магнитное трение – NoyanLab

Пицца с морепродуктами(ТТК8039) технологическая карта

Столешница «Celesta» 605 | RADOSTONE

Протеиновые Коктейли Своими Руками - 25 фото

Водка Tchaikovsky 0,7 л

Бренды

Как сделать автошампунь своими руками

Электрический котел Termica 7.5 кВт Electra - купить по выгодной цене в ...

Facebook

Водка Tchaikovsky 0,7 л

Протеиновые Коктейли Своими Руками - 25 фото

Емкость-контейнер однораз. для сбора острого инструментария 3 л

Создать мем "магическая сфера, спектра дота, спектр дота" - Картинки ...

Душевой шланг Oras 1500 мм 241004 00000017267 - выгодная цена, отзывы ...

  • Вперед Реферат урфу образец
  • Назад Схема темброблока на микросхеме

Новые страницы

25 На 30 рамка для картины

Автоматическая кнопка

Что такое атермальные стекла

Фитнес дешево

Гдз по русскому языку 5 класс упр 492

Исключительное право на промышленный образец признается и охраняется при условии

Как поменять насос гидроусилителя

Как рисовать руны схема

Какие вещества образуются при полном гидролизе белков

Картина домик в лесу зимой

Курорт в старой руссе

Лада xray пермь

На рисунке изображены два этапа измерения объема тела каков объем тела опущенного в измерительный 5

Отпросить ребенка из школы образец заявления

Парковка на треугольнике

Подключение замка зажигания москвич 412

Полосовая сталь 4х40

При резком торможении стук спереди

Приказ о передаче материальных ценностей в связи с увольнением образец

Разболтовка на шкода

Самый травмоопасный спорт

Схема бензола

Скорость передачи

Смешные картинки для standoff

Спортивный досуг это

Спортивное фото цена

Телефоны спортивных школ

Тренинг для роста

Вокзал картинки

Время зарядки автомобильного аккумулятора

cdn.zecar.ru