Skip to content

Фотогалерея

  • Главная
  • Контакты

Ne558

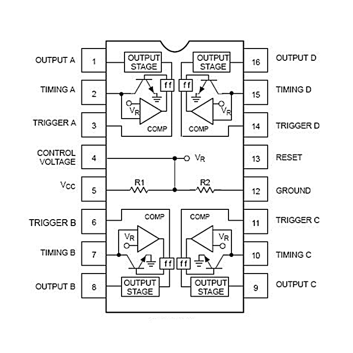
NE558 Quad Timer - Datasheet

Circuito Integrado NE558 - Eletro Parts

NE558 積體電路 Quad timer – 集賢科技

NE558 Quad Timer - Datasheet

NE558

NE558 – Apple II & II+ | ReActiveMicro.com

NE558 Quad Timer | ResiSTORE

NE558

4 Monostable multivibrator circuit ideals | ElecCircuit.com

1 uds/5 uds NE558C 16PIN NE558 encapsulación: DIP IC nueva|Circuitos ...

NE558 SAMSUNG INTEGRATED CIRCUIT. NOS ( New Old Stock ). 1PC ...

Układ NE558 oraz NE556 - jak dokładnie działa? - elektroda.pl

NE558_172954.PDF Datasheet Download --- IC-ON-LINE

5pcs/lot NE558N NE558 DIP 16 In Stock|Integrated Circuits| - AliExpress

NE558 Datasheet (PDF), Stock and Price, Fairchild Timer, Distributor

NE558 :: MikroPrinc

Circuito Integrado Ne558 NE558 | Kuantokusta

5pcs-DIP-16-NE558N-NE558-558N-NE556N-NE556-556N-DIP16-LTV-847-LTV847 ...

NE558 Quad Timer

Управление микросхемой NE558 - Технический форум

NE558D SOP-16 chip NE558 temporizador circuito integrado IC chip ...

NE558N NE558 DIP-16 : O P US $4.00 aquiencontrei.com.br

10PCS NE556N DIP14 NE556 DIP 556N DIP 14 NE558N NE558 NE556DR NE556DT ...

Управление микросхемой NE558 - Технический форум

วงจรรวม DIP-16 558N NE558 NE558N 5 ชิ้น | Shopee Thailand

Delivery.NE558D NE556D NE558 Free new spot integrated circuit chip ...

NE558 DIP16 – CHIPkin

10PCS NE556N DIP14 NE556 DIP 556N DIP-14 NE558N NE558 NE556DR SOP-14

10 tamanhos ne558d ne558 558d sop 16 novo produto original|Relés ...

NE556 Dual timer Datasheet pinout and example circuits | ElecCircuit ...

NE558 - YouTube

  • Вперед Facing your phobias instead of avoiding
  • Назад Договор купли продажи с неотделимыми улучшениями образец сбербанк

Новые страницы

3 Месяца тренировок

Чехол для телефона на заказ

Черепашка амигуруми схема

Cm6616s hdmi vga схема

Dc41 00049a схема

Достопримечательности г тольятти

Доверенность на получение тмц образец

Фитнес хаус расписание занятий ветеранов санкт петербург

Габариты калины седан

Гдз по русскому языку 2 класс учебник 2 часть нечаева бесплатно ответы

Http спортбокс

Как разобрать багажник лада гранта лифтбек

Кенши оружие с картинками

Клапана регулировка

Лидия ивановна с днем рождения картинки

Метро 15 лет

Не освещается панель приборов на ваз 2114

Неисправности топливного насоса ваз 2110

Обозначьте главные транспортные магистрали зарубежной европы контурные карты

Обучение заточке маникюрного инструмента в москве

Перечень газоопасных работ на опо образец

Сборник грамматических упражнений starlight 2

Схемы видеоплееров

Совместимость антенных модулей томагавк

Ток утечки калина

Тяжелой воды

Уаз патриот ульяновск

Учение с увлечением изложение

Уральские авиалинии в домодедово стойки регистрации на схеме

Выписка из книги продаж для освобождения от ндс образец

cdn.zecar.ru