Skip to content

Фотогалерея

  • Главная
  • Контакты

На столе 3 ножниц

Шьем. Как выбрать портновские ножницы. Мой опыт особенно полезен ...

Набор ножниц 3 шт. по цене 282 ?/шт. купить в Москве в интернет ...

Набор ножниц профессиональный для шитья 3 штуки - купить с доставкой по ...

На столе 3 коробка спичек, задача на логику

Ножеточка универсальная пластик 3 в 1 сталь, керамика - купить в ...

3 ножниц стоковое фото. изображение насчитывающей жених - 1264416

Купить Маникюрный набор, толкатель для удаления кутикулы, машинка для ...

Робототехника на столе №3 - YouTube

на столе 3 куска пиццы - YouTube

Ножницы прямые INARI IS-06 Золото 6,0 дюймов Больше золота! Больше ...

3 ножниц набором купить в Омске цена 240 Р на DIRECTLOT.RU - Товары для ...

4 ножниц набором СССР лот2 купить в Омске цена 330 Р на DIRECTLOT.RU ...

Нож бабочка на столе - 91 фото

Карта мира на нашем столе - 96 фото

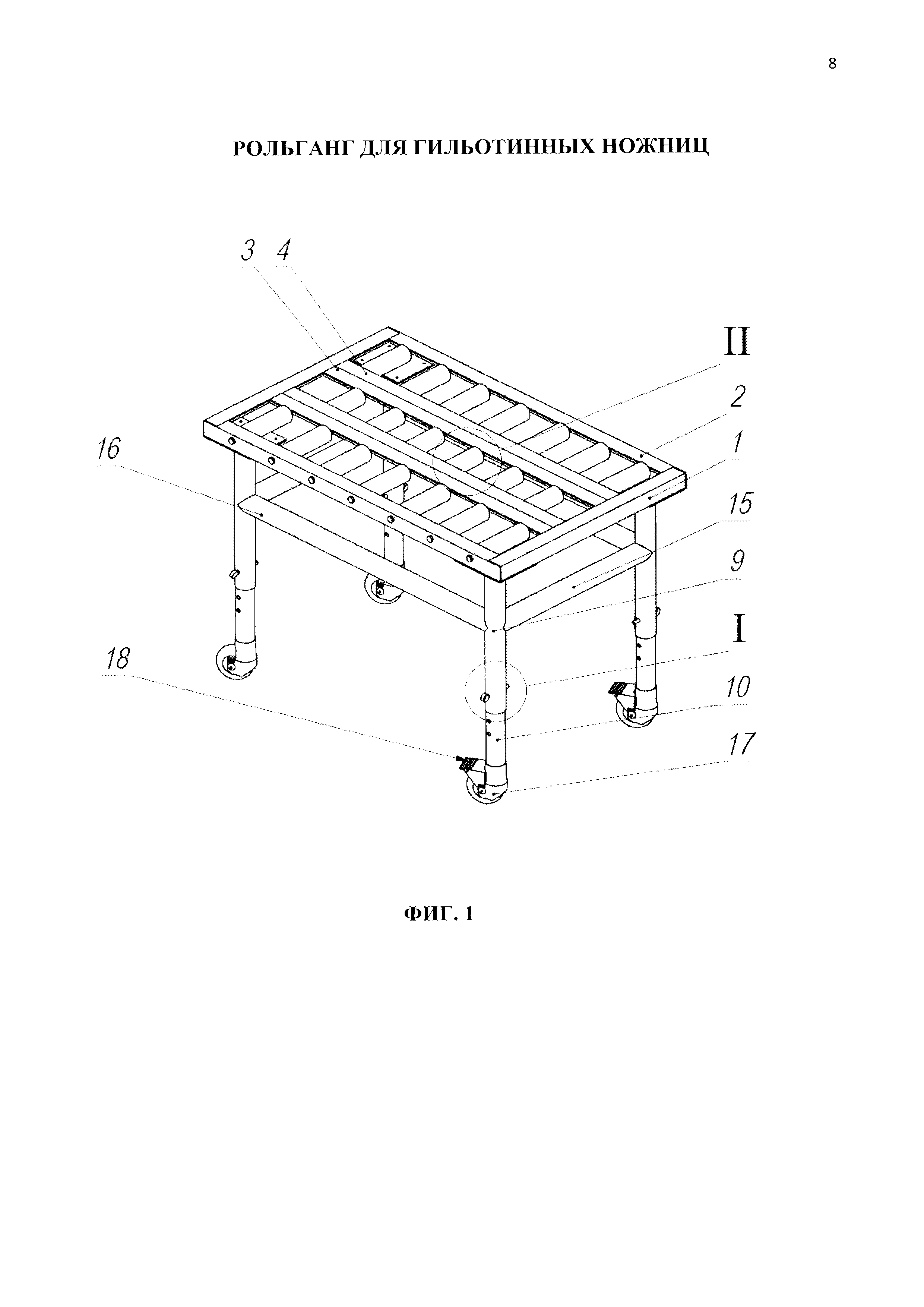
Стол для ножниц гильотинных ножниц - 81 фото

Стол для ножниц гильотинных ножниц - 81 фото

Презентация на тему: "Альбом «Воспоминание»в технике скрапбукинг ...

Заточка ножниц

Шкатулка для хранения ножниц "Мария" – купить оптом в интернет-магазине ...

Шкатулка для хранения ножниц "Мария" – купить оптом в интернет-магазине ...

Шкатулка для хранения ножниц "Модистка" – купить оптом в интернет ...

Шкатулка для хранения ножниц "Портной" – купить оптом в интернет ...

Точилка для ножей и ножниц профессиональная - купить в интернет ...

Набор ножниц в каждый дом 4 штуки - купить с доставкой по выгодным ...

Виды ножниц и правильность выбора | Швейная мастерская

Набор кухонных ножниц Промо - купить на официальном сайте Ivlev Chef

Нож бумагорезательный плоские 1000х100х10

Золотые ножницы Стоковое Изображение - изображение: 32757501

Ножницы складные дорожные / для рукоделия / для рыбалки - купить с ...

Труд.разработка урока - Начальные классы - Презентации - 1 класс

Точилка для ножей и ножниц электрическая 8 Вт - купить в интернет ...

Стойка салонных ножниц органайзера парикмахера - купить с доставкой по ...

Ножницы кухонные купить недорого. Ножницы высокого качества

  • Вперед Отломить от словосочетания
  • Назад Грузоперевозки чайковский

Новые страницы

133Ла8

Анализ стихотворения ахматовой не с теми я кто бросил землю кратко

Автошкола форвард перово

Брелок на английском

Части тела на старославянском языке картинки

Да ну нах картинки

Довольный лев картинки

Электросхема киа соренто 2005

Гдз третий класс учебник вторая часть русский язык

Happypik ru картинки доброго утра

Как распознать фосфат натрия

Как снять бензонасос на гранте

Какие чувства испытывает мцыри и как они его характеризуют огэ литература

Королла или фокус

Кот подтягивается рисунок

Лечение зверобоем противопоказания

На столе 3 ножниц

Плавают обороты на ваз 2110 инжектор

Подключение регистратора к плафону освещения калина

Правила разворота на перекрестке с разделительной полосой в картинках

Протокол калибровки манометра

Распиновка эбу 1.5 4

Растения схема 3 класс

Ремонт рустов расценка

Сколько вынашивают шиншиллы

Слепой пес

Спортсмены у которых особенно развиты ловкость выносливость

Учебник по математике страница 54

Уголок 40х4

Вектор некст схема

cdn.zecar.ru