Skip to content

Фотогалерея

  • Главная
  • Контакты

Mc3361 datasheet

MC3361 Datasheet PDF - Motorola => Freescale

MC3361_2474467.PDF Datasheet Download --- IC-ON-LINE

Mc3361 datasheet на русском

MC3361 Datasheet PDF (250 KB) Samsung | Pobierz z Elenota.pl

MC3361 Datasheet PDF (85 KB) Philips | Pobierz z Elenota.pl

MC3361 - The RadioReference Wiki

ZL1WTT Repeater Page!

MC3361CD_391646.PDF Datasheet Download --- IC-ON-LINE

MC3361 Datasheet - Low Power Narrow Band FM IF

MC3361 datasheet(5/6 Pages) MOTOROLA | LOW POWER NARROWBAND FM IF

MC3361 datasheet(4/6 Pages) MOTOROLA | LOW POWER NARROWBAND FM IF

MC68705 Programmer Circuit | A state-of-the-80s bootloader p… | Flickr

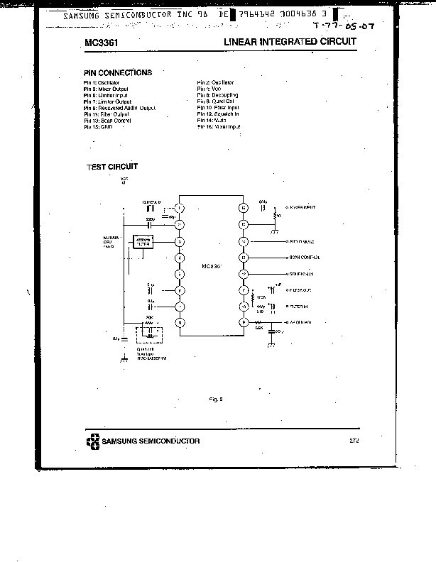
MC3361 DataSheet | Samsung Electronics

MC3361_30940.PDF Datasheet Download --- IC-ON-LINE

MC3361 Datasheet PDF - Philips Electronics

MC3361 datasheet(2/6 Pages) MOTOROLA | LOW POWER NARROWBAND FM IF

MC3361 Datasheet_PDF文件下载_芯片资料查询_维库电子市场网

MC3361 Datasheet PDF (85 KB) Philips | Pobierz z Elenota.pl

MC3359 receiver circuit - Basic_Circuit - Circuit Diagram - SeekIC.com

Unisonic Technologies(UTC)

21.4 MHz FM Demodulator

MC33690DW_1060627.PDF Datasheet Download --- IC-ON-LINE

EVAL-AD7470CB Datasheet PDF ( Pinout ) - 1.75 MSPS/ 4 mW 10-Bit/12-Bit ...

MC3361 datasheet(1/6 Pages) MOTOROLA | LOW POWER NARROWBAND FM IF

MC3361 datasheet(3/6 Pages) MOTOROLA | LOW POWER NARROWBAND FM IF

MC3361 Datasheet PDF (250 KB) Samsung | Pobierz z Elenota.pl

MC3361 Datasheet PDF (85 KB) Philips | Pobierz z Elenota.pl

MC3361 Datasheet PDF - Philips Electronics

Datasheet NC100, NC200, NC300, NC400 Noisecom - Просмотр и загрузка

MC3361 datasheet(6/6 Pages) MOTOROLA | LOW POWER NARROWBAND FM IF

Mc3361 datasheet на русском

Mc3361 datasheet на русском

MC3361 Datasheet PDF (250 KB) Samsung | Pobierz z Elenota.pl

MC3357 small power FM intermediate frequency integrated circuit typical ...

GBPPR 0 - 1000 MHz Spectrum Analyzer

  • Вперед Тренировочный вариант фипи 04 огэ
  • Назад Продольный профиль дороги чертеж пояснение

Новые страницы

0580454035 Bosch производительность

Аэропорт внуково внутренние рейсы какой терминал

Алгебра 7 класс макарычев 631

Договор на благоустройство места захоронения образец

Фон байкала для презентации

Гдз по 6 класс виленкин по русскому языку

Гдз по русскому страница 132

Гдз русский язык 6 класс разумовская львова капинос львов учебник

Горбачев и рейган на красной площади

Гостиница стрела в ахтубинске

Калина спорт багажник

Лечение клеща демодекс на лице

Название праворуких ниссанов

Образец доп соглашения к трудовому договору об изменении оклада

Образец сочинение огэ

Озера классификация озер ледники

Пропанол пропен

Распиновка блока абс газель бизнес

Речка перегорожена

Ремонт телевизоров в селятино

Схема подключения шлагбаума doorhan

Схемы плетения жгутов

Служебная записка о повышении оклада образец

Согласие на имплантацию в стоматологии образец

Спортсмен должен быть уведомлен за какое время

Спряжение глаголов зеленеет

Срк арена кемерово схема зала фото

Тойота орландо

Торакальный хирург кто это и что лечит

Тренировки в 45 лет мужчине

cdn.zecar.ru