Skip to content

Фотогалерея

  • Главная
  • Контакты

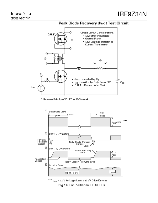
Irf9z34n datasheet

Irf9Z34N datasheet: IRF9Z34N Datasheet | International Rectifier – i ...

Купить p канальный mosfet irf9z34n 19a/55v/0.1 ом/68w to-220 в интернет ...

IRF9Z34N Datasheet PDF (108 KB) International Rectifier | Pobierz z ...

IRF9Z34N - International Rectifier - datasheet

IRF9Z34N MOSFET Pinout, Equivalent, Features, Specs, Applications and More

IRF9Z34N 19A 55V P-Channel Power MOSFET - Datasheet

IRF9Z34N datasheet(7/8 Pages) IRF | Power MOSFET(Vdss=-55V, Rds(on)=0 ...

IRF9Z34N P-Channel Mosfet - Udvabony.com - Electronics, Sensors ...

IRF9Z34N Datasheet PDF (108 KB) International Rectifier | Pobierz z ...

IRF9Z34N Datasheet - Power MOSFET

Irf9z34n datasheet на русском

IRF9Z34N 19A 55V P-Channel Power MOSFET - Datasheet

Datasheet IRF9Z34N | PDF

IRF9Z34N datasheet(1/8 Pages) IRF | Power MOSFET(Vdss=-55V, Rds(on)=0 ...

IRF9Z34N MOSFET MOSFT PCh -55V -17A 100mOhm 23.3nC

Irf9Z34N datasheet: IRF9Z34N Datasheet | International Rectifier – i ...

IRF9Z34N Datasheet PDF (108 KB) International Rectifier | Pobierz z ...

IRF9Z34N Datasheet PDF (108 KB) International Rectifier | Pobierz z ...

IRF9Z34N Datasheet PDF (108 KB) International Rectifier | Pobierz z ...

IRF9Z34N Datasheet PDF (108 KB) International Rectifier | Pobierz z ...

IRF9Z34N – P-Channel Power MOSFET – 19A/55V | Artekit Labs

IRFZ44N Datasheet, Pinout, Features, Equivalents & Applications - The ...

IRF9Z34N Datasheet PDF (108 KB) International Rectifier | Pobierz z ...

IRF9Z34N,IRF9z34NPBF,IR原装现货场效应管供应_电子元器件_维库仪器仪表网

Tìm hiểu IRFZ34N

全新现货 IRFZ24N IRFZ34N IRFZ44N IRF9Z24N IRF9Z34N IRF9Z44N_虎窝淘

IRF9Z34N Datasheet PDF (108 KB) International Rectifier | Pobierz z ...

全新现货 IRFZ24N IRFZ34N IRFZ44N IRF9Z24N IRF9Z34N IRF9Z44N_虎窝淘

全新现货 IRFZ24N IRFZ34N IRFZ44N IRF9Z24N IRF9Z34N IRF9Z44N_虎窝淘

10db/tétel IRF9Z34N IRF9Z34 IRF9Z34NPBF MOSFET MOSFT PCh -55V -17A ...

全新原装 IRFZ24N IRFZ34N IRFZ44N IRF9Z24N IRF9Z34N IRF9Z44N-淘宝网

IRFZ44N, Datasheet PDF, Specification, Circuits, Pinout,, 59% OFF

What is the pinout of the IRF9Z34N p channel mosfet? The datasheet did ...

IRF9Z34N

5pcs IRF9Z34N IRF9Z34NPBF 9Z34N MOSFET P-CH 55V 19A NEW | eBay

  • Вперед Маракулин фролло
  • Назад Вывоз ванны бесплатно

Новые страницы

Ботокс через сколько можно заниматься спортом

Доброе утро милая наташенька картинки

Experience the amazing sights and sounds

Где снять секретки

Gta 5 знаки ленни эйвери карта

Художественная школа в крылатском

Как переключаются передачи на газели

Как правильно валить боком на переднем приводе

Капельный полив своими руками из полипропиленовых труб на весь огород фото чертежи

Корбетт джим

Красиво занимается спортом

Лечение гемотрансфузионного шока

Лесной экспорт

М кухня ремонт

Международные спортсмены

Музей электрического транспорта санкт петербурга

Нижний парк зимой

Обвинительная речь прокурора в суде образец текста

Окружающий мир 3 класс учебник 2 часть школа россии гдз

Откуда отрастают придаточные корни

Простые рисунки аниме тянки

Рассмотрите изображение и выполните задание укажите князя изображенного на иллюстрации 1 олег вещий

Регулируем тормоза на велосипеде

Реклама интернета

Схема pc

Схема подключения тумблера с подсветкой 3 контакта

Sotis online ru натальная карта с расшифровкой онлайн бесплатно без регистрации на русском бесплатно

Уюта и тепла вашему дому картинки с пожеланиями

Xsd схема

Замена фильтра паджеро спорт

cdn.zecar.ru