Skip to content

Фотогалерея

  • Главная
  • Контакты

Цапфа уаз чертеж

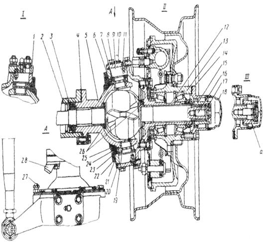
Чертежи конструкции цапфы механизма переднего моста автомобиля ГАЗ

Цапфа Уаз – купить в интернет-магазине OZON по низкой цене

Цапфа переднего моста УАЗ. MetalPart

Цапфа моста УАЗ Патриот, Хантер и др, 69-2304080, для установки на ...

Цапфа УАЗ-2360 "Профи" - купить по доступным ценам в интернет-магазине ...

Цапфа УАЗ с маслосгонными каналами — купить по цене 4 250 руб. в ...

Цапфа поворотного кулака уаз чертеж

Разработать технологический процесс восстановления цапфы автомобиля МАЗ ...

Схема подключения гур уаз патриот

00-000.06.12.12.17 - Цапфа - чертеж

Цапфа Уаз в Части в гр. Кърджали - ID42876357 — Bazar.bg

Рама УАЗ 452, 3741, 2206, 3909, 3962, 452 (дв. карбюратор) / 3741 ...

Уаз цапфа (48 фото) - фото - картинки и рисунки: скачать бесплатно

Уаз цапфа (48 фото) - фото - картинки и рисунки: скачать бесплатно

Чертеж схема уаз 469 - фото

Цапфа поворотного кулака УАЗ - купить Цапфа поворотного кулака УАЗ по ...

Чертежи детали "цапфа" автомобиля МАЗ-64221 с разработкой технологии ее ...

Чертежи конструкции цапфы механизма переднего моста автомобиля ГАЗ

Уаз цапфа (48 фото) - фото - картинки и рисунки: скачать бесплатно

Поворотная цапфа КамАЗ схема (Большое количество фото) - avtozahod.ru

Уаз цапфа (48 фото) - фото - картинки и рисунки: скачать бесплатно

Передний мост автомобилей УАЗ (Тимкен). Устройство моста УАЗ ...

Цапфа Уаз в Части в гр. Кърджали - ID42876357 — Bazar.bg

Уаз цапфа (48 фото) - фото - картинки и рисунки: скачать бесплатно

Фото Схема Уаз Буханка – Telegraph

Mini Trucks 4x4, Big Trucks, Cars Trucks, Malta Bus, Toyota Harrier ...

Чертеж УАЗ-452, общий вид | Чертежи dwg cdw

Ремонтная цапфа заднего моста УАЗ

Схема Уаз Картинки – Telegraph

Уаз цапфа (48 фото) - фото - картинки и рисунки: скачать бесплатно

Реферат: Устройство автомобиля UAZ Patriot - BestReferat.ru

Уаз цапфа (48 фото) - фото - картинки и рисунки: скачать бесплатно

Цапфа УАЗ Нижний Новгород, Москва | Автогидравлика

Чертежи дифференциала автомобиля УАЗ-3163 Патриот

Схема электропроводки УАЗ-469 (Патриот), замена проводки своими руками ...

  • Вперед Рп1 57
  • Назад Установить газовый баллон на даче

Новые страницы

Андрей степенин

Батарейка в ключ рыбка мерседес

Бытовой жанр рисунок легкий карандашом для начинающих

Дождь картинки с надписями со смыслом

Фитнес клуб долгопрудный

Фольксваген пассат мощность двигателя

Гдз по алгебре 7 класс макарычев номер 131

Гдз по математике 2 класс моро тетрадь

Гдз пятый класс русский язык баранов

Химчистка стульев в офисе

Как написать объявление о покупке квартиры образец для расклейки

Как подтянуть тормоза на велосипеде

Как снять панель приборов ваз 2110

Карта осадков сириус сочи

Карта схема заповедника

Картинка огурец для детей на прозрачном фоне для детей

Люфт передней полуоси

Маршрут 15 улан удэ схема

Отказ от пролонгации договора образец

Перевозка уксусной кислоты автотранспортом

Рено каптур фото

Схема маршрутов иваново

Снятие помпы уаз буханка

Студия разработки мобильных приложений

Театры в ростове на дону

Технология контекстного обучения это

Удаление татуажа век ремувером

Задвижка ду 65 фланцевая

Заявление на оплачиваемый отгул образец

Знайка из незнайки картинки

cdn.zecar.ru