Skip to content

Фотогалерея

  • Главная
  • Контакты

Блок укв 2 схема

Блок укв 2 схема. Меридиан 210 УКВ блок fm. Блок УКВ приемника Меридиан 209. Меридиан 210 радиоприемник перестройка УКВ. УКВ-1-02с схема.

Блок укв 2 схема. Блок УКВ приемника океан 214. Блок УКВ-2-01е. Блок УКВ-2-2-Е монтажная. Схема блока УКВ океан 209.

Блок укв 2 схема. Блок УКВ радиоприемника океан 209. Принципиальная схема радиоприемника океан 209 Горизонт. Радиоприемник океан 209 схема принципиальная. Схема приемника океан 209.

Блок укв 2 схема. Схема блока УКВ Ригонда 102. Блок УКВ ИП 8.4. Блок УКВ ИП-2а схема. Схема лампового приемника с блоком УКВ.

Блок укв 2 схема. Блок УКВ приемника Казахстан. Радиоприемник Казахстан 2 блок УКВ. Схема лампового блока УКВ. Ламповый приемник Казахстан схема.

Блок укв 2 схема. Печатная плата блока УКВ ип2. Блок УКВ ИП 2 монтажная схема. УКВ-ИП-2 схема. Блок УКВ-ИП-2-монтажная плата.

Блок укв 2 схема. УКВ блок УКВ-2-01с схема. УКВ-1-2с схема. Блок УКВ Ишим 003 схема.

Блок укв 2 схема

Блок укв 2 схема. Блок УКВ-1-03с схема. УКВ-2-2-Е-01 схема. Блок УКВ 2-1с схема. Блок УКВ-Е схема.

Блок укв 2 схема. Блок УКВ ИП 2. Блок УКВ Ригонда 102. УКВ-ИП-2 переделка. УКВ-ИП-2а переделка в fm.

Блок укв 2 схема. УКВ блок УКВ-2-01с схема. Блок УКВ 2-1с схема. Океан 214 схема УКВ 2 01с. Схема блока УКВ-2-01с океан 214.

Блок укв 2 схема. Блок УКВ VEF 214. Схема УКВ блока ВЭФ 214. VEF 214 схема УКВ. ВЭФ 221 блок УКВ.

Блок укв 2 схема

Блок укв 2 схема

Блок укв 2 схема. Блок УКВ Ленинград 006. Ленинград 006 перестройка УКВ. Ленинград 002 перестройка УКВ В ФМ. Ленинград 006 перестройка УКВ на ФМ.

Блок укв 2 схема. Схема УКВ блока 2-2-е-03. Блок УКВ-2-2-Е. Схема радиоприемник океан-209 схема блока УКВ. Блок УКВ-2-2-Е схема подключения.

Блок укв 2 схема. Блок УКВ 2-1с схема. УКВ блок УКВ-2-01с схема. УКВ-1-2с схема. Схема блока УКВ-1-1с Рига 104.

Блок укв 2 схема. Перестройка блока УКВ-ИП-2 на. Блок УКВ ИП 2. Блок УКВ ИП-2а схема. Блок УКВ ИП 8.4.

Блок укв 2 схема. Урал-авто-2 схема УКВ блока. Схема блока УКВ Ригонда 102. Ригонда 102 схема переделка УКВ на ФМ. УКВ блок радиолы Беларусь 101.

Блок укв 2 схема. Блок УКВ 2-1с схема. Блок УКВ 3-1 схема. УКВ блок УКВ-2-01с схема. УКВ блок "УКВ-1-05с".

Блок укв 2 схема. Блок УКВ 2-1с схема. УКВ-1-02с схема. Блок УКВ-2-01с схема. Блок УКВ-1-02с схема.

Блок укв 2 схема

Блок укв 2 схема

Блок укв 2 схема. Блок УКВ-2-01с перестройка на ФМ УКВ блока океан 214. Океан 222 перестройка на ФМ УКВ блока. Океан 222 перестройка УКВ на fm схема. Океан-209 перестройка УКВ на fm схема подключения.

Блок укв 2 схема. Блок УКВ океан 205. Блок УКВ радиоприемника океан 209. Океан 214 блок УКВ-С плата. Схема блока УКВ радиоприемника океан 209.

Блок укв 2 схема. Блок УКВ-2-01с схема. - Блок УКВ-2-08е. Урал-авто-2 схема УКВ блока. Блок УКВ-1-05с схема.

Блок укв 2 схема. Схема электрическая принципиальная океан 214 Селена. Океан 214 схема переделка УКВ на fm. Океан 214 схема УКВ 2 01с. Океан-214 перестройка УКВ на fm схема.

Блок укв 2 схема

Блок укв 2 схема. Рига 103 стерео схема. Схема блока УКВ-1-1с Рига 104. Радиоприёмник Рига 103 схема. Рига 103 блок УКВ схема.

Блок укв 2 схема. Блок УКВ 2-2-Е перестройка на ФМ. Океан 205 схема блока УКВ. Блок УКВ океан 209 перестройка. Блок УКВ океан 209.

Блок укв 2 схема

Блок укв 2 схема. УКВ 2 01с переделка на ФМ. Перестройка блока УКВ 2-2-Е. Блок от океан 209 (УКВ 2-2-Е). Блок УКВ океан 209 УКВ 2.2Е 01.

Блок укв 2 схема. Океан 214 блок УКВ-2-01е. Блок УКВ океан 214. Блок УКВ Селена в215. Океан-214 перестройка УКВ на fm.

Блок укв 2 схема. Ореанда 204 схема. Ореанда РМ-204с схема. Схема магнитолы Аэлита РМ-204с. Усилитель Аэлита РМ-204с схема.

Блок укв 2 схема. Схема лампового приемника с блоком УКВ. УКВ блок лампового приемника. Блок УКВ ИП-2а схема. УКВ приемник на УПЧЗ-1м.

Блок укв 2 схема. Блок УКВ 2-1с схема. УКВ-2-2-Е-02 схема подключения. УКВ 2 01с схема подключения. УКВ-1-2с схема.

Блок укв 2 схема. Схема блока УКВ Ригонда 102. УКВ-ип2 перестройка блока УКВ ип2 на ФМ. УКВ блок лампового приемника. Перестройка блока УКВ-ИП-2 на.

Блок укв 2 схема. Океан 205 схема блока УКВ. Блок УКВ радиоприемника океан 209. Океан 209 схема УКВ. Схема блока УКВ радиоприемника океан 209.

Блок укв 2 схема. Блок УКВ VEF 214. VEF 214 схема УКВ. Блок УКВ 2 08с схема. Схема УКВ блока ВЭФ 214.

Блок укв 2 схема. Блок УКВ приемника океан 214. Схема блока УКВ приёмника океан214. Схема блока УКВ-1-02с схема. Перестройка УКВ океан 214 блок УКВ-1с.

Блок укв 2 схема

Блок укв 2 схема. Блок УКВ-С схема. Блок УКВ 2-1с схема. Блок УКВ-2-01с схема. УКВ-1-2с схема.

Блок укв 2 схема. Радиола Урал 114 схема электрическая. Урал 112 блок УНЧ. Радиола Урал 112 схема электрическая. Радиола Урал 111 схема УНЧ.

Блок укв 2 схема. Блок УКВ приемника Урал-авто 2. Урал-авто-2 схема УКВ блока. Схема приемника Урал авто 2. Схема радиоприемника Урал авто.

Блок укв 2 схема

Блок укв 2 схема. Fm блок УКВ-1-05е. УКВ-3-03е блок УКВ. УКВ-1-1е. УКВ-1-03е.

Блок укв 2 схема. Океан 209 схема электрическая принципиальная. Схема блока УКВ океан 209. Схема УКВ блока океан 222. Схема радиоприемника океан 209.

Блок укв 2 схема. Радиоприемник Казахстан 2 блок УКВ. Блок УКВ 7.103.041. Радиоприемник салют 001 схема блока УКВ. УКВ-2-1с перестройка на 88-108 МГЦ.

Блок укв 2 схема. Перестройка блока УКВ-ИП-2 на. Схема блока УКВ Ригонда 102. Радиоприемник ламповый Урал 112 блок УКВ. Схема лампового приемника с блоком УКВ.

Блок укв 2 схема. Блок УКВ океан 205. УКВ блок океан 209 плата. Блок УКВ радиоприемника океан 209. Схема блока УКВ океан 209.

Блок укв 2 схема. Перестройка блока УКВ-ИП-2 на. Схема лампового УКВ приемника на ФМ. Схема лампового приемника с блоком УКВ. Радиоприемник салют 001 схема блока УКВ.

Блок укв 2 схема

Блок укв 2 схема

Блок укв 2 схема. Радиоприемник Казахстан 2 блок УКВ. Блок УКВ 2-2-Е перестройка на ФМ. Блок УКВ радиоприемника океан 209. Океан-205 перестройка УКВ на fm.

Блок укв 2 схема. Блок УКВ океан 205. Океан 205 схема блока УКВ. Блок УКВ приемника океан 205. Схема блока УКВ океан 209.

Блок укв 2 схема. УКВ блок УКВ-2-01с схема. УКВ-2-01с перестройка УКВ на fm схема. Блок УКВ-1-02с схема. Блок УКВ 1 05с схема перестройка.

Блок укв 2 схема. Блок УКВ приемника океан 214. Блок УКВ океан 209. Океан 214 блок УКВ-2-01е. Океан 209 схема УКВ.

Блок укв 2 схема. Блок УКВ приемника Урал-авто 2. Радиоприёмник Урал авто 2 схема. Радиоприёмник Урал авто 2 схема УНЧ 201. Приемник Урал авто 2 схема подключения.

Блок укв 2 схема

Блок укв 2 схема. Схема радиоприемник океан-209 схема блока УКВ. Блок УКВ 2-1с схема. УКВ блок "УКВ-1-05с". Блок УКВ 1-02с перестройка.

Блок укв 2 схема. УКВ блок лампового радиоприемника схема. Блок УКВ ИП 2 схема принципиальная. Урал 112 блок УКВ схема. Ламповый приёмник Урал 111 УКВ на ФМ.

Блок укв 2 схема. Схема УКВ блока ВЭФ 214. Эл.схема магнитолы VEF-260 Sigma. Блок УКВ-2-08е блока BVR-01. - Блок УКВ-2-08е.

Блок укв 2 схема. УКВ блок УКВ-2-01с схема. Блок УКВ-1-1с схема. Тюнер Элегия 106 ,блок УКВ. Блок УКВ Элегия 102.

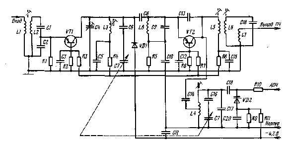
Блок укв 2 схема. Схема блока УКВ океан 209.

Блок укв 2 схема

Блок укв 2 схема. Радиоприемник Ишим 003 блок УКВ-1-05с. Блок УКВ 2-1с схема. Схема блока УКВ-1-02с схема. Блок УКВ-1-1с приемник.

Блок укв 2 схема. Меридиан 206 радиоприемник схема. Блок УКВ 2-1с схема. Схема приемника Меридиан 206. Схема приемника Меридиан 235.

Блок укв 2 схема

Блок укв 2 схема. Радиоприёмник Меридиан 235 перестройка УКВ на ФМ. Меридиан 210 УКВ блок fm. Меридиан 210 радиоприемник перестройка УКВ на fm. Перестройка УКВ-2-01с на ФМ.

Блок укв 2 схема

Блок укв 2 схема. Блок УКВ радиоприемника океан 209. Океан 209 схема УКВ. Блок УКВ океан 205. Блок УКВ 2-2-Е перестройка на ФМ.

Блок укв 2 схема. Схема УКВ океан 214. Блок УКВ Селена в215. Океан 214 схема УКВ 2 01с. Блок УКВ приемника океан 214.

Блок укв 2 схема. Блок УКВ приемника Урал-авто 2. Схема блока УКВ радиоприёмника Урал авто 2. Урал-авто-2 схема УКВ блока. Схема приемника Урал авто 2.

Блок укв 2 схема

Блок укв 2 схема. УКВ блок УКВ-2-01с схема. Блок УКВ-2-2-Е-01 схема. Схема блока УКВ океан 214 УКВ-2-01е. УКВ-1-2с схема.

Блок укв 2 схема. А-373б радиоприемник схема. Блок УКВ 2-1с схема. УКВ блок УКВ-2-01с схема. УКВ-1-2с схема.

  • Вперед Сто шадринск
  • Назад Как сделать выписку из книги учета доходов и расходов ип образец

Новые страницы

Что такое триумф в истории 5 класс

Что такое заочная экскурсия

Договор аренды помещения для кафе образец

Фенакистископ

Груженая баржа в суффиксе причастия пишется одна н огэ

Как легко нарисовать рыбку для детей

Как не облысеть

Как рисовать стрелки в автокаде

Канальное кондиционирование в квартире

Кардиограф схема

Карта осадков камышин онлайн

Лив тв прямые спортивные трансляции

На панели приборов горит ключ

Образец характеристики на опекаемого ребенка от классного руководителя

Образец заявления выход на работу из отпуска по уходу за ребенком до 3 лет

Песня опен кидс круче всех

Пежо 3008 размеры

Подключение пищалок к магнитоле

Расположение мест в междугороднем автобусе по номерам схема

Ремонт телефонов озерск

Семейная летопись образец

Схема открытки на новый год

Спортэкспрессс

Технологическая карта по обучению грамоте 1 класс школа россии 1 карта

Уведомление о включении в список инсайдеров образец

Wind of change scorpions

Японские волны тату эскизы

Замена сальника кулисы 2109

Запрос информации образец письма

Заявление на отгул по уходу за ребенком инвалидом образец

cdn.zecar.ru