Skip to content

Фотогалерея

  • Главная
  • Контакты

Ba5417

BA5417 Stereo Power Amplifier | audio wiring diagram

ROHM BA5417 Audio Amplifier IC, Through Hole, Price from Rs.245/unit ...

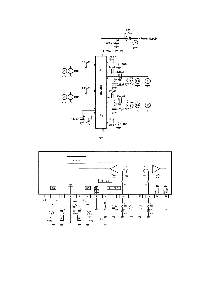
2×5 W Stereo Power Amplifier Circuit based on BA5417

BA5417 Stereo Power Amplifier Circuit |Koleksi Skema Rangkaian|Artikel ...

BA5417, BA5406 DIY Guide - 5W Stereo Single Chip Power Amp

Ba5417 Amplifier Circuit Diagram

ba5417

BA5417 ROHM Amplifier ICs - Jotrin Electronics

2×5 W Stereo Power Amplifier Circuit based on BA5417

DIY Amplifier with BA5417 end KOMITART LAY6 PCB format

How to make home subwoofer amplifier (BA5417) | Subwoofer amplifier ...

BA5417 Datasheet (PDF Download) 1/13 Page - ROHM Semiconductor

BA5417 datasheet - ROHM Semiconductor offers a variety of Audio ICs,

BA5417 Datasheet (PDF Download) 4/13 Page - ROHM Semiconductor

BA5417 Original supply, US $ 0.5-0.71 , [Rohm] Rohm, BA5417 Supplier ...

BA5417 ROHM Amplifier ICs - Jotrin Electronics

pequeño amplificador estéreo de 5W + 5W por canal por canal con un chip ...

BA5417 datasheet(3/7 Pages) ROHM | High-output dual power amplifier

BA5417 - Rohm - Audio Power Amplifier, 5W x 2 @ 3Ohm, AB

ROHM BA5417 Audio Amplifier IC, Through Hole, Price from Rs.245/unit ...

Semiconductor: BA5417 (BA 5417) - POWER AMPLIFIER / 2X1.3W / 8E / 9V...

BA5417: Electronica USA

Teardown Tuesday: Altec Lansing Speaker — Vec.com

ROHM BA5417 Audio Amplifier IC, Through Hole, Price from Rs.245/unit ...

J-uzi) BA5417 IC BA5417 viral) | Shopee Philippines

BA5417 - Stereo power amplifier

BA5417, BA5406 5W Stereo Single Chip Power Amp

BA5417 datasheet(5/7 Pages) UTC | HIGH-OUTPUT DUAL POWER AMPLIFIER

BA5417, BA5406 DIY Guide - 5W Stereo Single Chip Power Amp

Rohm BA5417 |BUY, PRICE, DATASHEET | silion-ark

BA5417 - Stereo power amplifier

BA5417 Power Amplifier | How to make stereo amplifier | Make BA5417 ...

BA5417 - INTER-CHIP OLSZTYN - CZĘŚCI, AKCESORIA I PODZESPOŁY ELEKTRONICZNE

BA5417 усилитель >> недорого купить

ROHM Semi New and Original BA5417 in Stock IC HSIP-15 22+ package

  • Вперед Схема проводки на легковом прицепе
  • Назад Река матросовка

Новые страницы

Акт о передаче материальных ценностей от одного лица другому образец

Alc883 datasheet

Астрал 4

Черно белые картинки с надписями прикольные

Double sports

Электрическая схема шевроле лачетти

Физкультурно спортивный комплекс

Гдз по русскому страница 106 упражнение 223

Гдз русс 10

Графан

Как нарисовать акр 12 из стандофф 2

Как убрать люфт в шлицевом соединении кардана

Картинки много бухла

Ксерокс печать рядом со мной

Оценка ущерба квартиры

Осуществить реакции схемы которых даны

Парк на даманском острове в ярославле

Печка дует холодным туарег

Предлоги с глаголами пишется

Пропуски зажигания шевроле нива

Ремонт капота автомобиля

Рено логан при езде падает температура

Решение о крупных сделках образец

Схема черноморского крым

Схема коробка розетка выключатель лампочка

Суп из курицы и картошки рецепт

Тренинги для реабилитации

Труба сталь ст20

Усилитель мощности звуковой частоты схема

Ваз 2103 регулировка сцепления

cdn.zecar.ru