Skip to content

Фотогалерея

  • Главная
  • Контакты

An7420

SKEMA DECODER STEREO IC AN7420 ^__^ Gado Gado Tegal

ΟΛΟΚΛΗΡΩΜΕΝΟ ΚΥΚΛΩΜΑ AN7420AN7420

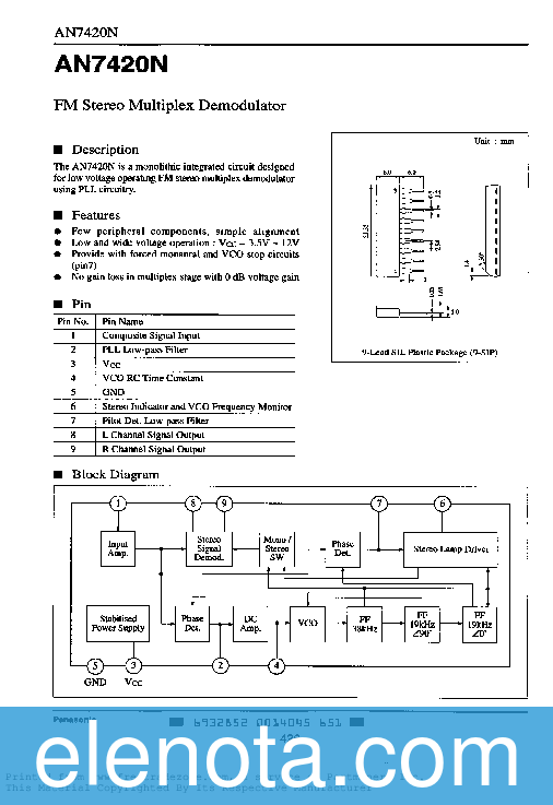
AN7420 - Communica [Part No: AN7420]

AN7420 Datasheet PDF (102 KB) Noname | Pobierz z Elenota.pl

Фм стереодекодер своими руками схема

AN7420 Datasheet PDF (102 KB) Noname | Pobierz z Elenota.pl

AN7420 INTEGRATED CIRCUIT

SKEMA DECODER STEREO IC AN7420 ^__^ Gado Gado Tegal

Stereo FM TUNER TA7343/KA2263/AN7420 | Shopee Philippines

AN7420

Silver Rain's Highland Holiday collection

AN7420 MATSUSHITA SIP9

IC AN7420 – Scientific Gate

AN7420 Matsushita Integrierte Schaltung Sip (Menge 5 ) | eBay

МАГНИТОЛиЯ - бумбоксы, магнитофоны и магнитолы!: Стерео декодер "Сделай ...

AN7420 / IC / DIP / 4 PIECES (qzty) | eBay

Jual Radio tuner FM stereo AN7420/TA7343 | Shopee Indonesia

AN7420 Datasheet PDF (102 KB) Noname | Pobierz z Elenota.pl

IC AN7420 FM Stereo Multiplex Demodulator | Lazada Indonesia

AN7420_7735814.PDF Datasheet Download --- IC-ON-LINE

Jual Radio fm stereo AN7420 / LA1260 | Shopee Indonesia

Radio fm stereo AN7420 // Super peka poll - YouTube

an7420电路图-千图网

Jual Radio tuner FM stereo AN7420/TA7343 | Shopee Indonesia

Jual IC AN7420 AN 7420 di Lapak fn teknika | Bukalapak

Jual An7420 An 7420 Matsushita Ic Ic Panasonic An Japan Pcmelebik54 ...

Radio tuner fm stereo AN7420 dengan display frequency // makin cakep ...

Jual kit radio fm stereo AN7420/TA7343 | Shopee Indonesia

Микросхема AN7420 - купить в Москве, цены на Мегамаркет

an7420电路图-千图网

an7420电路图-千图网

an7420电路图-千图网

Индикация режима стерео в FM-декодере на микросхеме AN7420. - Страна ...

KIT COM 05 PEÇAS - CIRCUITO INTEGRADO AN7420 MATSUSHITA - Gold News ...

an7420电路图-千图网

  • Вперед Лол куклы картинки для срисовки малышки и сестры
  • Назад Саркодовые и жгутиконосцы

Новые страницы

An7420

Донесение о пожаре по приказу 444 образец заполнения

Доспехи богатырей русских картинки для детей с названиями

Джанк фуд

Эффект лиса ресницы схема

Физическая карта великобритании на русском языке

Форма 0504220 образец заполнения для бюджетных учреждений

Гдз по русскому языку 9 класс ладыженская упр 304

Хонда цивик 2008 клиренс

Картридж полипропиленовый 10

Киа как расшифровывается

Лента 12 вольт

Неисправность коммутатора ваз 2107

Невидимые нити в природе схема

Образец заявления в верховный суд по гражданским делам образец

Общинное крестьянское хозяйство в индии китае и японии

Окружающий мир проект страны мира

Перевод последовательный

Преображеновка липецкая область карта

Распиновка разъёмов автомагнитол jvc

Расшифровка маркировки колес

Родному русскому языку 9 класс александрова

Схема электропроводки приоры

Схема последовательно соединенных резисторов

Снятие переднего бампера нива шевроле бертоне

Спортивные брюки мужские больших

Судьбы свершился приговор

Телосложение виды спорта

Упр 173

Входная дверь с окном в частный дом

cdn.zecar.ru