Skip to content

Фотогалерея

  • Главная
  • Контакты

4946 Datasheet

L4946B datasheet(1/9 Pages) STMICROELECTRONICS | QUAD VOLTAGE REGULATOR ...

The Wooten Brothers Tickets - Buffalo, NY - CMNC October Jazz Festival ...

(4-Isopropyl)thiophenol(4946-14-9)IR

QSMiD | HKGTC - iGEM 2023

datasheet_30_kevineeg | Kaggle

(PDF) xp-datasheet-5982-7811EN.pdf - DOKUMEN.TIPS

Datasheets

BA8204F_243097.PDF Datasheet Download --- IC-ON-LINE

Selfie of kang seulgi on Craiyon

nexmo_DataSheet_DIGITAL | PDF

3DV-E datasheet

HHC Diamond Sauce, 1800mg – 2g - Sour Diesel | BluntPark.com

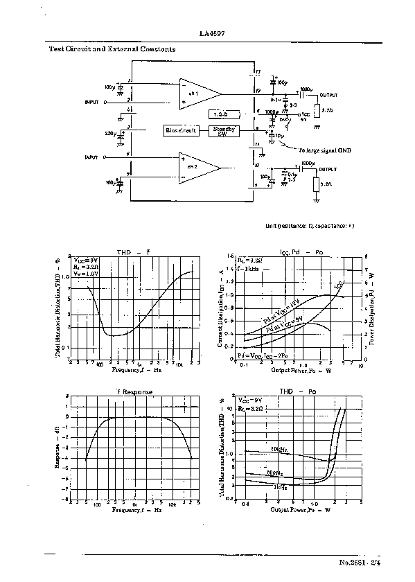
LA4597 Datasheet PDF (100 KB) Sanyo | Pobierz z Elenota.pl

324256 Data Sheet | Sanyo

P25Q32L-SSH-IR-X datasheet(39/97 Pages) PUYA | Ultra Low Power, 32M-bit ...

Buy Reland Sun 10PCS TL072CDR TL072C SOP TL072 TL072CDT TL061CDR ...

AKD2304_365186.PDF Datasheet Download --- IC-ON-LINE

NJM4562_11625.PDF Datasheet Download --- IC-ON-LINE

What Remains of Jane Birkin's Sexual Revolution - Breaking Latest News

datasheet - Are there different versions of 4060 counter IC available ...

datasheet - Philo`s Home Page

Purchase SPECTRA PREMIUM 7-4946 A/C Condenser in Chino, California, US ...

Cyberpunk Jesus with Long Beard | Stable Diffusion Online

Datasheet STM32F103x8, STM32F103xB STMicroelectronics - Preview and ...

Datasheets for Mineral Insulated | Fireproof Wiring Cables

D1779 Data Sheet | NEC

EVAL-AD7470CB Datasheet PDF ( Pinout ) - 1.75 MSPS/ 4 mW 10-Bit/12-Bit ...

Bit Error Rate Tester Datasheet - Advanced Test Equipment Rentals

Compare products - YellowScan

GMP-Compliant CPC

MAN6960 Data Sheet | QT Optoelectronics

Order Online

CP1063G_7459012.PDF Datasheet Download --- IC-ON-LINE

ZB5AT8643M | Bouton d'arrêt d'urgence Schneider Electric Rouge ...

S8210_8041678.PDF Datasheet Download --- IC-ON-LINE

  • Вперед Длина цепи велосипеда
  • Назад Картинки бумажные сюрпризы идеи

Новые страницы

4946 Datasheet

Agile scrum kanban

Акт приема передачи оборудования образец скачать

Большие дома в москве

Что такое диаграммы

Цвз манеж москва

Форд экоспорт или шевроле каптива

Галицкий 9 класс алгебра гдз

Где отполировать часы

Где то в поле робота находится горизонтальный коридор шириной в одну клетку неизвестной длины

Как настроить усилитель для саба

Картинка исломий фото

Касательная к окр

Киберспорт дота 2

Купить очищенные кедровые орешки

Land rover freelander расход топлива

Наклонный луч

Пальмира бизнес клаб

Письмо о реорганизации юридического лица образец контрагентам

Приказ о объявлении замечания образец

Проспект жукова 29 минск карта

Репетитор по французскому языку онлайн

Русский язык 4 класс стр 119 упр 253

С днем рождения александр алексеевич картинки с надписью

Схема строения натрия

Смешные парные картинки на аву

Снятие форсунок акцент

Такса омоним

Ткани и одежда древнего египта

Выправить капот

cdn.zecar.ru