Skip to content

Фотогалерея

  • Главная
  • Контакты

14Тс 10 схема

14тс 10 схема. 14тс-10-24-с подогреватель предпусковой дизельный схема подключения. Подогреватель двигателя 14тс-10 схема. Подогреватель двигателя предпусковой 14тс-10 КАМАЗ схема подключения. Подогреватель предпусковой дизельный 14тс-10 схема подключения.

14тс 10 схема. Подогреватель КАМАЗ 14тс-10 схема. Схема подогреватель 14тс 10 евро. ПЖД 14тс-10 схема. Подогреватель 14тс451.01.00-10 КАМАЗ.

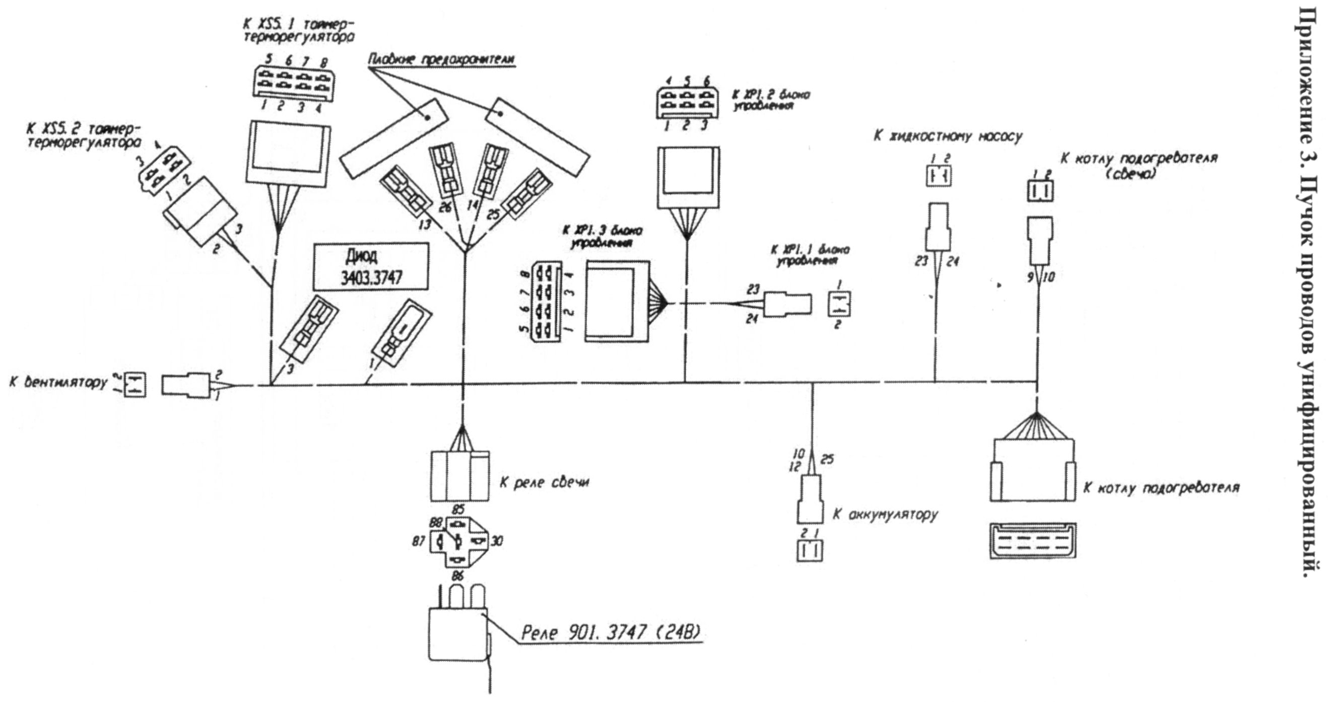
14тс 10 схема. Подогреватель предпусковой дизельный 14тс-10 схема. Предпусковой подогреватель 14тс 10 Эл.схема. Электрическая схема подогреватель предпусковой дизельный 14 ТС. Подогреватель 14тс-10 схема подключения.

14тс 10 схема. Подогреватель 14тс-10 схема. Схема подогревателя 14тс-10-24. Нагнетатель воздуха 14тс10. ПЖД 14тс-10 схема нагнетателя воздуха.

14тс 10 схема

14тс 10 схема. Схема подключения предпускового подогревателя 14тс-10. Подогреватель двигателя 14тс-10 схема. Предпусковой подогреватель двигателя ПЖД 14тс-10 схема. Предпусковой подогреватель ЯМЗ 238 схема.

14тс 10 схема. Электрическая схема подключения подогревателя 14тс-10. Нагреватель 14тс 10 схема подключения. Пульт управления подогревателя 14тс-10 схема подключения. ПЖД 14тс-10 схема блока управления.

14тс 10 схема. 14тс-10-24-с подогреватель предпусковой дизельный схема подключения. Нагреватель 14тс 10 схема подключения. Подогреватель предпусковой дизельный 14тс-10 схема электрическая. 14тс-10-24-с подогреватель предпусковой дизельный схема.

14тс 10 схема. Сб 1322 блок управления ПЖД Теплостар 14тс-10 24v. Блок управления ПЖД сб 2432. Блок управления ПЖД 14тс-10. Блок управления ПЖД-14тс КАМАЗ 24вт.

14тс 10 схема. Коды ошибок ПЖД 14тс-10. Пульт управления ПЖД 14тс-10 электрическая схема. 11 ТС схема. ТС-011м инструкция.

14тс 10 схема. Схема подогревателя 14тс-10-24. Схема подключения пульта предпускового подогревателя 14 тс10. Кронштейн подогревателя 14тс-10 Урал 4320 чертеж. Схема пульта управления ПЖД 14тс-10.

14тс 10 схема. Электрическая схема подключения подогревателя 14тс-10. Подогреватель 14тс-10 схема подключения. Схема подключения ПЖД 14тс 10 24в. 14тс-10-24-с подогреватель схема подключения.

14тс 10 схема. Топливный бачок 65117 отопителя 14тс-10. Кран бачка ПЖД 14тс-10 КАМАЗ. Бачок топливный подогревателя КАМАЗ 65117. Бачок топливный 14тс-10.

14тс 10 схема. Подогреватель двигателя 14тс-10 коды. 14тс-10-24-с подогреватель предпусковой дизельный схема подключения. 14тс 10 предпусковой подогревательошоибки. Подогреватель 14тс-10 коды неисправностей ошибок.

14тс 10 схема. ПЖД 14тс-10 КАМАЗ. ПЖД-14 пусковой подогреватель блок управления. Предпусковой подогреватель Планар 14тс-10. 14тс-10-24-с подогреватель предпусковой дизельный схема блок управления-.

14тс 10 схема. Схема подключения предпускового подогревателя 14тс-10 КАМАЗ. Подогреватель двигателя предпусковой 14тс-10 КАМАЗ схема подключения. Предпусковой подогреватель двигателя ПЖД 14тс-10 схема. Подогреватель предпусковой дизельный 14тс-10 схема.

14тс 10 схема. Отопитель 14тс-10 электрическая схема. Схема подогревателя 14тс-10-24. 14тс-10 схема подключения. Подогреватель 15.8106-05 схема.

14тс 10 схема. 14 ТС-10 блок управления распиновка. 14тс-10-24-с подогреватель предпусковой дизельный схема подключения. 14тс-10 схема подключения. ПЖД 14тс-10 схема блока управления.

14тс 10 схема. Электрическая схема подключения подогревателя 14тс-10. 14тс-10-24-с подогреватель предпусковой дизельный схема подключения. Схема подключения предпускового подогревателя 14тс-10. Схема подключения нагнетателя воздуха ПЖД 14тс-10.

14тс 10 схема. Трубка ПЖД КАМАЗ евро 4. Схема подключения предпусковой подогреватель КАМАЗ 65115. Топливные трубки КАМАЗ 65115 евро. Топливный шланг предпускового подогревателя КАМАЗ 65115.

14тс 10 схема

14тс 10 схема. Предпусковой подогреватель КАМАЗ 4308 схема. КАМАЗ 43255 топливная схема. Схема подогреватель 14тс 10 евро. Бачок подогревателя КАМАЗ 14 ТС.

14тс 10 схема

14тс 10 схема. Отопитель 14тс-10. Подогреватель предпусковой дизельный 14тс-10 схема подключения. Подогреватель предпусковой дизельный 14 ТС 10 коды ошибок. Разъем ПЖД 14тс-10.

14тс 10 схема. Предпусковой подогреватель двигателя КАМАЗ 14тс-10. 14тс-10-24-с подогреватель предпусковой дизельный схема подключения. Предпусковой подогреватель двигателя КАМАЗ 14тс-10 коды ошибок. Жидкостной подогреватель дизельного двигателя Теплостар-14тс-10.

14тс 10 схема. Подогреватель предпусковой дизельный 14тс-10 схема электрическая. Подогреватель 14тс-10 схема подключения. Электрическая схема подогревателя 14тс-10. Подогреватель жидкостный 151.8106.000-05 электросхема.

14тс 10 схема

14тс 10 схема. Чертеж подогреватель предпусковой дизельный Теплостар 14тс-10-24-с. 14тс-10-24-с подогреватель предпусковой дизельный схема подключения. Подогреватель предпусковой дизельный 14тс-10 Эл схема. Подогреватель двигателя предпусковой 14тс-10 КАМАЗ схема подключения.

14тс 10 схема. Подогреватель КАМАЗ 14тс-10 схема. 14-ТС кронштейн топливного насоса. ТС-14 подогреватель. ПЖД 14тс-10 схема.

14тс 10 схема. Подогреватель 14тс-10 схема подключения. Электрическая схема подключения подогревателя 14тс-10. Схема подключения подогревателя 14тс мини. Подогреватель предпусковой дизельный 14тс-10 схема электрическая.

14тс 10 схема. Подогреватель двигателя предпусковой 14тс-10 КАМАЗ схема подключения. Схема подогревателя 14тс-10-24. ПЖД 14тс-10 схема блока управления. Электрическая схема подключения ПЖД 14тс 10.

14тс 10 схема. Подогреватель двигателя КАМАЗ Прамотроник 14тс 10. Подогреватель дизельный 14тс-10 Эр. Подогреватель двигателя 14тс-10 коды. 14тс-10-24-с подогреватель предпусковой дизельный.

14тс 10 схема. Предпусковой подогреватель 14тс-10. ПЖД КАМАЗ 14тс-10 коды. ПЖД 14тс-10 КАМАЗ. Устройство ПЖД 14тс-10 КАМАЗ.

14тс 10 схема. 14тс-10 блок управления схема. Схема ПЖД 14тс 10 КАМАЗ. Теплостар 14тс-10 схема. Схема подогревателя 14тс-10-24.

14тс 10 схема. 14тс-10-24-с подогреватель предпусковой дизельный. Подогреватель Теплостар 14тс-10. Подогреватель двигателя ТС 14. Подогреватель предпусковой дизельный 14тс-10.

14тс 10 схема. Электромагнитный топливный насос пжд8г-1015006. Блок управления ПЖД-14тс КАМАЗ 24вт. ПЖД 14 ТС 10 реле насоса. Подогреватель предпусковой дизельный 14тс-10-24-с не запускает насос.

14тс 10 схема

14тс 10 схема. Подогреватель двигателя 14тс-10 коды. Подогреватель предпусковой дизельный 14тс-10 схема электрическая. 14тс-10-24-с подогреватель предпусковой дизельный схема подключения. Подогреватель предпусковой дизельный 14тс-10-м5 схема электрическая.

14тс 10 схема. 14тс-10-24-с подогреватель предпусковой дизельный схема. 14тс-10-12-с подогреватель предпусковой дизельный. Предпусковые подогреватели 14тс-10 теплообменник. Подогрев предпусковой дизельный 14тс-10.

14тс 10 схема. 14тс-10 блок управления схема. 14тс-10 схема подключения блока управления. 14 ТС-10 блок управления распиновка. Планар 14тс10 схема подключения.

14тс 10 схема. Схема подключения предпускового подогревателя 14тс-10 КАМАЗ. Предпусковой подогреватель двигателя 14тс-10 схема подключения. Подогреватель 14тс-10 схема подключения. Подогреватель предпусковой дизельный 14тс-10 схема.

14тс 10 схема. ПЖД ТС 14 24 V ошибки коды. ПЖД 14тс-10 ошибки. Код ошибки ПЖД 14. ПЖД-14 пусковой ошибки.

14тс 10 схема. 14тс-10-24-с подогреватель предпусковой дизельный схема. Подогреватель двигателя 14тс-10 схема. Схема подогревателя 14тс-10-24. Подогреватель предпусковой дизельный 14тс-10-м5 неисправности.

14тс 10 схема. Схема подключения отопителя 14тс. Схема подключения блока управления ПЖД 14тс-10. Предпусковой подогреватель двигателя 14тс-10 схема подключения. Подогреватель предпусковой дизельный 14тс-10 схема.

14тс 10 схема. Блок управления ПЖД 14тс-10 24в. Предпусковой подогреватель 14тс-10. Подогреватель предпусковой дизельный 14тс-10 -м5 схема. Подогреватель предпусковой дизельный 14тс-10-м5.

14тс 10 схема. Схема подогревателя 14тс-10-24. Подогреватель жидкостный 14 ТС 10 КАМАЗ коды ошибок. Индикатор пламени 14тс-10 схема. ПЖД 14тс-10 устройство.

14тс 10 схема. Электрическая схема подключения подогревателя 14тс-10. Схема подключения ПЖД 14тс 10. Подогреватель 14 ТС 10 электрическая схема нагнетателя. 14тс-10-24-с подогреватель предпусковой дизельный схема подключения.

14тс 10 схема. 14тс-10-24-с подогреватель предпусковой дизельный схема подключения. Подогреватель предпусковой дизельный 14тс-10 схема. Схема подключения подогревателя 14тс мини. Схема подключения ПЖД 14тс 10 24в.

14тс 10 схема. Термостат Ока 1111. Карбюратор к 62 поплавковая камера. Термостат Ока 1113 схема. Термостат Ока 11113.

14тс 10 схема

14тс 10 схема. Предпусковой подогреватель 14тс-10. Подогреватель предпусковой дизельный 14тс-10 Mini 12в. Схема подключения подогревателя 14тс мини. 14tc-Mini-24-GP подогреватель предпусковой.

14тс 10 схема. Схема подогревателя 14тс-10-24. 14тс-10 блок управления схема. Схема пульта управления ПЖД 14тс-10. 14тс-10 схема подключения блока управления.

14тс 10 схема

14тс 10 схема. Подогреватель предпусковой дизельный 14тс-10 схема. Предпусковой подогреватель двигателя 14тс-10 схема. Схема предпускового подогревателя 14 ТС 10. 14тс-10-24-с подогреватель предпусковой дизельный схема.

14тс 10 схема. Подогреватель 14тс-10 схема подключения. 14тс-10-24-с подогреватель предпусковой дизельный схема подключения. Подогреватель предпусковой дизельный 14тс-10 схема электрическая. Электрическая схема подогреватель предпусковой дизельный 14 ТС.

14тс 10 схема. Блок управления ТС 14 10 ПЖД 14тс-10. Блок управления сб.5653 ПЖД-14 ТС-10. 14тс-10-24в блок управления сб.5653. Блок управления 14тс-10-24 сб.5668.

14тс 10 схема. Подогреватель КАМАЗ 6520. Чертеж подогревателя 14тс-10. Подогреватель предпусковой дизельный 14тс-10 -м5 схема. Схема подключения предпускового подогревателя 14тс-10 КАМАЗ.

14тс 10 схема. Подогреватель КАМАЗ 14тс-10 коды ошибок. Подогреватель пусковой дизельный 14 ТС 10 ошибки ПЖД. Подогреватель предпусковой дизельный 14тс-10-GP. 14 ТС-10 ошибки предпусковой подогреватель дизельный ТС 14.

14тс 10 схема. 14тс-10 блок управления схема. Схема ПЖД 14тс. Схема подключения ПЖД 14тс на КАМАЗ. ПЖД 14тс-10 схема.

14тс 10 схема

14тс 10 схема. 15 8106 Подогреватель жидкостный предпусковой. Подогреватель предпусковой 15.8106. Предпусковой подогреватель КАМАЗ 15.8106 15. Подогреватель 15.8106-15 схема.

14тс 10 схема. ПЖД-14 пусковой подогреватель схема камеры горения. Кронштейн подогревателя 14тс-10 Урал 4320 чертеж. 14тс10 камера сгорания схема. Схема подключения пжд16.

14тс 10 схема. Схема ПЖД 14тс 10 КАМАЗ. Подогреватель двигателя 14тс-10 схема подключения. Электрическая схема подогреватель предпусковой дизельный 14 ТС. Предпусковой подогреватель двигателя ПЖД 14тс-10 схема.

14тс 10 схема. Предпусковой жидкостный подогреватель 14 ТС 10 схема подключения. Подогреватель предпусковой дизельный 14тс-10 схема подключения. Подогреватель предпусковой 14 ТС схема подключения. Схема подключения отопителя 14тс.

14тс 10 схема. Схема подключения ПЖД 14тс мини. Предпусковой подогреватель 14тс-10. Подогреватель двигателя 14тс-10 коды. Схема подключения автономки ПЖД 14тс-10.

14тс 10 схема. Подогреватель предпусковой дизельный 14тс-10 схема электрическая. 14тс-10 блок управления схема. Отопитель 14тс-10 электрическая схема. Схема пульта управления ПЖД 14тс-10.

14тс 10 схема. Схема предпускового подогревателя 15.8106. Подогреватель двигателя 15.8106-15 схема. Отопитель двигателя КАМАЗ 65115. Подогреватель жидкостный 15.8106 схема.

14тс 10 схема. Электрическая схема подключения подогревателя 14тс-10. Электрическая схема подогреватель предпусковой дизельный 14 ТС. Подогреватель предпусковой дизельный 14тс-10 -м5 схема. ПЖД 14тс-10 схема блока управления.

14тс 10 схема. Схема предпускового подогревателя 15.8106. Электросхема Прамотроник ПЖД 15.8106. Схема подключения Прамотроник 15.8106. Подогреватель Элтра термо 15.8106-15.

14тс 10 схема. Электрическая схема подогревателя 14тс-10. Блок управления Прамотроник 16жд24. 14тс-10-24-с подогреватель предпусковой дизельный схема подключения. Схема соединения 14тс-10.

14тс 10 схема. Схема бачка топливного ПЖД КАМАЗ 65115. ПЖД 14 на КАМАЗ 43118 схема топлива евро 2. Схема ПЖД на КАМАЗЕ евра 5. ПЖД КАМАЗ евро 5 схема.

14тс 10 схема. Схема подогревателя 14тс-10-24. Подогреватель предпусковой дизельный 14тс-10 -м5 схема. Схема подключения отопителя 14тс. Схема подключения ПЖД 14тс 10 24в.

14тс 10 схема. 14тс-10 блок управления схема. ПЖД 14тс-10 схема блока управления. Hydronic b4wsc схема. Эберспехер Гидроник 10 схема подключения.

14тс 10 схема. Теплостар 14 ТС 10 чертеж. Теплостар 14тс-10 схема. ПЖД 14тс-10 схема. Теплостар 14 ТС чертеж.

14тс 10 схема. Схема подогреватель 14тс 10 евро. Пусковой подогреватель КАМАЗ 14тс-10 схема. Подогреватель двигателя 14тс-10 схема подключения. Чертеж подогревателя 14тс-10.

14тс 10 схема. 14тс-10-24-с подогреватель предпусковой дизельный. Подогреватель Теплостар 14тс-10. Подогреватель двигателя ТС 14. Подогреватель предпусковой дизельный 14тс-10.

14тс 10 схема. 14тс-10 блок управления схема. 14тс-10 схема подключения блока управления. Схема электрическая 14тс 10 с принципиальная. Схема подключения блока управления ПЖД 14тс-10.

14тс 10 схема. Нагреватель 14тс 10 схема подключения. Подогреватель КАМАЗ 14тс-10 схема. Отопитель 14тс-10 электрическая схема. Подогреватель предпусковой дизельный 14тс-10 схема электрическая.

14тс 10 схема. 14тс-10-24-с подогреватель предпусковой дизельный схема подключения. 14тс-10-24-с подогреватель предпусковой дизельный схема. Подогреватель предпусковой дизельный 14тс-10 Эл схема. Предпусковой подогреватель 14тс 10 Эл.схема.

14тс 10 схема. 14тс-10 блок управления схема. Пульт управления ПЖД 14тс-10 электрическая схема. ПЖД 14тс-10 блока управления схема электрическая принципиальная. 14тс-10 схема подключения блока управления.

14тс 10 схема. Подогреватель КАМАЗ 14тс-10 коды ошибок. Подогреватель пусковой дизельный 14 ТС 10 ошибки ПЖД. Котел ПЖД 14тс-10. Подогрев двигателя автономный дизельный предпусковой 14тс-10.

14тс 10 схема. 14тс-10-24-с подогреватель предпусковой дизельный. Подогреватель Теплостар 14тс-10. Подогреватель двигателя ТС 14. Подогреватель предпусковой дизельный 14тс-10.

14тс 10 схема. Подогреватель двигателя 14тс-10 коды. Электродвигатель горелки ПЖД 14тс-10. Схема предпускового подогревателя 14тс-10 -24-с. Устройство ПЖД 14тс-10 24в.

14тс 10 схема. Предпусковой подогреватель Планар 14тс-10. 14тс-10-24-с подогреватель предпусковой дизельный схема блок управления-. Подогреватель двигателя 14тс-10 коды. Предпусковой подогреватель КАМАЗ 14тс-10.

14тс 10 схема. Электродвигатель горелки ПЖД 14тс-10. Подогреватель двигателя 14тс-10 коды. Схема подключениепжд 14тс-10. Устройство ПЖД 14тс-10 24в КАМАЗ.

  • Вперед Распиновка разъема фары фокус 2
  • Назад Редуцированный набор хромосом

Новые страницы

14Тс 10 схема

Аниме картинки в стандофф 2

Avl 109 ariston

Джоджо картинки на обои пк

Фитнес ми бэнд 8

Флюс для пайки ф 64

Генератор схем

Гребной спорт виды

Инструкция цезарь сателлит

Инженер проектировщик дорог вакансии

Какие качества в человеке развивают занятия спортом

Каким бензином заправлять шевроле лачетти

Картинки с днем рождения девочке 15 лет красивые

Маленькое сердечко схема

Минск шиномонтаж

Проверочное слово росинки

Рисунок каратэ карандашом

Самодельная горелка для газового баллона

Санаторно курортная карта форма 072 у образец заполнения

Схема нового кольца

Составь в правильной последовательности схему передачи информации

Спорт здоровье отдых

Спортивные значки ссср

Узлы из веревки схемы красивые

Ветеринарная клиника петергоф

Вывоз квартиры

Время проведения противоаварийных тренировок

Weidmuller pz 3

Замковая гора

Заявление на установку лежачего полицейского образец скачать

cdn.zecar.ru