Skip to content

Фотогалерея

  • Главная
  • Контакты

Замена охлаждающей жидкости нива 21213

ЗАМЕНА ОХЛАЖДАЮЩЕЙ ЖИДКОСТИ НИВА 21213 (LADA 4X4) - YouTube

Замена охлаждающей жидкости. ВАЗ 21213, 21214 (Нива) / 825ada

Замена охлаждающей жидкости. ВАЗ 21213, 21214 (Нива) / 825ada

Замена датчика температуры охлаждающей жидкости для комбинации приборов ...

Замена датчика температуры охлаждающей жидкости для комбинации приборов ...

Замена датчика температуры охлаждающей жидкости для комбинации приборов ...

Замена датчика охлаждающей жидкости Нива Шевроле: инструкция

Как заменить насос охлаждающей жидкости двигателя Нива Шевроле

Как заменить насос охлаждающей жидкости двигателя Нива Шевроле

Регулировка натяжения и замена ремня привода насоса охлаждающей ...

ВАЗ 21213 | Снятие крышки насоса охлаждающей жидкости | Нива

Замена охлаждающей жидкости Шевроле Нива: инстукция, видео, описание

Регулировка натяжения и замена ремня привода насоса охлаждающей ...

Регулировка натяжения и замена ремня привода насоса охлаждающей ...

Регулировка натяжения и замена ремня привода насоса охлаждающей ...

ВАЗ 21213 | Снятие крышки насоса охлаждающей жидкости | Нива

Регулировка натяжения и замена ремня привода насоса охлаждающей ...

ВАЗ 21213 | Снятие крышки насоса охлаждающей жидкости | Нива

Снятие крышки насоса охлаждающей жидкости. ВАЗ 21213, 21214 (Нива)

Замена охлаждающей жидкости на Шевроле Нива

Замена датчика охлаждающей жидкости Нива Шевроле: инструкция

ВАЗ 21213 | Снятие крышки насоса охлаждающей жидкости | Нива

Лада-Нива, замена охлаждающей жидкости. - YouTube

Chevrolet Niva Manual; Система охлаждения

Шевроле Нива, замена охлаждающей жидкости - YouTube

Снятие крышки насоса охлаждающей жидкости. ВАЗ 21213, 21214 (Нива) / e62592

Регулировка натяжения и замена ремня привода насоса охлаждающей ...

Снятие крышки насоса охлаждающей жидкости. ВАЗ 21213, 21214 (Нива) / e62592

Регулировка натяжения и замена ремня привода насоса охлаждающей ...

ВАЗ 21213 | Снятие крышки насоса охлаждающей жидкости | Нива

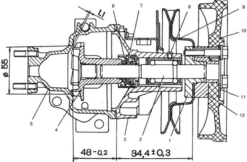
Нива 4х4 ВАЗ-21213 1994-2006: Насос охлаждающей жидкости (Двигатель и ...

ВАЗ-21213 (Нива). Насос охлаждающей жидкости двигателя

ВАЗ 21213 | Снятие крышки насоса охлаждающей жидкости | Нива

Бачок расширительный охлаждающей жидкости ВАЗ 21213, 21214, Лада 4x4 ...

Нива Шевроле: замена охлаждающей жидкости

  • Вперед Карта проджект зомбоид на русском
  • Назад Схема микроскопа

Новые страницы

Ажурные квадраты крючком со схемами простые и красивые для кофточки

Гдз по алгебре 8 класс мерзляк номер 506

Гдз по геометрии 7 класс берсенев

Гдз по математике вторая часть третий класс страница 47

Гдз по русскому языку страница 108 упражнение 186

Город навесов

Грыжа на протекторе колеса

Карта осадков юргамыш

Класс спорт санкт петербург

Клупп электрический

Конькобежный спорт киров

Лада ларгус габариты

Марон дидактические материалы 7 класс физика

Маршрут 331 маршрутки чебоксары схема движения

Нигелла дамасская фото

Остров с пауками

Поговори со своим одноклассником используя образец

Противозачаточный имплант

Решалка по алгебре 7 класс

Схема питания клавиатуры

Схема установки предпускового подогревателя двигателя

Соревнования по горнолыжному спорту

Спорт в каждый двор

Спортики наказали девушку

Supra bb cd102

Томагавк сигнализация с автозапуском инструкция

В сахалин или на сахалин

Виброизоляция фундаментов под оборудование

Взаперти фильм

Взрыв на бостонском марафоне

cdn.zecar.ru