Skip to content

Фотогалерея

  • Главная
  • Контакты

Высоковольтные электрические схемы

Высоковольтные электрические схемы. Электрическая схема двухтрансформаторной подстанции. Схема двухтрансформаторной подстанции с первичным напряжением 10 кв. Схема двухтрансформаторной подстанции с первичным напряжением 35 кв. Схема однотрансформаторной подстанции 10кв.

Высоковольтные электрические схемы. Электрическая схема подстанции 35/10 кв. Однолинейная схема подстанции 35/10 кв. Однолинейная схема подстанции 220кв. Принципиальная схема электрической подстанции на 10 кв.

Высоковольтные электрические схемы. Реле АЧР-1. Реле РБМ 171 схема. Схемы АЧР на реле частоты РЧ-1. Принципиальная схема АЧР.

Высоковольтные электрические схемы

Высоковольтные электрические схемы. Однолинейная схема КРУ 6кв. Однолинейная схема ячейки КСО. Схемы ячеек КСО 393. Сетка схем КСО-285.

Высоковольтные электрические схемы. Однолинейная схема распределительного устройства 10 кв. Схема подключения трансформаторов тока 220 кв. Схема подстанции постоянного тока. Схемы питания тяговых подстанций 220кв.

Высоковольтные электрические схемы

Высоковольтные электрические схемы. Схема кабельной линии от подстанции. Принципиальная электрическая схема воздушных линий электропередач.

Высоковольтные электрические схемы

Высоковольтные электрические схемы. Контактор модульный обозначение на однолинейной схеме. Контактор магнитный на схеме однолинейной. Пускатель на однолинейной схеме. Магнитный пускатель на однолинейной схеме.

Высоковольтные электрические схемы. Преобразователь переменного тока в постоянный 12 вольт схема. Преобразователь постоянного напряжения схема. Преобразователь с постоянного тока в переменный 220 схема. Инвертор 12-220 на тиристорах схема.

Высоковольтные электрические схемы. Схема двухтрансформаторной ответвительной подстанции. Электрическая схема двухтрансформаторной подстанции. Схема тупиковой подстанции. Однолинейная схема двухтрансформаторной подстанции.

Высоковольтные электрические схемы. Схема распределительного устройства 35 кв. Однолинейная схема ПС 220кв. Однолинейная схема подстанции 6 кв. Однолинейная схема подстанции 220кв.

Высоковольтные электрические схемы. Схема высоковольтного блока аид 70 принципиальная электрическая. Принципиальная схема троллейбуса. Схема высоковольтной акустики. Схема высоковольтного блока т 300.

Высоковольтные электрические схемы. Высоковольтный трансформатор напряжения 6кв схема подключения. Трансформаторы напряжения ном 35 схема подключения. Ном 10 трансформатор напряжения конструкция схема. Конструкция трансформатора напряжения 110кв.

Высоковольтные электрические схемы

Высоковольтные электрические схемы

Высоковольтные электрические схемы. Высоковольтный импульсный источник питания. Мощный высоковольтный блок питания схема. Высоковольтный блок р 118. Высоковольтные блоки питания для ФЭУ схема.

Высоковольтные электрические схемы. Однолинейная схема электроснабжения 110/10 кв. Схема однолинейная подстанции 35 кв. Однолинейная схема электроснабжения 110кв. Подстанция 110/10 кв схема электрическая принципиальная.

Высоковольтные электрические схемы. Электрическая схема включения высоковольтных разъединителей. Схема высоковольтной установки. Схема линейного трансформатора с включением защиты. Схема высоковольтной установки постоянного напряжения.

Высоковольтные электрические схемы. ЯКНО схема релейная защита 6. Схема шкафа 2квэ-6-630-10. Электрическая схема комплектного распределительного устройства КРУ. КРУ схема электрическая принципиальная.

Высоковольтные электрические схемы. Высоковольтный источник питания схема. Схема высоковольтный источник 30 кв. Высоковольтный источник питания 40кв.

Высоковольтные электрические схемы. Электрическая схема троллейбуса Тролза. Электрическая схема троллейбуса ЗИУ 682. Схема вторичных цепей КСО. Принципиальная схема подключения КСО-298м.

Высоковольтные электрические схемы. Схема релейной защиты трансформатора 6кв. Релейная защита трансформатора на подстанции схема. Схемы вторичных цепей Рза. Схема релейной защиты силового трансформатора.

Высоковольтные электрические схемы. Схема испытания изоляторов повышенным напряжением. Схема высоковольтного испытания разъединителей. Схема испытания трансформатора повышенным напряжением аид. Испытание изоляции повышенным напряжением схема аппарата.

Высоковольтные электрические схемы. Высоковольтный источник напряжения схема. Регулируемый источник высокого напряжения схема. Высоковольтный источник постоянного напряжения схема. Высоковольтный источник питания схема.

Высоковольтные электрические схемы. Трансформатор напряжения 110 кв электрическая схема. Схема подключения трансформатора напряжения 110 кв. Трансформатор тока 110 кв схема подключения. Высоковольтный трансформатор тока 10 кв схема подключения.

Высоковольтные электрические схемы. Трансформаторная подстанция схема электрическая принципиальная. Однолинейная схема трансформаторной подстанции 10кв. Однолинейная схема проходной подстанции. Схема трансформаторной подстанции 35/10 кв.

Высоковольтные электрические схемы

Высоковольтные электрические схемы. Монтажная схема электропроводки высоковольтной.

Высоковольтные электрические схемы. Схема управления высоковольтным выключателем переменного тока. Привод ППМ-10 схема электрическая. АПВ схема выключатель 10 кв. Схема управления приводом элегазового выключателя.

Высоковольтные электрические схемы. Конденсаторные батареи 10 кв на схеме. Схема включения компенсирующих устройств. Схемы подключения конденсаторных установок 220 кв. Схема подключения конденсаторной батареи.

Высоковольтные электрические схемы. Ячейка трансформатора напряжения 10 кв схема. ЯКНО 10 кв с вакуумным выключателем схема подключения. Схема вторичных цепей реклоузера. Однолинейная схема ПКУ 10 кв.

Высоковольтные электрические схемы. Электрическая схема высоковольтного оборудования. Монтажная схема электропроводки высоковольтной. Электрооборудование электропоезда. Электрооборудование электрички.

Высоковольтные электрические схемы

Высоковольтные электрические схемы. Ячейка трансформатора напряжения 10 кв схема. Схема ячейки 10 кв. Ячейка ввода 10 кв схема. Схема ячейки КРУ 6 кв.

Высоковольтные электрические схемы

Высоковольтные электрические схемы. Схемы подстанций 110 кв. Схема подстанции вл 110 кв. Схема электрическая высоковольтный 110 кв. Нормальная схема подстанции 110 кв.

Высоковольтные электрические схемы. Контакторная панель в электрической схеме. Ei на развернутой схеме. Контакторная станция 8301 схема принципиальная. Контакторная панель 1 экг4,6.

Высоковольтные электрические схемы

Высоковольтные электрические схемы. Узел учета электроэнергии 10 кв схема. Схема вторичных цепей ПКУ. Схема учета электроэнергии 0.4 кв. Учет электроэнергии 110 кв схема.

Высоковольтные электрические схемы. Электрическая схема троллейбуса ЗИУ 682. Силовая цепь троллейбуса схема ЗИУ-9. Принципиальная электрическая схема высоковольтной цепи троллейбуса. Электрическая схема троллейбуса Тролза.

Высоковольтные электрические схемы. Высоковольтный преобразователь с1-97. Высоковольтный преобразователь частоты схема. Двухтрансформаторная схема высоковольтного преобразователя частоты. Высоковольтный преобразователь частоты принципиальная схема.

Высоковольтные электрические схемы. Генератор высоковольтных импульсов схема. Схема импульсного высокого напряжения. Электрическая схема генератора высоковольтных импульсов. Генераторы сверхкоротких импульсов схемы.

Высоковольтные электрические схемы

Высоковольтные электрические схемы. Предохранитель 10 кв наружной установки чертеж. Предохранитель высоковольтный ПКТ схема. Схема плавкого предохранителя типа ПК. Схема предохранителя до 1000 в.

Высоковольтные электрические схемы

Высоковольтные электрические схемы

Высоковольтные электрические схемы. Схема тяговой подстанции переменного тока. Схема внешнего электроснабжения тяговых подстанций 110 кв.. Схема преобразовательной подстанции постоянного тока. Схема тяговой подстанции постоянного тока.

Высоковольтные электрические схемы. Схема электрооборудования 81 760. Цепь высокого напряжения схема. Электрическая схема вагона 81 760. Электрическая схема вагона 81-765.

Высоковольтные электрические схемы. Схема высоковольтного генератора для электростатической коптильни. Схема высоковольтного генератора на ТДКС для коптильни. Высоковольтный Генератор для капчение схема. Циклический высоковольтный Генератор для коптильни.

Высоковольтные электрические схемы. Схема разъединителя 110 кв. Ограничитель перенапряжения на схеме. ОПН 10 кв на схеме. Схема разъединителя 10 кв.

Высоковольтные электрические схемы. Высоковольтный преобразователь частоты схема. Высоковольтный преобразователь частоты 6000 вольт схема. Высоковольтный тиристорный преобразователь частоты. Тиристорный электропривод переменного тока.

Высоковольтные электрические схемы. Схема 2 ТТ 2 тн. Схема подключения ПКУ-10 счетчика 2тт 3тн. Схема подключения ПКУ 2тт 2тн. ПКУ 10 кв схема подключения.

Высоковольтные электрические схемы

Высоковольтные электрические схемы. Масляный высоковольтный выключатель схема подключения. Принципиальная электрическая схема масляного выключателя. Схема включения выключателя масляного выключателя. Схема включения высоковольтного масляного выключателя.

Высоковольтные электрические схемы. Однолинейная схема трансформаторной подстанции 10/0.4. Трансформатор тока на однолинейной схеме. Обозначение трансформатора тока на однолинейной схеме. Однолинейная схема трансформаторной подстанции.

Высоковольтные электрические схемы

Высоковольтные электрические схемы

Высоковольтные электрические схемы. Схема 0.4 кв электроснабжения склада. Однолинейная схема электроснабжения высоковольтного оборудования. Однолинейная схема ЦРП 10кв. Схема электроснабжения 0.4 кв.

Высоковольтные электрические схемы. Привод ПЭ-11 схема электрическая. Привод масляного выключателя ПЭ-11 схема электрическая. Привод ВМПП-10 электрическая схема. ПЭ-11 привод схема.

Высоковольтные электрические схемы

Высоковольтные электрические схемы. Схема электровоза 2эс10. Схема высоковольтных цепей электровоза 2эс10. Силовая схема 2эс10. Пневматическая схема 2эс10 гранит.

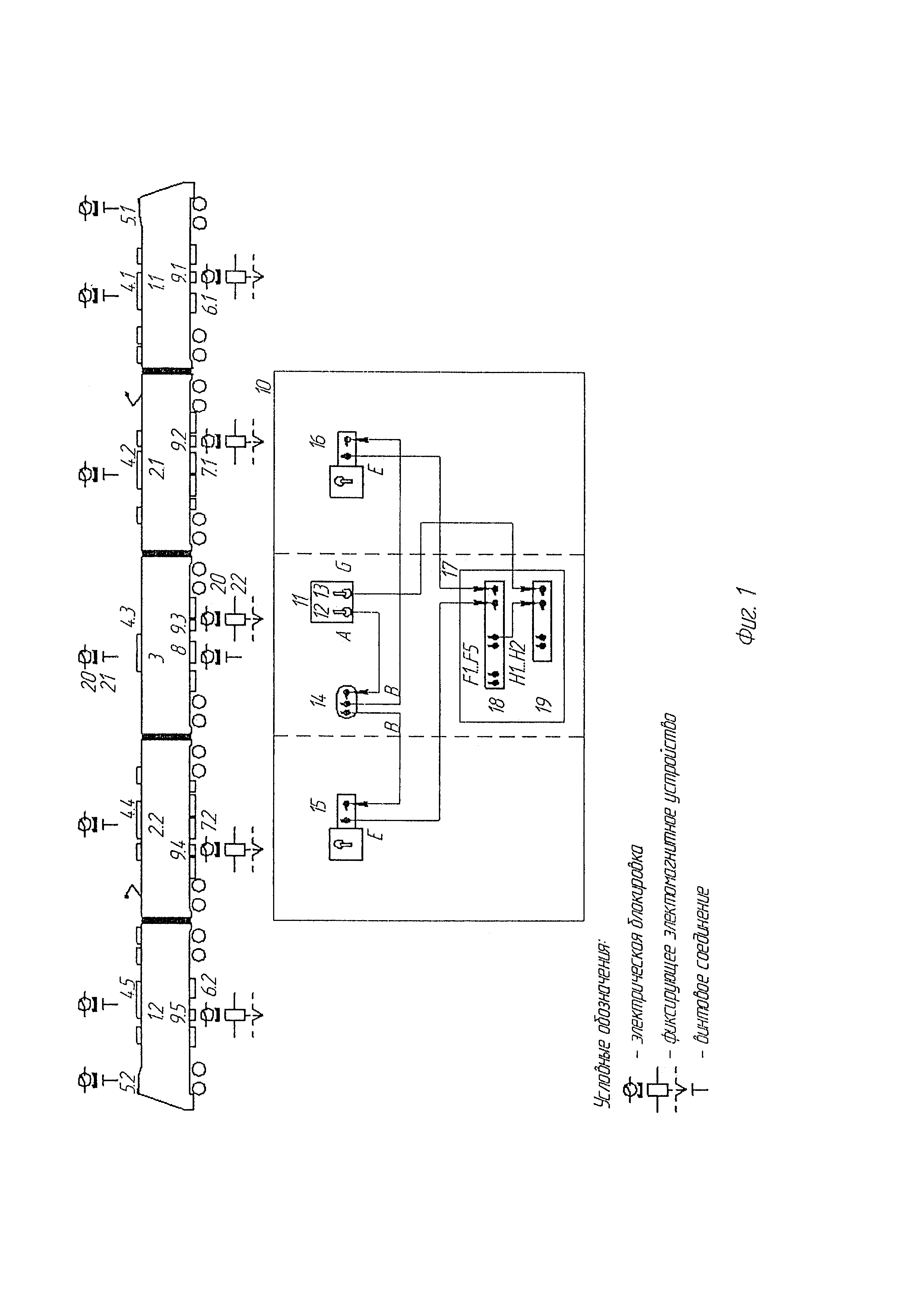
Высоковольтные электрические схемы. Расшифровка однолинейной схемы электроснабжения подстанции. Обозначение высоковольтного оборудования на схемах. Условные обозначения однолинейной схемы подстанции. Обозначение трансформаторной подстанции на электрических схемах.

Высоковольтные электрические схемы. Принципиальная схема подстанции условные обозначения. Обозначения на электрических схемах принципиальных однолинейных. Обозначения в однолинейных электрических схемах. Обозначение оборудования на однолинейной схеме электроснабжения.

Высоковольтные электрические схемы

Высоковольтные электрические схемы. Высоковольтный регулируемый источник питания схема. Высоковольтный источник питания коптильня схема электрическая. Высоковольтный источник напряжения схема. Fh3-0723 высоковольтный трансформатор схема.

Высоковольтные электрические схемы. Высоковольтный трансформатор тока 10 кв схема подключения. Высоковольтные испытания трансформаторов напряжения 10 кв схема. Электрическая схема измерительном трансформатора напряжения 110 кв. Ячейка трансформатора напряжения 10 кв схема.

Высоковольтные электрические схемы. Упрощенная схема распределительного устройства. Блочная схема подстанции. Блок линия трансформатор с выключателем. Блок линия трансформатор с разъединителем.

Высоковольтные электрические схемы

Высоковольтные электрические схемы. Принципиальная электрическая схема ЯКНО-10. Схема ячейки ЯКНО 6. Яку-1 ячейка Карьерная схема однолинейная. ЯКНО 10 кв с вакуумным выключателем схема подключения.

Высоковольтные электрические схемы. Схема управления выключателем 0,4 кв с моторным приводом. Привод ПЭ-11 схема электрическая. Схема управления выключателем 10 кв. Схема управления масляным выключателем с электромагнитным приводом.

Высоковольтные электрические схемы. Регулируемый источник высокого напряжения схема. Высоковольтный источник напряжения схема. Высоковольтный регулируемый источник питания схема. Высоковольтный блок питания 30кв.

Высоковольтные электрические схемы

Высоковольтные электрические схемы. Электрическая схема троллейбуса ЗИУ 682. Силовая цепь троллейбуса схема ЗИУ-9. Электрическая схема троллейбуса ЗИУ. Электрическая схема троллейбуса ЗИУ 9.

Высоковольтные электрические схемы

Высоковольтные электрические схемы. Схема вторичных цепей ПКУ. Схема высоковольтного учета электроэнергии. Учет 10 кв схема подключения. Узел учета электроэнергии 10 кв схема.

Высоковольтные электрические схемы

Высоковольтные электрические схемы. Однолинейная схема электроснабжения 10кв. Однолинейная схема распределительного устройства 10 кв. Однолинейная схема трансформаторной подстанции. Однолинейная схема трансформаторной подстанции 10кв.

Высоковольтные электрические схемы. Схема замещения гирлянды изоляторов. Схема замещения гирлянды подвесных изоляторов. Схема замещения гирлянды изоляторов на постоянном токе. Схема включения управляемого разрядника.

Высоковольтные электрические схемы

Высоковольтные электрические схемы. Высоковольтный Генератор схема. High-Voltage Generator схема. Генератор высоковольтного напряжения. Схема китайского высоковольтного генератора.

Высоковольтные электрические схемы. Высоковольтный разъединитель на схеме. Разъединитель обозначение на схеме. Разъединитель на электрической схеме. Как обозначается высоковольтный выключатель.

Высоковольтные электрические схемы. Схема ячейки ЯКНО 6. Принципиальная электрическая схема приключательного пункта ЯКНО-10у. Электрическая схема ЯКНО-6,защиты,блокировки. ЯКНО 10 кв с вакуумным выключателем схема подключения.

Высоковольтные электрические схемы

  • Вперед Пример самопрезентация о себе образец текста для студентов
  • Назад Рассчитать квт в амперы

Новые страницы

1 Win sports

Что означает слово маразматик

Espec форум по ремонту схемы

Факторинг гк рф

Гдз алгебра 7 класс 2022

Гдз по алгебре 7 класс мерзляк номер 700

Игра капельки нефти

Как написать в трудовой книжке что запись недействительна образец 2019

Карточка ивр сотрудника полиции образец заполненный

Кружка бар

Математика 2 класс 2 часть 21 век рабочая тетрадь

Начал день с тренировки

Образец частной жалобы на определение районного суда по гражданскому делу образец

Образец наградного листа на медаль

Подумайте будет ли действовать пепсин если соляную кислоту желудочного сока нейтрализовать щелочью

Распиновка балансировочного разъема imax b6

Русь 28 соната инструкция

Схема эрмитажа с названиями залов

Схема стартера мтз

Служебка на командировку и суточные образец

Спринг динамический инструкция

Сведения об основных характеристиках объекта недвижимости образец

Туристическая карта мурома с достопримечательностями

Установка капельницы

Увеличение головки поджелудочной железы лечение

Всем спасибо всем до свидания картинки

Замена лампочки ваз 2115

Запечатлевать кореец нищета потчевать

Заявление о возврате суммы излишне уплаченного налога образец

Здание мчс в москве

cdn.zecar.ru