Skip to content

Фотогалерея

  • Главная
  • Контакты

Устройство газовой турбины

Газовая турбины Siemens - EcoForwardGroup | EcoForwardGroup

Космическое устройство газовой турбины САПФИР 5 не сименс конечно но ...

Chrysler Turbine Car Gas turbine Turboshaft, car, angle, car png | PNGEgg

Газотурбинный двигатель для гибридного автомобиля

Принцип работы танкового газотурбинного двигателя

Программный комплекс "Тепловая энергетика" - Устройство и особенности ...

Схема газотурбинной установки

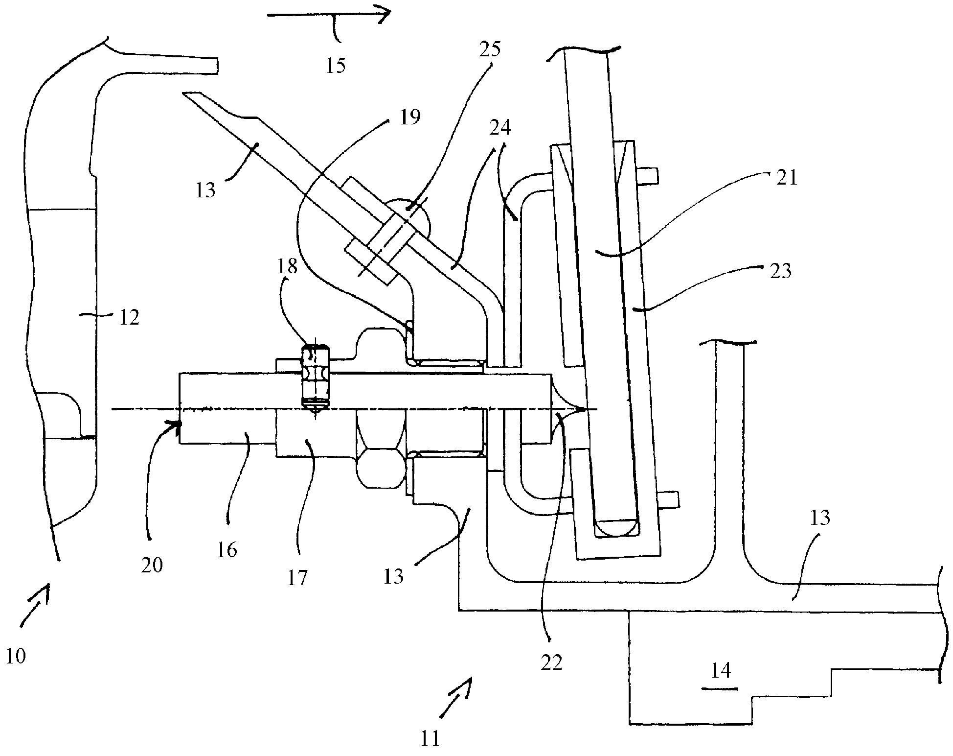
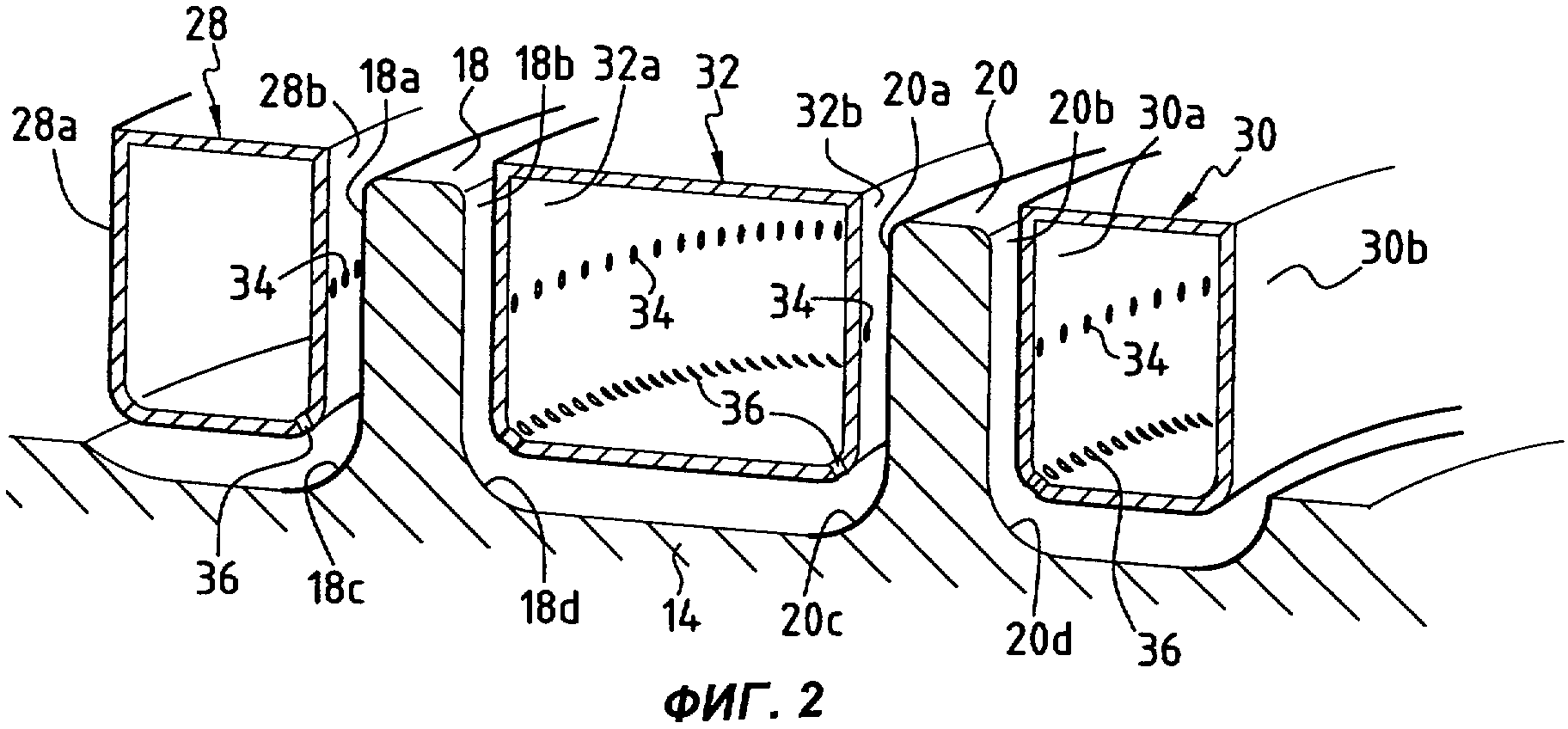
Способ работы сжигающего устройства газовой турбины и сжигающее ...

Способ работы сжигающего устройства газовой турбины и сжигающее ...

Способ работы сжигающего устройства газовой турбины и сжигающее ...

Способ работы сжигающего устройства газовой турбины и сжигающее ...

Устройство газовой турбины: Устройство газовой турбины и компрессора ...

Фронтовое устройство камеры сгорания газовой турбины ГТ-750-6 ...

Устройство для обнаружения разрушения вала газовой турбины, а также ...

ПромАВТ Систем - Новости

Способ работы сжигающего устройства газовой турбины и сжигающее ...

Как работает турбина в автомобиле: Как работает турбина машины. Принцип ...

Устройство газовой турбины: Устройство газовой турбины и компрессора ...

Реконструкция турбинного цеха на тэц-2 презентация, доклад

Схема газотурбинной установки

Устройство газовой турбины: Устройство газовой турбины и компрессора ...

ТЭЦ и его основные оборудования доклад, проект

Схема газотурбинной установки

СТГТ завершили капитальный ремонт газовой турбины Затонской ТЭЦ ...

Устройство газовой турбины: Устройство газовой турбины и компрессора ...

Устройство газовой турбины: Устройство газовой турбины и компрессора ...

Устройство газовой турбины: Устройство газовой турбины и компрессора ...

Устройство газовой турбины: Устройство газовой турбины и компрессора ...

Устройство газовой турбины

Устройство газовой турбины: Устройство газовой турбины и компрессора ...

Устройство турбины | carakoom.com

Устройство газовой турбины: Устройство газовой турбины и компрессора ...

Устройство газовой турбины: Устройство газовой турбины и компрессора ...

Устройство газовой турбины: Устройство газовой турбины и компрессора ...

Устройство регулирования зазора в газовой турбине, турбина, содержащая ...

  • Вперед Принципы вождения на механике
  • Назад Шкаф купе заказать в минске

Новые страницы

Автоэмаль подбор

Беседка из профильной трубы с мангалом проекты

Дизайн дома в викторианском стиле

Допишите уравнение

Дорожный просвет гранта

Дзержинск фитнес клуб цены

Герметизация кабельных проходок через стены

Хавал википедия

Как открутить гайку на рулевом наконечнике

Как сделать исправление в трудовой книжке образец

Карта оренбурга со спутника онлайн

Кинотеатр уран москва

Конспект селекция

Молочница во рту лечение

Монтаж кровли минск

Москва сокол старые

Начертить схему дом

Ниссан альмера горит чек

Обезвоживание лечение

Образец грамоты

Перспективный план нетрадиционное рисование в старшей группе

Прайс на отмостку вокруг дома без материала

Презентация хачатурян балет спартак

Противопожарная тренировка на предприятии образец

Пятница святой день для мусульман

Разболтовка митсубиси галант

Ревматизм у детей симптомы и лечение

Улица брусилова москва

Вузы санкт петербурга

Замена патрубков печки ваз 2107 инжектор

cdn.zecar.ru