Skip to content

Фотогалерея

  • Главная
  • Контакты

Транзистор кт825г характеристики

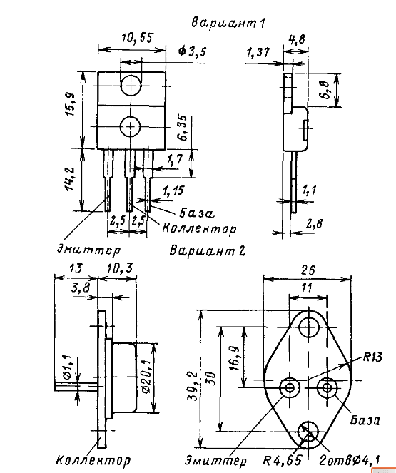
Транзистор КТ825Г: характеристики и области применения

Транзистор КТ825Г: характеристики и области применения

Транзистор КТ825Г: характеристики, схемы, аналоги

КТ825Г характеристики транзистора, аналог и цоколевка

Транзистор КТ825Г: характеристики, аналоги и datasheet

Транзистор КТ825Г: характеристики и области применения

Datasheet и схемы: Транзистор КТ805. Его характеристики и расположение ...

Транзистор КТ825Г - YouTube

Транзистор КТ825Г: характеристики, схемы, аналоги

Транзистор КТ825Г: характеристики, аналоги и datasheet

Транзистор кт818гм параметры аналоги фото - PwCalc.ru

Транзистор КТ825Г: характеристики, схемы, аналоги

Транзистор КТ825Г акция -35% распродажа по низкой цене в Дедовске!

КТ825Г, составной транзистор, PNP, 90V, 20A, 125W, КТ-9. — купить в ...

Транзистор кт818гм параметры аналоги фото - PwCalc.ru

Транзистор кт818гм параметры аналоги фото - PwCalc.ru

Транзистор по схеме Дарлингтон кт825Г | Festima.Ru - Мониторинг объявлений

КТ825 кт825д КТ825Г транзистор кремнієвий - Retro-IF

КТ825 кт825д КТ825Г транзистор кремнієвий - Retro-IF

Транзистор КТ825: характеристики, аналоги, цоколевка

КТ825 кт825д КТ825Г транзистор кремнієвий - Retro-IF

Популярный транзистор кт805а в металле и кт805ам в пластмассе.Чем они ...

Транзистор кт818гм параметры аналоги фото - PwCalc.ru

Кт805ам характеристики транзистора, datasheet, цоколевка и аналоги

Datasheet bcp55 pdf ( даташит ) - infineon technologies ag

Кт825 цоколевка: КТ825 характеристики транзистора, аналоги, datasheet и ...

Ответы Mail: Как проверить транзистор КТ825Г

Купити Транзистор б/у КТ825Г 2Т825А. 2Т825Б 2Т825В перевірені. Є нові ...

Транзистор кт818гм параметры аналоги фото - PwCalc.ru

Купити 2Т825А КТ825Г транзистор кремнієвий PNP 30А 90В 125W, ціна 201. ...

Транзистор кт829а характеристики: Транзистор КТ829А: характеристики ...

Транзистор кт825г, цена 15 р. купить в Мозыре на Куфаре - Объявление ...

Транзистор кт825: характеристики, аналоги, цоколевка

Транзистор КТ825А акция -35% распродажа по низкой цене в Дедовске!

Практикум радиолюбителя: Составной транзистор КТ829.Цоколевка ...

  • Вперед Каленчук 3 класс учебник
  • Назад Пошаговые старые стратегии на пк

Новые страницы

1 Uf

Бусы картинка для детей

Choose the sentences in passive voice and translate them into russian

Докажите что если при пересечении двух прямых

Электронная схема 2 8 1

Электронный знаток 999 схем

Гдз по русскому упражнение 665

Геометрия 1124

Горы восхождение

Ивановские храмы

Красивые места в украине

Лобковые вши симптомы лечение фото

Математика 3 класс страница 66 номер

Метро москвы схема новая крупным планом показать

Набережная туполева

Навыки проведения тренингов

Не болят мышцы после тренировки

Оптопара резисторная

Панамера машина

Река пара рязанская область

Схема кассы из бумаги

Схема обратного напряжения

Siemens схема подключения

Система дом схема подключения

Спортивные близняшки

Спортзал ульяновск цены

Транзистор st1803dhi аналог

Виды массажа и их описание

Замена лампочек кнопок логан

Заявление на мошенников в полицию образец

cdn.zecar.ru