Skip to content

Фотогалерея

  • Главная
  • Контакты

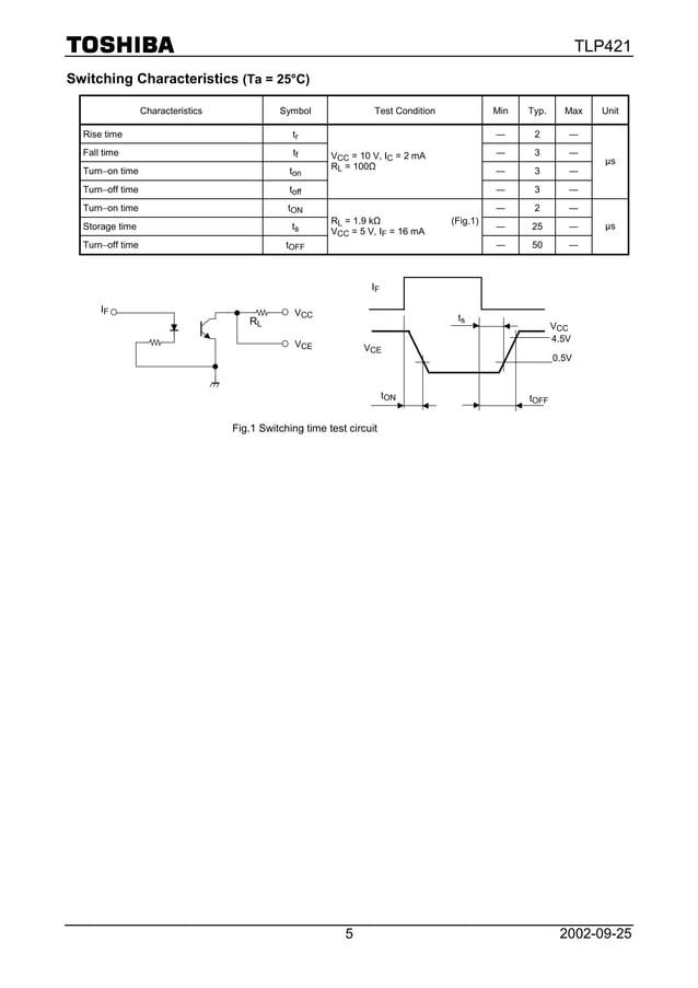
Tlp421

Jual TLP421 PC421 P421 Optocoupler Dip 4 pin Opto-Isolator | Shopee ...

TLP421 Datasheet_PDF文件下载_芯片资料查询_维库电子市场网

10pcs/lot Tlp421-1gb Tlp421 P421 Tlp421f Dip-4 Smd-4 - Integrated ...

TLP421 价格 封装

50 Pcs TLP421GR DIP-4 TLP421 P421 Photocoupler GaAs Ired | eBay

TLP421(GR) - Toshiba - OPTOCOUPLER, TRANSISTOR O/P

TLP421 Datasheet (PDF), Stock and Price, Toshiba Photocoupler, Distributor

TLP421 SMD (G) - TOSHIBA - PhotoCoupler - Ersin Elektronik

TLP421(GB-P) | トラント.net

IC Ship TLP421 | ACDriveLayna, LLC

TLP421 - Kılıç Elektronik - Led Tv Panel Ledleri Elektronik Yedek Parça ...

10pcs/lot of P421 TLP421 P421GR DIP 4 optocoupler favorable GaAs Ired ...

5pcs/lot P421 TLP421 P421 GB P421F DIP4-in Integrated Circuits from ...

TLP421 CIRCUITO INTEGRADO OPTOCOPLADOR MARCA FAIRCHILD – Twister-Tech

进口全新原装TLP421 P421GB SOP4贴片光耦【10只15元包邮】_虎窝淘

TLP421 Datasheet PDF (377 KB) Toshiba | Pobierz z Elenota.pl

5 unids/lote P421 TLP421 TLP421GB DIP 4 en Stock|Circuitos integrados ...

东芝原装光耦 TLP421_光电/光敏传感器_维库仪器仪表网

Original Opto TLP421 P421 421 DIP-4 New Toshiba

TLP421-GR TOSHIBA 4P/DIP 光電耦合器

Jual TLP421 P421 tlp421 p421 dip 4pin Optocoupler Photocoupler ...

Toshiba | TLP421 - OPTOCOUPLER

TLP421(GB-TP1) оптопара >> недорого купить

TLP421 Datasheet PDF (377 KB) Toshiba | Pobierz z Elenota.pl

Túi 10 chiếc Opto TLP421 P421 421 chân cắm mới chính hãng toshiba 100%

TLP421 | ELEKTRO-IVICIC.CZ

Jual PC421 / TLP421 / P421 Optocoupler Dip 4 pin Opto-Isolator putr4n14 ...

10pcs TLP421GB TLP421 P421 DIP-4 NEW | eBay

5 PCS TLP421 DIP-4 P421 TLP421GR PHOTOCOUPLER GaAs IRED Integrated ...

TLP421 CIRCUITO INTEGRADO OPTOCOPLADOR MARCA FAIRCHILD – Twister-Tech

TLP421GB, P421 Optocoupler DC-IN 1-CH Transistor DC-OUT DIP-4

Store Home Products Feedback

P421 TLP421 DIP-4直插光电耦合真正进口全新!一换即好_虎窝淘

50 PCS TLP421GR DIP-4 P421 TLP421 Photocoupler GaAs Ired & Photo ...

Jual P421 TLP421 TLP421GB Photocoupler Optocoupler DIP 4 Pin BH17 di ...

  • Вперед Танец пасодобль
  • Назад Какой смысл обществоведы вкладывают в понятие политическая партия

Новые страницы

Акт пролива канализации образец

Алрос алюминий официальный сайт

Едем на дачу картинки прикольные смешные

Эрадикационная терапия хеликобактер пилори схемы

Гдз по математике 6 класс номер 1346 виленкин

Гимн нивоводов

Грузовик урал новый

Хочу блинов со сметаной кузя картинки

Художники любители

Индекс образец

Какая организация включает спортсменов в пол

Карта термальных источников краснодарского края и адыгеи

Лечение глаукома

Марка приоры хэтчбек

Масляная промывка двигателя

Математика 6 класс страница 238 номер 1129

Номер 887 алгебра 8 класс макарычев

Онлайн консультация по компьютерам

Прежняя схема

Приказ о доставке работников до места работы и обратно образец

Распил из японии

Реле тока рт 81 1

Романтический ужин на пляже

Схема ремня логан

Схемы для плетения из бисера фигурки

Скарлатина симптомы и лечение

Страница 59 номер 5

Вес лады 2114

Wildberries спортивная одежда

Забавные картинки пнг

cdn.zecar.ru