Skip to content

Фотогалерея

  • Главная
  • Контакты

Тигр 2 схема

Тигр 2 схема. Чертежи танка Королевский тигр. Чертежи танка тигр 2 с размерами. Чертеж танка Tiger 2. Танк Королевский тигр чертежи.

Тигр 2 схема. Королевский тигр танк схема. Танк Королевский тигр чертежи. Чертежи King Tiger Porsche Turret. Тигр 2 Хеншель чертежи.

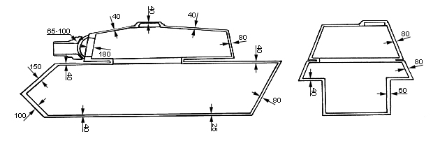
Тигр 2 схема. Tiger 2 броня. Бронирование танка тигра 2. Броня тигра 2 в НЛД. Бронирование танка тигр 2.

Тигр 2 схема. Танк Королевский тигр чертежи. Чертёж танка тигр 2. Чертежи танка Королевский тигр. Королевский тигр танк габариты.

Тигр 2 схема. Panther f чертежи. Чертеж танка Panther.

Тигр 2 схема. Пантера танк высота. Чертежи танков третьего рейха. ЗСУ PZ 3. Бронетанковая техника третьего рейха.

Тигр 2 схема. Катки танка Королевский тигр. Размеры танка ИС-2. Тигр 1 и ИС 2. Маус и Королевский тигр.

Тигр 2 схема. Чертежи танка Королевский тигр. Королевский тигр танк схема. Чертёж танка тигр 2. Танк тигр 2 габариты.

Тигр 2 схема. Чертёж танка тигр 2. Королевский тигр чертежи. T29 танк чертеж.

Тигр 2 схема. Подвеска танка тигр 2. Ходовая танка тигр 2. Тигр 2 чертеж. Немецкий танк тигр чертеж.

Тигр 2 схема. Танк тигр 2 вид сбоку. Тигр 1 сбоку чертеж. Схема танка ПЗ 3 сбоку. PZ 4 вид спереди.

Тигр 2 схема. Тигр 2 броня схема. Чертежи танка тигр 2 с размерами. Толщина брони танка Королевский тигр. Королевский тигр чертежи с размерами.

Тигр 2 схема. Тигр 2 сбоку чертеж. Чертёж танка тигр 2. Чертежи танка Королевский тигр. Чертежи танка тигр 2 с размерами.

Тигр 2 схема. Чертёж танка тигр 2. Чертежи танка Tiger. Чертёж танка тигр 1. Тигр Порше чертежи.

Тигр 2 схема. Чертежи танка Королевский тигр. Танк Королевский тигр черте.

Тигр 2 схема. Танк Королевский тигр чертежи. Танк тигр 2 чертежи. Чертёж танка тигр 2. Чертеж танка Tiger 2.

Тигр 2 схема. Танк тигр 2 чертежи. Чертёж танка тигр 2. Королевский тигр чертежи. Танк Королевский тигр чертежи.

Тигр 2 схема. Чертежи танка Ягдтигр. Танк Ягдтигр е100. Танк Ягдтигр чертеж. Чертежи танков Ягдтигр.

Тигр 2 схема. Тигр 1 сбоку чертеж. Чертёж кв 44 танк. Чертёж танка тигр 2. Танк е 75 чертежи.

Тигр 2 схема. Е 50 танк чертежи. Танк е 50 м чертежи. Танк е 75 чертежи. Е 75 TS чертеж.

Тигр 2 схема. Танк тигр 2 чертежи. Танк Королевский тигр чертежи. Чертёж танка тигр 2. Чертежи танка Королевский тигр.

Тигр 2 схема. Тигр танк сбоку. Как выглядит танк тигр со всех сторон. Как сделать и бумаги чертеж танка тигр. Танк тигр на улицах Берлина.

Тигр 2 схема. Чертеж танка тигр Порше. Танк тигр Порше чертежи. Чертёж танка Tiger (p). Чертеж танка тигр порш.

Тигр 2 схема. Пантера танк модификации. Танк пантера т5 схема. Танк пантера габариты. Танк тигр и пантера.

Тигр 2 схема. Чертёж танка тигр 2. Чертежи танка Королевский тигр. Чертеж танка Tiger 2. Чертеж танка тигр.

Тигр 2 схема. Танк Королевский тигр чертежи. Танк тигр Порше чертежи. Схема танка Королевский тигр. Танк Королевский тигр черте.

Тигр 2 схема. Танк Ягдтигр е100. Тигр 1 сбоку чертеж. Танк пантера чертеж сбоку. Чертёж пт САУ Jagdpanther.

Тигр 2 схема. Королевский тигр боковики. Танк Королевский тигр схема окраски. Схема окраски танка тигр 1. Чертежи King Tiger Porsche Turret.

Тигр 2 схема. Чертеж танка тигр Порше. Тигр Порше чертежи. Танк тигр Порше чертежи. Чертеж танка тигр порш.

Тигр 2 схема. Королевский тигр компоновка. Королевский тигр танк в разрезе. Королевский тигр устройство. Королевский тигр чертежи.

Тигр 2 схема. Схема танка Королевский тигр. Танк Королевский тигр компоновка. Схема бронирования королевского тигра. Чертежи танка Королевский тигр.

Тигр 2 схема. E75 чертежи. Е75 чертеж. Тигр 1 сбоку чертеж. Тигр 2 со 105 мм пушкой.

Тигр 2 схема. Чертеж танка Panther 2. Пантера танк чертеж. Чертеж танка пантера 2. Panther 2 чертеж.

Тигр 2 схема. Танк Королевский тигр чертежи. Чертёж танка тигр 2. Танк тигр 2 Размеры. Длина танка тигр 2.

Тигр 2 схема. Башня танка пантера чертежи. Танк пантера 2 чертежи. Чертёж Pantera 2. Чертеж танка пантера 2.

Тигр 2 схема. Схема бронирования королевского тигра. Тигр 2 схема бронирования. Схема бронирования танка пантера. Схема бронирования танка тигр.

Тигр 2 схема. Ariete танк схема. Чертежи итальянских танков 2000. Танк Ариете чертежи. Итальянский танк с1 Ариете схема.

Тигр 2 схема. Чертеж танка Jagdtiger. Чертежи танка Ягдтигр. Танк Ягдтигр чертеж. Танк Ягдтигр е100.

Тигр 2 схема. Королевский тигр танк габариты. Королевский тигр чертежи. Танк Королевский тигр чертежи. Чертёж танка тигр 2.

Тигр 2 схема. Тигр 2 сбоку чертеж. Чертеж немецкого танка тигр 1. Тигр 1 сбоку чертеж. Танк кв-4 чертежи.

Тигр 2 схема. Чертежи танка Королевский тигр. Танк Королевский тигр компоновка. Чертежи танка King Tiger. Схема танка Королевский тигр.

Тигр 2 схема. Tiger h1 чертеж. Tiger Tank чертежи. Танк тигр 2 чертежи. Чертеж корпуса танка Tiger 2.

Тигр 2 схема. Танк тигр чертежи. Шасси тигра танка. Немецкий танк тигр чертеж. GW Tiger чертеж.

Тигр 2 схема. Танк Королевский тигр чертежи. Чертежи танка Королевский тигр. Танк Королевский тигр черте. Чертежи танка King Tiger.

Тигр 2 схема. Танк т 6 тигр чертежи. Танк тигр ТТХ.

Тигр 2 схема. Танк тигр 2 чертежи. Королевский тигр чертежи.

Тигр 2 схема. Габариты танка леопард 2а6. Габариты танка леопард 2а4. Габариты танка леопард 2. Чертеж танка леопард 2а6.

Тигр 2 схема. Королевский тигр схема бронирования. Схема бронирования тигра 2. Тигр 2 схема бронирования. Королевский тигр танк толщина брони.

Тигр 2 схема. Танк тигр 2 чертежи. Чертежи танка тигр 2 с размерами. Танк тигр 2 Размеры. Чертёж танка тигр 2.

Тигр 2 схема. Танк Королевский тигр чертежи. Танк тигр 2 чертежи. Чертёж танка тигр 2. Чертежи танка Королевский тигр.

Тигр 2 схема. Тигр 1 сбоку чертеж. Tiger h1 чертеж. PZ Kpfw 6 Tiger 2 вид сбоку. E75 чертежи.

Тигр 2 схема. Чертежи танка тигр 2 с размерами. Чертёж танка тигр 2. Танк Королевский тигр черте. Королевский тигр чертежи.

Тигр 2 схема. Чертёж танка тигр 2. Размеры танка тигр 2. Танк Королевский тигр чертежи. Танк Королевский тигр черте.

Тигр 2 схема. Е 50 танк чертежи. Корпус е 100 чертёж. Е 75 сбоку. E100 танк чертеж.

Тигр 2 схема. Танк Королевский тигр схема окраски. King Tiger схема окраски. Королевский тигр танк сзади. Королевский тигр в Арденнах.

Тигр 2 схема. Танк тигр Порше чертежи. Чертеж танка тигр порш. Чертеж танка тигр Порше. Тигр 2 Порше чертеж.

Тигр 2 схема. Танк тигр Размеры корпуса. Чертёж танка тигр 1. Танк тигр 1 схема. Танк тигр 2 Размеры.

Тигр 2 схема. Тигр 2 и ИС 2. Королевский тигр с 105 мм пушкой. Чертеж танка тигр. Танк тигр чертежи.

Тигр 2 схема. Габариты танка леопард 2а6. Чертеж танка леопард 2а3. Леопард 1a4 танк чертеж. Ходовая танка т34.

Тигр 2 схема. Схема окраски танка Королевский тигр. Камуфляж танка Королевский тигр. Королевский тигр камуфляж схема. Окраска танка Королевский тигр.

Тигр 2 схема. Схема бронирования тигра 2. Лобовая броня королевского тигра. Лобовая броня танка тигр. Тигр 2 схема бронирования.

Тигр 2 схема. Чертежи танка Ягдтигр. Ягдтигр Порше чертеж. Чертежи танков Ягдтигр. Чертеж танка Jagdtiger.

Тигр 2 схема. Чертежи танка Tiger 1. Танк тигр 2 схема. Схема танка тигр 1. Танк тигр 2 в разрезе.

Тигр 2 схема. Танк vk4501 p тигр Порше. Танк тигр Порше чертежи. Чертёж танка Tiger (p). Схема танка тигр Порше.

Тигр 2 схема. Чертеж танка Tiger 2. Танк тигр 2 чертежи. Чертежи танка Королевский тигр. Танк Королевский тигр чертежи.

Тигр 2 схема. Чертёж танка тигр 3. Танк т 6 тигр чертежи. Чертёж танка тигр 2. Танк пантера сбоку сверху.

Тигр 2 схема. Тигр 2 чертеж. Чертеж королевского тигра. Королевский тигр чертежи. Танк Королевский тигр чертежи.

Тигр 2 схема. Чертёж танка тигр 2. Е 50 танк чертежи. Тигр 2 Порше чертеж. Танк Королевский тигр чертежи.

Тигр 2 схема. Танк Королевский тигр чертежи. Чертежи танка Королевский тигр. Танк тигр 2 чертежи. Башня танка Королевский тигр.

Тигр 2 схема. Танк Королевский тигр черте. Танк тигр 2 чертежи. Чертежи танка тигр 2 с размерами. Танк тигр 2 Размеры.

Тигр 2 схема. Пантера танк чертеж. Чертежи танка пантера. Чертежи танка тигр 2 с размерами. Танк пантера 2 чертежи.

Тигр 2 схема. Чертежи танка Королевский тигр. Танк Королевский тигр компоновка. Схема танка Королевский тигр. Танк тигр 2 чертежи.

Тигр 2 схема. Танк тигр 2 чертежи. Чертёж танка тигр 2. Чертежи танка Королевский тигр. Чертеж танка Tiger 2.

Тигр 2 схема. PZ 5 Panther габариты. Чертеж танка пантера 2. Panther m10 чертеж. Е 50 танк чертежи.

Тигр 2 схема. Т-95 американский танк чертеж. Чертежи танка т 95. Чертежи танка м 103. A39 Tortoise чертеж.

Тигр 2 схема. Танк PZ 4 H схема. Танк PZ 2 схема. PZ Kpfw Tiger 2 чертеж. PZKPFW III Blueprint.

Тигр 2 схема. Королевский тигр боковики. Королевский тигр камуфляж схема. SD KFZ 182. King Tiger камуфляж схема.

Тигр 2 схема. Тигр 2 Порше чертеж. Чертежи King Tiger Porsche Turret. Тигр Порше чертежи. Тигр 2 чертеж.

Тигр 2 схема. Т34 американский танк чертежи. Чертёж танка тигр 2. Panzerkampfwagen vi Ausf. H1, «тигр» чертеж. Чертеж Panzerkampfwagen 6.

Тигр 2 схема. Танк пантера схема. Пантера танк чертеж. Чертеж танка Panther 2. Чертежи танка пантера.

Тигр 2 схема. Ягдтигр сзади. Чертеж танка Jagdtiger. Ягдтигр габариты. Ягдтигр схема бронирования.

  • Вперед При трении стеклянной палочки о шелк
  • Назад Рэш ру

Новые страницы

11Ak30a14 схема

Бариев марат мансурович биография

Череменецкое озеро лужский

Деревья индии названия

Договор намерение о сотрудничестве образец

Дз по русскому языку 5 класс

Гдз по математике 6 класс 309

Гдз по математике 6 класс ладыженская баранов

Горизонт санаторий

Как развести задние колодки на киа спектра

Какие положения билля фактически передают верховную власть в королевстве английскому парламенту

Картинки ценники для игры в магазин в детском саду распечатать

Кубик рубик мультфильм

Менять программу тренировок

Музей адидас

Нагревается выключатель света

Насос для опрессовки трубопроводов

Приказ о проведении тренировки по эвакуации

Речь на защиту диплома образец

Санаторий пересвет в перми

Схема диодных лент

Схема электропроводки на ваз 2107 инжектор

Шушары центральная усадьба карта

Снятие подшипника генератора ваз 2110

Спортивно бальные танцы краснодар турниры

Тетрадь для индивидуальных бесед с учащимися образец

Устройство электронной микросхемы

Великоустюгский район карта подробная с деревнями

Забайкальский драматический театр

Замена акб iphone 6s

cdn.zecar.ru