Skip to content

Фотогалерея

  • Главная
  • Контакты

Технология изготовления интегральных микросхем

Технология изготовления интегральных микросхем. Элементы интегральных микросхем. Элементы конструкции полупроводниковых микросхем.. Структура полупроводниковой интегральной схемы. Элементы и компоненты полупроводниковых ИМС.

Технология изготовления интегральных микросхем. Схема производства интегральных схем. Микросхемы. Технология изготовления микросхем. Технология изготовления полупроводниковых микросхем. Процесс изготовления интегральных схем.

Технология изготовления интегральных микросхем

Технология изготовления интегральных микросхем. Станки для поверхностного монтажа печатных плат Белоруссия. Печатные платы РЭА. Технология поверхностного монтажа печатных плат. PCB И PCBA.

Технология изготовления интегральных микросхем. Гибридные Тонкопленочные полупроводниковые Интегральные микросхемы. Микросхемы Интегральные 5540тн014. Интегральные микросхемы ИМС. Топология интегральной схемы.

Технология изготовления интегральных микросхем

Технология изготовления интегральных микросхем

Технология изготовления интегральных микросхем. Фотолитография травление. Производства интегральных микросхем. Методы изготовления интегральных микросхем. Производство ИМС.

Технология изготовления интегральных микросхем. Полупроводниковые микросхемы схема. Основные конструктивные элементы ИМС. Основные конструктивные элементы интегральной микросхемы. Элемент полупроводниковой ИМС.

Технология изготовления интегральных микросхем

Технология изготовления интегральных микросхем

Технология изготовления интегральных микросхем. Этапы производства интегральных схем. Процесс изготовления микросхем. Первая интегральная схема на пластине кремния. Технология изготовления полупроводниковых микросхем.

Технология изготовления интегральных микросхем

Технология изготовления интегральных микросхем. Полупроводниковые Интегральные схемы микросхемы. Полупроводниковые микросхемы схема. Полупроводниковые микросхемы параметры. Технология изготовления гибридных интегральных микросхем.

Технология изготовления интегральных микросхем. Технологический процесс изготовления микросхем. Техпроцесс производства микросхем. Характеристика технологического процесса. Техпроцесс фотолитографии.

Технология изготовления интегральных микросхем

Технология изготовления интегральных микросхем. Процесс производства интегральных схем?. Технология интегральных микросхем. Монолитная интегральная схема. Интегральные схемы применяются.

Технология изготовления интегральных микросхем. Топология интегральной микросхемы. Право на топологии интегральных микросхем. Автор топологии интегральной микросхемы. Применение интегральных микросхем.

Технология изготовления интегральных микросхем. Конструкция полупроводниковой ИМС. Материалы для полупроводниковых микросхем. Изготовление полупроводников материал.

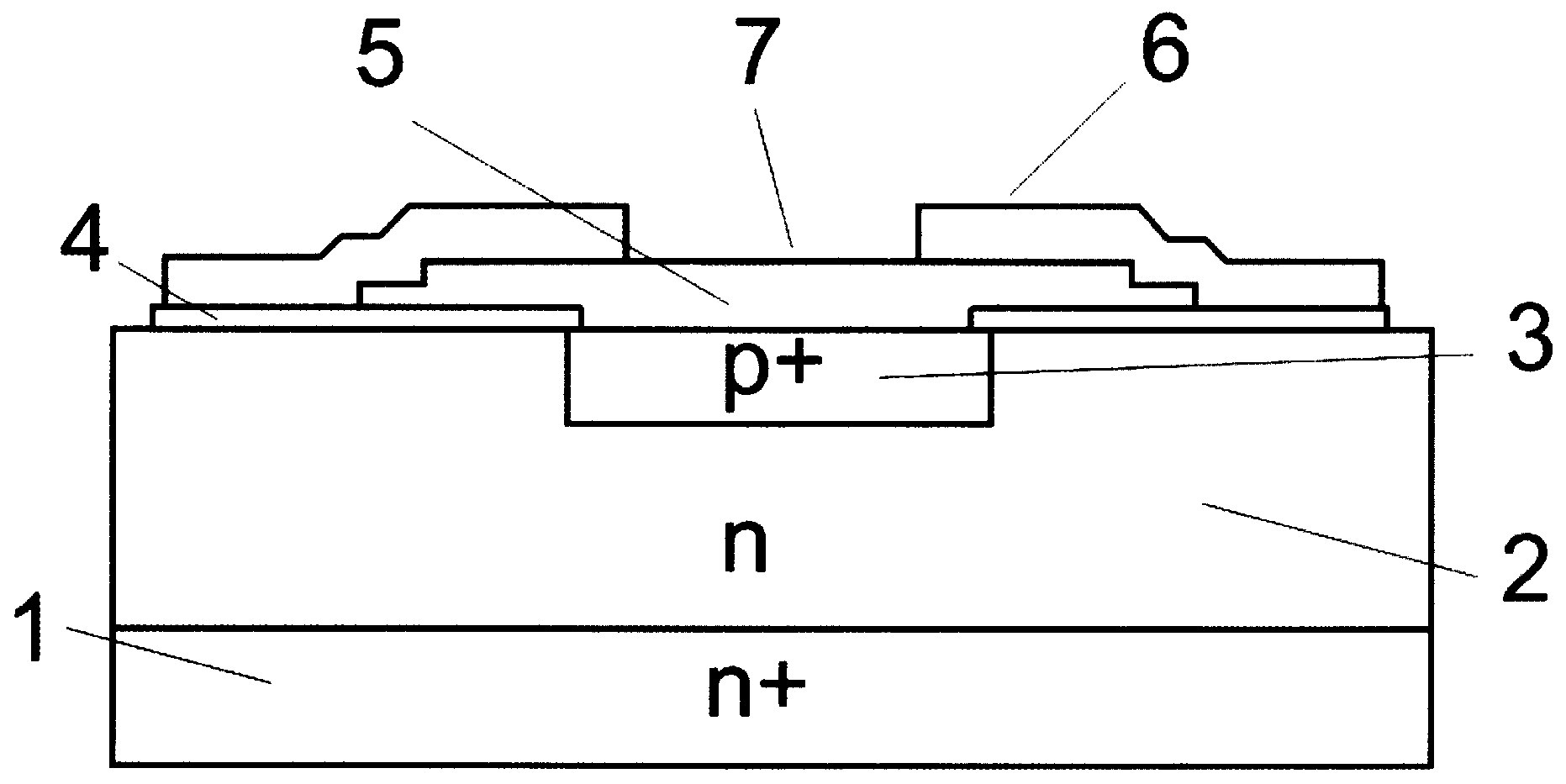
Технология изготовления интегральных микросхем. Элементы и компоненты полупроводниковых интегральных схем. Элементы конструкции интегральной схемы. Технология изготовления полупроводниковых интегральных схем. Структура планарно-эпитаксиального транзистора.

Технология изготовления интегральных микросхем. Изготовление интегральных микросхем. Производство микросхем схема. Производство ИМС.

Технология изготовления интегральных микросхем. Производства интегральных микросхем. Технология изготовления микросхем. Технология изготовления интегральных схем. Виды изготовления интегральных микросхем:.

Технология изготовления интегральных микросхем. Интегральные схемы микроэлектроники. Элементы интегральных микросхем. Полупроводниковые цифровые Интегральные микросхемы. Схемы электронные Интегральные.

Технология изготовления интегральных микросхем. СВЧ микроэлектроника. Сборщик микросхем. Производство микросхем. Производство электроники.

Технология изготовления интегральных микросхем

Технология изготовления интегральных микросхем. Микросхемы. Платы микросхемы. Красивые микросхемы. Микросхема макро.

Технология изготовления интегральных микросхем. Гибридные Интегральные микросхемы схема. Толстопленочные гибридные Интегральные схемы. Гибридные ИМС схема. Пленочные Интегральные схемы.

Технология изготовления интегральных микросхем. Процесс производства интегральных схем?. Технология производства интегральных микросхем. Технология изготовления полупроводниковых интегральных схем. Схема производства интегральных схем.

Технология изготовления интегральных микросхем. Микросхема ASIC. Интегральная микросхема. Электроника микросхемы. Микроэлектроника.

Технология изготовления интегральных микросхем. Гибридные ИМС схема. Гибридные Интегральные микросхемы схема. Элементы интегральных микросхем. Пассивные элементы интегральных микросхем.

Технология изготовления интегральных микросхем. Полупроводниковые Интегральные схемы микросхемы. Полупроводниковые микросхемы схема. Полупроводниковые Интегральные микросхемы структурная схема. Полупроводниковые ИМС схема.

Технология изготовления интегральных микросхем. Технологические процессы производства МДП-ИМС. Технологический процесс изготовления полупроводниковых приборов. Процесс изготовления микросхем. Техпроцесс изготовления микросхем.

Технология изготовления интегральных микросхем

Технология изготовления интегральных микросхем

Технология изготовления интегральных микросхем

Технология изготовления интегральных микросхем. Гибридные Интегральные микросхемы. Гибридно Пленочные Интегральные микросхемы. Гибридная интегральная схема. ГИС это гибридный интегральных схемы.

Технология изготовления интегральных микросхем

Технология изготовления интегральных микросхем. Структура элементов полупроводниковой ИМС. Конструкция полупроводниковой ИМС. Строение полупроводниковой интегральной микросхемы. Полупроводниковые микросхемы схема.

Технология изготовления интегральных микросхем. МДП-транзистор в ИМС. Интегральные микросхемы на основе МДП транзисторов. Технологические процессы производства МДП-ИМС. Транзистор в разрезе.

Технология изготовления интегральных микросхем. Технологическая схема производства гибридных микросхем. Схема производства интегральных схем. Процесс производства интегральных схем?. Схема производства ИМС.

Технология изготовления интегральных микросхем. Малышева технология производства интегральных микросхем. Технология производства интегральных микросхем учебник. Производство интегральных микросхем книга. Технология изготовления ИМС.

Технология изготовления интегральных микросхем

Технология изготовления интегральных микросхем. Процесс производства интегральных схем?. Технология производства ИМС. Технология изготовления микросхем. Изготовление интегральных микросхем.

Технология изготовления интегральных микросхем. Технология поверхностного монтажа СМД. SMD И BGA компоненты. Поверхностный монтаж SMD. Поверхностный монтаж SMD компонентов.

Технология изготовления интегральных микросхем. Комплементарные МДП транзисторы. Инвертор КМДП ИМС. КМДП структура. Комплементарная МДП структура.

Технология изготовления интегральных микросхем

Технология изготовления интегральных микросхем. Интегральные микросхемы на основе МДП транзисторов. Элементы конструкции полупроводниковых микросхем.. Полупроводниковые микросхемы схема. Пассивные элементы интегральных микросхем.

Технология изготовления интегральных микросхем. Топология интегральной микросхемы. Электронная компонентная база ЭКБ это. Микроэлектроника и электронная компонентная база (ЭКБ). Плата микросхема.

Технология изготовления интегральных микросхем. Полупроводниковые микросхемы схема. Полупроводниковые Интегральные схемы микросхемы. Интегральная схема эквивалентная схема. Полупроводниковые Интегральные микросхемы структурная схема.

Технология изготовления интегральных микросхем. Полупроводниковые микросхемы схема. Полупроводниковые Интегральные схемы микросхемы. Строение полупроводниковой интегральной микросхемы. Гибридные Интегральные микросхемы схема.

Технология изготовления интегральных микросхем. Технология производства интегральных микросхем. Технология производства ИМС. Технология производства ИМС книга. Производство интегральных микросхем книга.

Технология изготовления интегральных микросхем. Конструкция интегральных микросхем. Материалы для полупроводниковых микросхем. Основные типы микросхем. Классификация цифровых интегральных микросхем..

Технология изготовления интегральных микросхем. Оптическая плата Silicon 10 g. Микроэлектроника и полупроводниковые приборы. Проектирование интегральных микросхем. Микросхемы в нанотехнологиях.

Технология изготовления интегральных микросхем. Пленочные Интегральные микросхемы. Гибридная интегральная схема. Пленочные Интегральные схемы. Технология изготовления Пленочные Интегральные схемы.

Технология изготовления интегральных микросхем. Технология производства ИМС. Технология производства полупроводниковых микросхем. Этапы производства интегральных схем.

Технология изготовления интегральных микросхем. Интегральных микросхем (ИМС 7400, 7402, 7404). Толстопленочные гибридные Интегральные схемы. Полупроводниковые Интегральные схемы микросхемы. Схема производства интегральных схем.

Технология изготовления интегральных микросхем

Технология изготовления интегральных микросхем. CNC для печатных плат 2015. Линия SMD монтажа печатных плат. CNC станок для печатных плат лазером. Станки для поверхностного монтажа печатных плат Белоруссия.

Технология изготовления интегральных микросхем. Производство микросхем. Завод микросхем. Производство микросхем лазером. Технологии микроэлектроники.

Технология изготовления интегральных микросхем

Технология изготовления интегральных микросхем. Микросхемы. Цифровые микросхемы. Интегральная микросхема. Топология интегральной микросхемы.

Технология изготовления интегральных микросхем. Эпитаксиально планарный транзистор. Эпитаксиально-планарные схема. Эпитаксиальные диоды. Схема. Изготовление транзистора по планарной технологии.

Технология изготовления интегральных микросхем. Основные операции изготовления интегральных микросхем. Технологический процесс изготовления биполярных интегральных схем. Микросхемы. Технология изготовления микросхем. Технология изготовления полупроводниковых интегральных микросхем.

Технология изготовления интегральных микросхем. Гибридные Интегральные микросхемы схема. Гибридно Пленочные Интегральные микросхемы. Микросхемы Пленочные гибридные полупроводниковые. Гибридные ИМС схема.

Технология изготовления интегральных микросхем. Эпитаксиально-планарная технология биполярный транзистор. Планарно-эпитаксиальная технология изготовления ИМС. Эпитаксиальная технология изготовления транзисторов. Структура эпитаксиально-планарного транзистора.

Технология изготовления интегральных микросхем

Технология изготовления интегральных микросхем. ИМС микросхемы. Интегральная микросхема. Интегральная схема. Современные Интегральные микросхемы.

Технология изготовления интегральных микросхем. Многокристальные микропроцессоры. Многокристальные секционные микропроцессоры. Многокристальные модули. Производители микропроцессоров.

Технология изготовления интегральных микросхем. Электронная промышленность. Радиоэлектронная промышленность. Радиотехническая промышленность. Полупроводниковая промышленность.

Технология изготовления интегральных микросхем. Корпуса интегральных микросхем. Материал для микросхем. Конструкция микросхем. Типы интегральных микросхем.

Технология изготовления интегральных микросхем. Эпитаксиально-планарная технология биполярный транзистор. Планарная технология изготовления интегральных схем. Планарно-эпитаксиальная технология изготовления ИМС. Биполярный транзистор планарная технология.

Технология изготовления интегральных микросхем

Технология изготовления интегральных микросхем. Гибридные ИМС схема. Гибридные Интегральные микросхемы схема. Микросхемы Пленочные гибридные полупроводниковые. Строение гибридной микросхемы.

Технология изготовления интегральных микросхем

Технология изготовления интегральных микросхем

Технология изготовления интегральных микросхем. Серверные процессоры Baikal-s. Микросхемы. Интегральная микросхема. Микросхема ПК.

Технология изготовления интегральных микросхем. Схема производства ИМС. Производства интегральных микросхем. Производство микросхем схема. Производство ИМС.

Технология изготовления интегральных микросхем. Этапы производства интегральных схем. Гибридные Интегральные микросхемы схема. Общая схема техпроцесса изготовления толстопленочных микросхем. Структура интегральных микросхем микросхем.

Технология изготовления интегральных микросхем

Технология изготовления интегральных микросхем. Микрочип sh6. I9 12900k сокет. TSMC процессоры. Intel i9 12900k.

Технология изготовления интегральных микросхем

Технология изготовления интегральных микросхем. МДП интегральная микросхема. МДП-транзистор в ИМС. Структура МДП И МОП. Активные элементы микросхем.

Технология изготовления интегральных микросхем. Гибридные ИМС. Микросхемы Пленочные гибридные полупроводниковые. Гибридная микросхема. Кремниевые микросхемы.

Технология изготовления интегральных микросхем. Кристалл полупроводника микроэлектроника. Разварка кристаллов микросхем. Интегральных микросхем (ИМС 7400, 7402, 7404). Inwave микроэлектроника.

  • Вперед Фон спортивная семья
  • Назад Стук в ушах причины и лечение

Новые страницы

А комаров художник наводнение

Английский язык 5 класс страница 120 номер 3

Домашние тренировки для похудения

Флаг нидерландов картинки

Форд фокус вес

Гдз ок русский язык 5 класс

Герметик санитарный силиконовый прозрачный

Как правильно подкрашивать сколы

Карта уфы советский район с названиями улиц и номерами домов

Карточки действия для детей в картинках

Кофта для девочки регланом схема

Литературное чтение 3 класс 2 часть страница 112

Математика номер 344 6 класс

Миррор парк гта 5 карта

Образец доверенности на получение посылки на почте россии от физического лица

Опель вектра или астра

Отчет о сделках с заинтересованностью образец

Публичная кадастровая карта киржачского района владимирской области

Расценки на отделочные работы в уфе

Регулировка замков ваз 2110

Решебник к учебнику по математике 2 класс моро

С днем рождения илюша картинки мальчику

Таблица по географии евразия

Технология изготовления интегральных микросхем

Тренинг повышение уверенности в себе

Упражнение 317

Впр образец 6 класс

Всхлипываешь раскланявшийся вытянишься

Вскрытие замков звенигород

Японка отобрала 80 для выклеивания картины из аппликаций лоскутков 69 шелковых а остальные бумажные

cdn.zecar.ru