Skip to content

Фотогалерея

  • Главная
  • Контакты

Tda1557q datasheet

TDA1557Q Datasheet PDF (61 KB) Philips | Pobierz z Elenota.pl

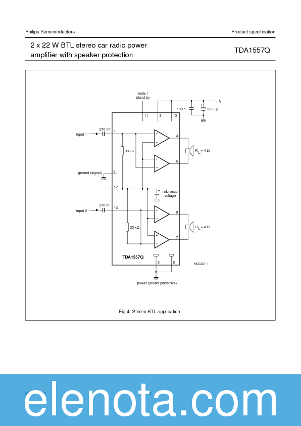
TDA1557Q datasheet(1/10 Pages) NXP | 2 x 22 W BTL stereo car radio ...

S1A120099 Datasheet - Reed Relay

TMP88CU74F_4414950.PDF Datasheet Download --- IC-ON-LINE

TDA7480_157712.PDF Datasheet Download --- IC-ON-LINE

радиоэлектроника для начинающих.усилители.микросхема tda1557

Car Audio Amplifier TDA1557Q TDA1553Q

Tda1557q amplifier circuit diagram

Wzmacniacz na TDA-1557Q nie działa... - elektroda.pl

Усилитель на TDA7294

D1779 Data Sheet | NEC

16F57 DATASHEET PDF

Index 45 - Amplifier Circuit - Circuit Diagram - SeekIC.com

TDA1557Q Datasheet pdf - NXP

Простой УМЗЧ на TDA1557Q

LT317 DataSheet | Linear Technology

STK4028_108530.PDF Datasheet Download --- IC-ON-LINE

HT2811 DataSheet | Holtek

Tda1557q - Страница 2 - УМЗЧ на интегральных и гибридных микросхемах ...

TDA1557Q Datasheet PDF (61 KB) Philips | Pobierz z Elenota.pl

Плохой звук на TDA1557Q - Страница 17 - Технический форум

TA7293P DataSheet | Toshiba

TDA7461D datasheet(2/30 Pages) STMICROELECTRONICS | CAR RADIO SIGNAL ...

QSC112_285830.PDF Datasheet Download --- IC-ON-LINE

LA6543 Selling Leads, Price trend, LA6543 DataSheet download, circuit ...

TDA1557Q_193078.PDF Datasheet Download --- IC-ON-LINE

TDA1557Q Datasheet PDF (61 KB) Philips | Pobierz z Elenota.pl

Усилители звука на микросхемах серии tda для любого радиолюбителя

SDA130G_1306374.PDF Datasheet Download --- IC-ON-LINE

MAX505 Data Sheet | Maxim

Mip2g4 datasheet схема включения - 97 фото

  • Вперед Тренировка электронного голосования
  • Назад Рисунок скуби ду для срисовки

Новые страницы

Боинг 737 800 победа схема салона с иллюминаторами

Фитнес клуб архангельск

Фон на презентацию город

Где по русскому языку 7 класс ладыженская синий учебник

Как намотать спидометр на газели

Как нарисовать котика красками легко

Карта метро москвы 2010г

Кран дисковый

Куда направлено трение качения

Mercedes benz x class

Монтаж рекламных баннеров

Монтаж винтовых свай

Номер 1092 по алгебре 7

Образцы подписи на букву д

Образец письма с приложением как оформить

Образец титульного листа для проекта 9 класса

Октавия самара

Погибшие в аэропорту

Раковина 50 см

Регулятор болгарки схема

Русский язык 7 класс ладыженская учебник гдз зеленый

Шаблон трудового договора с работником образец

Схема лужников с рядами

Сколько будет стоить повесить люстру

Технолог швейного производства резюме

Укладка плитки на пол в туалете

Усиление балкона под пластиковое остекление

Велосипед fixed gear

Заха хадид архитектор ее работы

Защита жилья

cdn.zecar.ru