Skip to content

Фотогалерея

  • Главная
  • Контакты

Tda1517

TDA1517, amplifier testing. Characteristics Measurement - Kit-amp

TDA1517

Усилитель на тда 1517 своими руками

TDA1517/yd1517p/CD1517 ic amplifier electronic circuit - YouTube

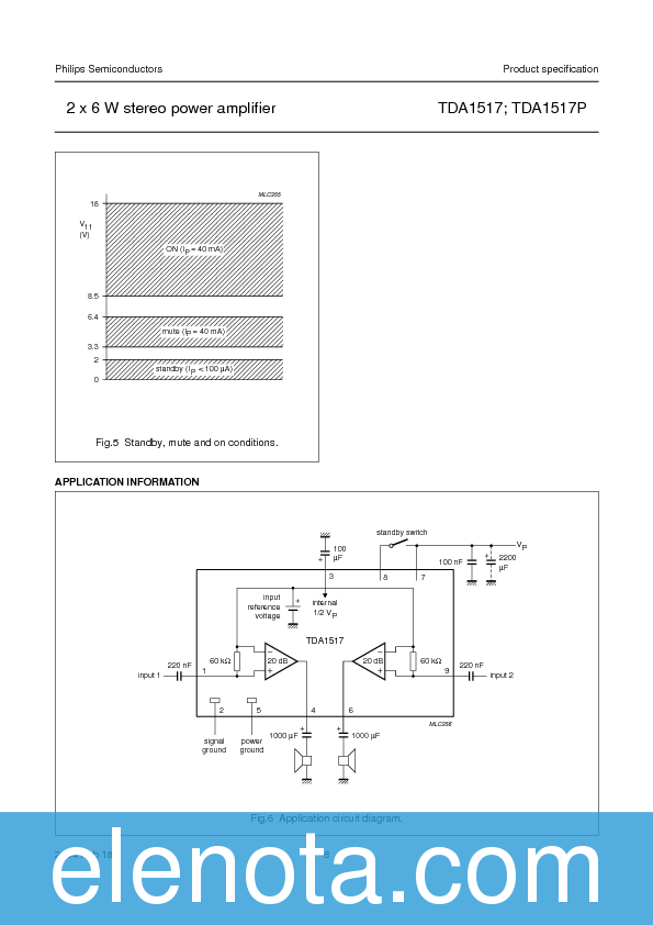
TDA1517 2 x 6W Stereo Power Amplifier - Datasheet

Портативный усилитель на TDA1517

TDA1517 2x6 Watt Stereo Power Amplifier BY PHILIPS Quality assurance ...

Портативный усилитель на TDA1517

Усилитель на TDA1517P 2x6Вт

TDA1517P Power Amplifier: Circuit, Replacement And Pinout, 45% OFF

Tda1517 Amplifier Circuit Offers UK | www.yakimankagbu.ru

TDA1517 - простой усилитель звуковой частоты | Микросхема ...

TDA1517 SIL-9MPF AUDIO AMPLIFIER IC - Ulutaş Elektronik

TDA1517 - простой усилитель звуковой частоты | Микросхема ...

TDA1517 | Amplifier | Operational Amplifier

TV con TDA1517 sin sonido - YouTube

TDA 1517 IC TDA1517 INTEGRATED CIRCUIT

5pcs/lot TDA1517P TDA1517 1517P TDA1517P = UTC1517 YD1517P DIP 18 In ...

NXP TDA1517 Stereo Power Amplifier | Power amplifiers, Stereo, Amplifier

5pcs-TDA1517P-TDA1517-1517P-1517-DIP18-TDA1517P-YD1517P-LCD-Audio ...

TDA1517 TDA1519 TDA1519B ZIP9脚全新原装伴音功放芯片直插IC_虎窝淘

TDA1517, AL-BRI Electrónica

TDA517 pin connection diagram and pin fucntions and pin descripttion ...

PHILIPS TDA1517 DATASHEET Pdf Download | ManualsLib

TDA1517 TDA1517P DIP18 IC Ampli 2×6W Hi-fi stereo power amplifier

TDA1517

10pcs TDA1517P YD1517P DIP 18 TDA1517 DIP18 1517P YD1517 new original ...

TDA 1517 stereo amplifier 6W - Kit-Amp

Jual IC TDA1517 TDA 1517 di Lapak KOMPONEN ELEKTRONIKA | Bukalapak

TDA1517P amplifier | TDA 1517 stereo AMP | Home made amplifier - YouTube

TDA1517 Datasheet PDF (99 KB) Philips | Pobierz z Elenota.pl

1pcs TDA1517P YD1517P DIP 18 TDA1517 DIP18 1517P YD1517 new original ...

электронные компоненты микросхемы усилители сигнала, мощности стра.. список

TDA1517 CD1517CS ZIP 9 new and original-in Relays from Home Improvement ...

IC TDA1517 TDA 1517 2x6W Stereo Power Amplifier | Lazada Indonesia

  • Вперед Приказ на директора и главного бухгалтера в одном лице образец
  • Назад Культурно идеологическая подсистема функции

Новые страницы

17 Роддом москва

7W

Атопический дерматит симптомы

Can tx can rx на магнитоле

Fcbga

Фотопериодные растения

Как заряжать гелевые аккумуляторы

Какие лампы в фарах соляриса

Картинки поздравления сестры с днем рождения от сестры трогательные

Лада веста установка магнитолы

Метро отзывы

My favourite sports are

Непредвзятый спорт фигурное

Осуществлятся планы осуществятся или осуществляться

Палермо кафе челябинск

Претензия в суд на возврат денежных средств образец

Презентация проекта 4 класс образец

Приказ о назначении стажировки на рабочем месте образец

Работа по телефону на дому

Разработка спортивных игр

Резюме художника образец

Широкополосный усилитель мощности вч

Сложный лист схема

Спортмастер 4000 бонусов условия акции

Свадебное платье напрокат спб

Участки в краснодарском крае на берегу моря недорого

Упр 578 5 класс

Варанаси индия

Выключатель для насоса

Замена реле регулятора ваз 2109

cdn.zecar.ru