Skip to content

Фотогалерея

  • Главная
  • Контакты

Составление схем сборки

Составление схем сборки. Технологическая схема сборки редуктора двухступенчатого. Схема технологического процесса сборки редуктора. Технологическая схема сборки конического редуктора. Технологическая схема Узловой сборки.

Составление схем сборки. Технологическая схема сборки редуктора двухступенчатого. Составление технологической схемы сборки. Схема сборки сборочной единицы. Технологическая схема сборки узла.

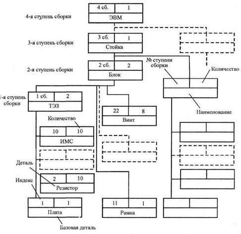
Составление схем сборки. Технологическая схема сборки изделия. Технологическая схема Узловой сборки. Технологический процесс сборки схема узлов. Схема сборки: «веерная» и с базовой деталью..

Составление схем сборки. Технологическая схема сборки ступицы шкива вентилятора. Технологическая схема сборки подшипника. Технологическая схема сборки форсунки. Схема технологического процесса сборки детали.

Составление схем сборки. Технологическая схема сборки клапан предохранительный. Технологическая схема Узловой сборки. Технологическая схема сборки тележки. Клапан предохранительный схема сборки.

Составление схем сборки. Технологический процесс сборки разборки коробки передач. Технологическая схема сборки редуктора двухступенчатого. Структурная схема разборки КПП КАМАЗА. Технологическая схема сборки электродвигателя.

Составление схем сборки. Схема технологического процесса текущего ремонта агрегатов. Схема технологического процесса ремонта автомобилей. Схема организации технологического процесса ремонта. Схема технологического процесса ремонта оборудования.

Составление схем сборки. Построение технологической схемы сборки. Технологическая схема сборки электродвигателя. Технологическая схема общей сборки червячного редуктора. Технологическая схема сборки генератора.

Составление схем сборки. Построение технологической схемы сборки. Маршрутный Технологический процесс сборки узла. Технологическая схема общей сборки стартера. Технологический процесс сборки чертеж.

Составление схем сборки. Технологическая схема сборки узла. Разработка технологического процесса сборки схема. Технологическая схема Узловой сборки. Схема сборки узлов проектируемого изделия.

Составление схем сборки. Технологическая схема производства подшипников. Технологическая схема металлообработки. Техпроцесс обработки вала. Технологическая наладка чертеж шлифовального.

Составление схем сборки. Технологическая схема сборки клапана. Технологическая схема сборки фильтра ВФКУ5.886.301.00. Технологическая схема сборки клапан предохранительный. Технологическая схема сборки узла механический клапан.

Составление схем сборки. Схема технологического процесса сборки модуля типа 2. Составление технологической схемы сборки. Технологическая схема разборки двигателя. Технологическая схема производства электродвигателей.

Составление схем сборки. Схема сборочного состава разъема. Схема типового технологического процесса сборки блоков ЭА. Технологическая схема сборки типового элемента замены. Технологическая схема сборки РЭА.

Составление схем сборки. Построение технологической схемы сборки. Технологическая схема сборки гидравлического агрегата. Технологическая схема сборки ступицы шкива вентилятора. Технологическая схема сборки электродвигателя.

Составление схем сборки. Технологический процесс сборки разборки коробки передач. Технологическая схема сборки редуктора КАМАЗ. Схема технологического процесса сборки двигателя автомобиля ВАЗ 2109. Технологическая карта сборки коробки передач ВАЗ.

Составление схем сборки. Технологическая схема Узловой сборки. Схема сборки технология машиностроения. Узловая схема сборки. Технологическая схема сборки стартера.

Составление схем сборки. Технологическая схема сборки пример. Составление технологической схемы сборки. Технологическая схема сборки редуктора двухступенчатого. Технологическая схема сборки узла.

Составление схем сборки. Узловая схема сборки. Технологическая схема сборки изделия. Схема сборки по базовой детали. Разработка схемы и сборки базовой детали.

Составление схем сборки. Типовой Технологический процесс сборки узла РЭА. Схема технологического процесса сборки детали. Схема типового технологического процесса сборки блоков ЭА. Схема технологического процесса производства печатных плат.

Составление схем сборки. Технологическая схема сборки стартера. Технологическая схема сборки электроплиты. Технологический процесс сборки штампа. Составление технологической схемы сборки.

Составление схем сборки. Технологическая схема Узловой сборки. Составление технологической схемы сборки. Составить технологическую схему сборки. Технологическая схема сборки узла.

Составление схем сборки. Схема сборки маршрутный Технологический процесс. Схема технологического процесса сборки детали. Составление технологической схемы сборки. Технологическая схема сборки узла редуктора.

Составление схем сборки. Схема технологического процесса сборки редуктора. Технологическая схема сборки редуктора двухступенчатого. Технологическая схема сборки червячного редуктора. Технологическая схема сборки конического редуктора.

Составление схем сборки. Схема сборочного состава веерного типа. Построение технологической схемы сборки. Технологическая схема сборочного состава. Схема сборочного состава разъема.

Составление схем сборки. Структурная схема сборки двигателя ВАЗ. Технологическая схема сборки двигателя ВАЗ 2108. Технологическая схема сборки форсунки. Структурная схема разборки КПП КАМАЗА.

Составление схем сборки. Технологическая схема Узловой сборки. Технологическая схема сборочного процесса узла. Технологическая схема сборки сборочной единицы. Схема технологического процесса сборки.

Составление схем сборки. Схема технологического процесса сборки редуктора. Технологическая схема сборки конического редуктора. Технологическая схема сборки редуктора двухступенчатого. Технологический процесс сборки редуктора.

Составление схем сборки. Составление технологической схемы сборки. Схема технологического процесса сборки редуктора. Технологическая схема сборки узла. Технологическая схема сборки гидравлического агрегата.

Составление схем сборки. Технологическая схема сборки гидравлического агрегата. Схема сборки сборочной единицы. Построение технологической схемы сборки. Технологическая схема сборки узла.

Составление схем сборки. Техпроцесс вал редуктора станка ПСЗ-083. Технологическая схема сборки конического редуктора. Технологическая сборка вала червячного редуктора. Технологическая схема сборки коническо-цилиндрического редуктора.

Составление схем сборки. Разработка схемы разборки сборочной единицы. Технологическая схема сборки сборочной единицы. Построение технологической схемы сборки. Технологическая схема общей сборки редуктора.

Составление схем сборки. Технологическая схема сборки червячного редуктора. Технологическая схема сборки узла. Технологическая схема общей сборки червячного редуктора. Технологическая схема сборки узла редуктора.

Составление схем сборки. Технологическая схема Узловой сборки. Технологическая схема сборки сборочной единицы. Построение технологической схемы сборки. Технологическая схема сборки электродвигателя.

Составление схем сборки. Технологическая схема Узловой сборки. Схема сборки сборочно единицц. Технологическая схема сборки узла. Технологическая схема сборки узла сварка.

Составление схем сборки. Маршрутный Технологический процесс сборки узла. Сборочный Технологический процесс. Маршрутный Технологический процесс сборки подшипниковых узла. Технологический процесс сборки деталей.

Составление схем сборки. Типовой Технологический процесс сборки узла РЭА. Типовой Технологический процесс сборки электронных устройств. Технологическая схема сборки печатной платы. Составление технологической схемы сборки.

Составление схем сборки. Схема сборки сборочной единицы. Технологическая схема сборки сборочной единицы. Разработка схемы разборки сборочной единицы. Схема технологического процесса сборки детали.

Составление схем сборки

Составление схем сборки. Схема сборки технология машиностроения. Сборочный Технологический процесс. Схема технологического процесса изготовления конструкции. Схема разборки и сборки технологических печей.

Составление схем сборки. Технологическая схема сборки форсунки. Схема технологического процесса сборки редуктора. Схема сборки маршрутный Технологический процесс. Построение технологической схемы сборки.

Составление схем сборки. Технологическая схема сборки амортизатора. Технологическая карта ВАЗ 2170. Технологическая карта передней подвески автомобиля. Чертеж приспособления для приводов передних колес чертеж.

Составление схем сборки. Схема технологического процесса сборки редуктора. Технологическая схема сборки электродвигателя. Технологическая схема сборки червячного редуктора. Технологическая схема сборки конического редуктора.

Составление схем сборки. Технологическая схема сборки узла. Составить технологическую схему сборки. Технологическая схема сборки форсунки. Технологическая схема сборки электродвигателя.

Составление схем сборки. Технологическая схема сборки червячного редуктора. Технологическая схема сборки редуктора двухступенчатого. Технологическая схема сборки конического редуктора. Схема технологического процесса сборки редуктора.

Составление схем сборки. Схема сборки маршрутный Технологический процесс. Технологическая схема сборки редуктора двухступенчатого. Схема технологического процесса сборки детали. Технологическая схема сборки редуктора КАМАЗ.

Составление схем сборки. Технологическая схема сборки КШМ. Построение технологической схемы сборки. Технологическая схема сборочного процесса узла. Схема технологического процесса сборки.

Составление схем сборки. Схема технологического процесса ремонта грузовых вагонов. Схема технологической последовательности ремонта узла. Схема сборки сборочной единицы. Схема технологического процесса ремонта оборудования.

Составление схем сборки. Схема сборочного состава веерного типа. Технологическая схема сборки веерного типа. Схема сборки: «веерная» и с базовой деталью.. Схема сборки веерного типа.

Составление схем сборки. Составление схем автоматизируемых установок, щитов и пультов. Составление схем соединений и подключений. Пульты щиты. Монтажные чертежи и схемы соединений щитов и пультов. Схема щита автоматики компрессорной установки.

Составление схем сборки. Технологическая схема сборки форсунки. Технологическая схема сборки электродвигателя. Технологическая схема сборочного производства. Структурная схема техпроцесса.

Составление схем сборки. Кран сборочный чертеж и спецификация. Спецификация для сборочного чертежа в компасе. Сборочный чертеж шарового крана спецификация. Вентиль угловой сборочный чертеж со спецификацией.

Составление схем сборки. Построение технологической схемы сборки. Схема разборки и сборки технологических печей. Технологическая схема сборки клапана. Технологическая схема сборки клапан предохранительный.

Составление схем сборки. Технологическая схема общей сборки. Схема технологического процесса сборки. Технологическая схема сборки шпиндельная. Технологическая схема сборочного состава.

Составление схем сборки. Составление технологической схемы сборки. Схема технологического процесса сборки редуктора. Технологическая схема Узловой сборки. Маршрутный Технологический процесс сборки узла.

Составление схем сборки. Схема технологического процесса сборки детали. Разработка технологической схемы сборки. Технологическая схема Узловой сборки. Составить технологическую схему сборки.

Составление схем сборки. Схема технологического процесса сборки двигателя КАМАЗ 5320. Схема технологического процесса сборки двигателя автомобиля ГАЗ 3110. Схему технологического процесса сборки двигателя ГАЗ 3309. Схема технологического процесса сборки двигателя автомобиля ВАЗ 2109.

Составление схем сборки. Схема технологического процесса сборки изделия. Составление технологической схемы сборки. Разработка технологической схемы сборки изделия. Технологический процесс сборки узла.

Составление схем сборки. Технологический процесс сборки разборки коробки передач. Структурная схема сборки двигателя. Технологическая схема сборки узла. Схема технологического процесса замены карданного вала.

Составление схем сборки. Технологическая схема сборки узла. Схема сборки узлов проектируемого изделия. Технологическая схема сборки 3d сканеров. Технологический процесс сборки узла, схема сборки..

Составление схем сборки. Технологическая схема сварочного производства. Технологическая схема производства металлоконструкций. Схема технологического процесса сборки и сварки. Схема технологического процесса на сварочном участке.

Составление схем сборки. Маршрутный Технологический процесс сборки кондуктор. Технологическая схема сборки форсунки. Технологический процесс сборки. Составление схемы сборки.

Составление схем сборки. Схема технологического процесса сборки редуктора. Схема технологического процесса сборки АКБ. Технологическая схема сборки электродвигателя. Разработка технологической схемы сборки.

Составление схем сборки. Технологическая схема Узловой сборки. Технологическая схема сборки КШМ. Технологическая схема сборки электродвигателя. Технологическая схема сборки типового элемента замены.

Составление схем сборки. Технологическая схема сборки электродвигателя. Схема сборки узла станка. Технологическая схема сборки узла редуктора. Технологическая схема сборки теплообменника.

Составление схем сборки. Технологическая схема сборки редуктора цилиндрического. Схема технологического процесса сборки редуктора. Технологическая схема сборки редуктора двухступенчатого. Технологическая схема сборки конического редуктора.

Составление схем сборки. Технологическая схема сборки редуктора двухступенчатого. Технологическая схема сборки редуктора цилиндрического. Схема технологического процесса сборки редуктора. Технологическая схема сборки конического редуктора.

Составление схем сборки. Технологическая схема сборки. Маршрутный Технологический процесс сборки узла. Технологическая схема сборки сборочной единицы. Схема технологического процесса сборки.

Составление схем сборки. Технологическая схема сборки редуктора двухступенчатого. Технологическая схема сборки червячного редуктора. Схема технологического процесса сборки редуктора. Технологическая схема общей сборки червячного редуктора.

Составление схем сборки. Технологическая карта Кривошипно шатунного механизма. Технологическая схема сборки узла. Схема сборки Кривошипно-шатунного механизма. Технологическая карта разборки и сборки электродвигателя.

Составление схем сборки

Составление схем сборки. Схема сборочного состава печатной платы. Технологический процесс сборки узла, схема сборки.. Схема сборочного состава веерного типа. Разработка схемы сборки узла.

Составление схем сборки. Технологическая схема сборки гидравлического агрегата. Маршрутный Технологический процесс сборки узла. Технологическая схема сборки изделия. Схема технологического процесса сборки редуктора.

Составление схем сборки. Технологическая схема сборки ГОСТ. Схема сборки изделия ГОСТ. Сборочная схема изделия. Технологическая схема сборки изделия.

Составление схем сборки. Технологическая схема сборки форсунки. Схема технологического процесса сборки детали. Пневмораспределитель сборочный чертеж. Схема сборки технология машиностроения.

Составление схем сборки. Технологическая схема металлообработки. Технологическая карта производства металлообработки вала. Маршрутный Технологический процесс сборки узла. Схема сборки технология машиностроения.

Составление схем сборки. Схема сборки сборочной единицы. Схема сборки с базовой деталью. Схема сборки сборочно единицц. Схема сборочных элементов изделие.

Составление схем сборки. Схема сборки дивана ikea угловой. Схема сборки механизм трансформации АТС 180. Полка д2 схема сборки. Схема сборки МП 010.

Составление схем сборки. Технологическая схема Узловой сборки. Технологическая схема сборки узла. Технологическая схема сборки гидравлического агрегата. Технологическая схема сборочного процесса узла.

Составление схем сборки. Схема общей сборки изделия. Разработка схемы сборки. Схема сборки Машиностроение. Разработка схемы сборочного состава.

Составление схем сборки. Технологическая схема сборки стартера. Технологическая схема Узловой сборки. Маршрутный Технологический процесс сборки узла. Схема технологического процесса сборки изделия.

Составление схем сборки. Технологическая схема сборки конического редуктора. Схема сборки маршрутный Технологический процесс. Построение технологической схемы сборки. Маршрутный Технологический процесс сборки узла.

Составление схем сборки. Схема технологического процесса сборки детали. Технологическая схема сборки гидравлического агрегата. Схема сборки технология машиностроения. Технологический процесс сборки чертеж.

Составление схем сборки. Технологическая схема пневмоцилиндра. Технологическая схема Узловой сборки. Технологическая карта сборки пневмоцилиндра. Технологическая схема сборки узла.

Составление схем сборки. Структурная схема сборки электронных ячеек. Схема сбора данных с ячеек. Составление схемы сборки. Схема технологической ячейки.

Составление схем сборки. Технологическая схема сборки сцепления. Технологическая схема сборки форсунки. Разборка сборка коробки передач ЗИЛ 130 технологическую карту. Схема технологического процесса ремонта сцепления.

Составление схем сборки. Схема сборочного состава веерного типа. Технологическая схема сборки веерного типа. Схема сборки с базовой деталью. Схема сборки радиоэлектронной аппаратуры.

  • Вперед Terraelectronica
  • Назад Заявление в счет отпуска на 2 дня образец

Новые страницы

Алгебра номер 698

Англ 7 класс стр 78

База отдыха гвоздика благовещенская

Договор аккредитива сбербанк образец

Фильм главный калибр

Газель сломалась рама

Гдз математика 6 класс ваулина

Гдз по английскому контрольная 6 класс

Город схематичный рисунок

Храм святого георгия победоносца

Изложение про твардовского

Как объяснить поведение отца вареньки после бала его человеческими качествами или порядками тогдашней армии

Как определяется размер файла содержащего графическое изображение растровое и векторное изображение

Как поменять щетки на генераторе ваз 2109

Какие сиденья от иномарки подходят на приору

Карачи новосибирская область озеро

Карта мир таро чувства мужчины

Карта осадков столбовая

Км 40

Лада гранта отключается спидометр

Математика стр 77 2 класс номер 6

Не горят габариты на камазе

Остекление террас балконов

Природа в опасности презентация окружающий мир 2 класс плешаков

Ремонт квартир малаховка

Рендж ровер спорт 2009 года

Ресторан чум

Список продуктов спортсмена

Справка от стоматолога с зубной формулой образец

Запаять бензобак своими руками

cdn.zecar.ru