Skip to content

Фотогалерея

  • Главная
  • Контакты

Снаряд схема

Снаряд схема. Осколочно-фугасные боеприпасы принцип действия. Кумулятивная струя схема. Кумулятивные боеприпасы принцип действия. Кумулятивный снаряд принцип.

Снаряд схема. Гильза 45-мм пушки чертеж. Гильза 45 мм чертеж. Габариты снаряда 45 мм. Гильза 45 мм снаряда чертежи.

Снаряд схема. Бетонобойный снаряд 152 мм чертёж. Взрыватель 152 мм снаряда схема. Конструкция бетонобойных снарядов. Бетонобойные бомбы схема.

Снаряд схема. 140-Мм турбореактивный осколочно-ФУГАСНЫЙ снаряд м-14-оф. 140 Мм турбореактивный снаряд. 140 Мм турбореактивный снаряд оф-949. 140-Мм турбореактивный снаряд а3-ТСР-47.

Снаряд схема. 120 Мм осколочные фугасные мины. 82 Мм минометная мина чертеж. 120-Мм миномет схема. Минометная мина 82 мм в разрезе.

Снаряд схема. 82-Мм реактивный осколочный снаряд м-8. Реактивный снаряд РС-82. РС-132 реактивный снаряд. Чертежи реактивного снаряда м-13.

Снаряд схема

Снаряд схема. Взрыватели Рдултовского. Исторический очерк развития трубок и взрывателей Рдултовский. Дистанционная трубка Рдултовского. Бранд трубка снаряд схема.

Снаряд схема. 37 Мм снаряд чертёж. Бронебойный снаряд чертеж. Бронебойный калиберный снаряд схема. Бронебойный снаряд 30 мм чертёж.

Снаряд схема. Гильза 152-мм артиллерийского выстрела раздельного заряжания. Гильза 45 мм снаряда чертежи. Строение снаряда 152 мм. Противотанковый снаряд 45мм чертежи.

Снаряд схема. Осколочно-ФУГАСНЫЙ снаряд принцип действия. Танковый кумулятивный снаряд ТТХ. Кумулятивный снаряд схема. Бронебойный кумулятивный снаряд.

Снаряд схема. Снаряд м13 устройство. Реактивный снаряд м-13 схема. РС-132 реактивный снаряд. Реактивные снаряды БМ-13.

Снаряд схема. Минометный снаряд 82 мм устройство. Миномет 120 мм характеристики снаряда. Схема миномета 82 мм. Чертеж 60-мм минометной мины.

Снаряд схема. 3 БМ 44 лекало подкалиберный бронебойный снаряд. 152мм снаряд офс 3оф29 чертеж. Снаряд 23 мм 606 чертеж размер. Снаряд Калибр 152 мм чертеж.

Снаряд схема

Снаряд схема. Кумулятивные артиллерийские снаряды. Бронебойно трассирующий снаряд 45 мм. Устройство снаряда 45 мм пушки бронебойный. Гильза 100 мм снаряда УБК 8 Инерт МТ 12.

Снаряд схема

Снаряд схема. Снаряд м13 устройство. Реактивный снаряд Катюша м13. Снаряд м-13 для Катюши. Катюша реактивный снаряд схема.

Снаряд схема. Траектория полета артиллерийского снаряда. Артиллерийский снаряд схема. Артиллерийский дымовой снаряд. Схема полета артиллерийского снаряда.

Снаряд схема

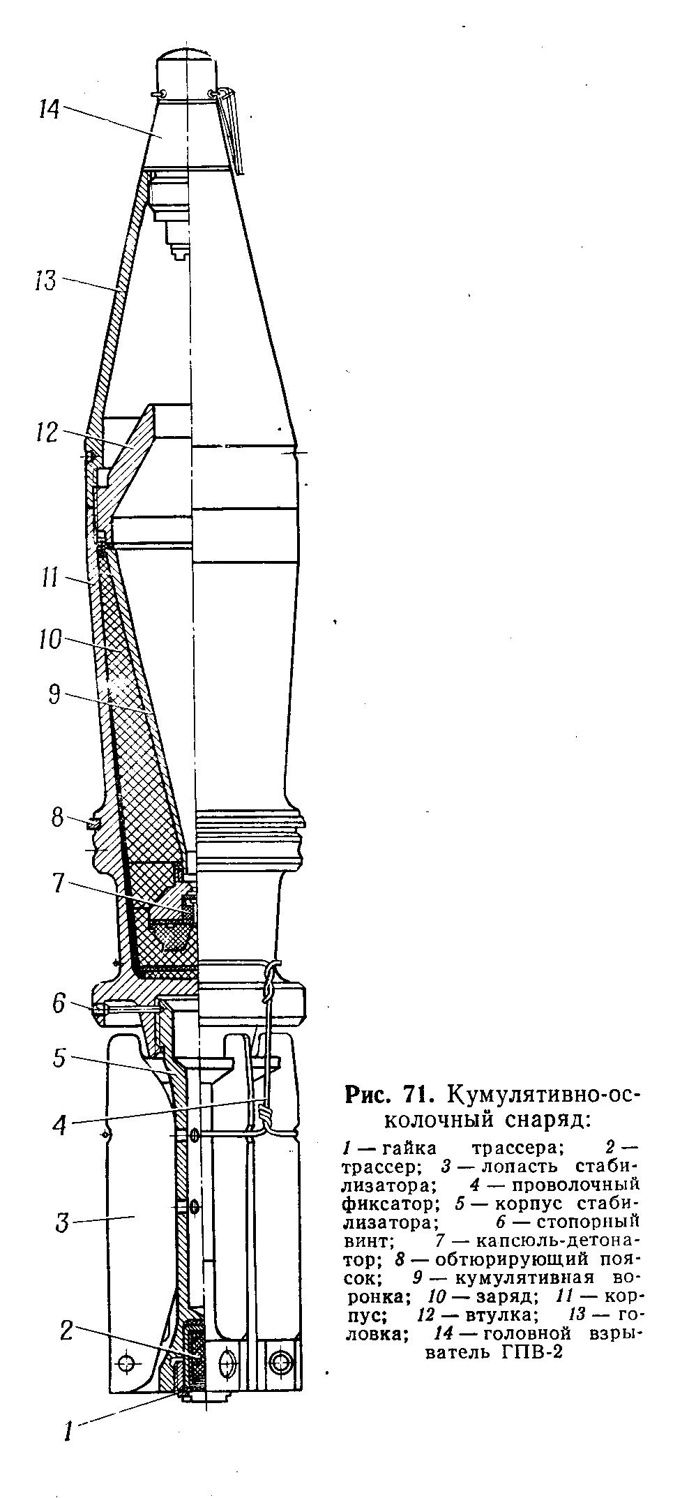
Снаряд схема. Схема действия кумулятивного снаряда. Схема действия кумулятивного заряда. Кумулятивный снаряд 125 мм в разрезе ,состав. Конструкция кумулятивного снаряда.

Снаряд схема. Германские артиллерийские снаряды второй мировой войны. Боеприпасы первой мировой войны. Хим снаряды первой мировой войны. Химическое оружие артиллерийские снаряды.

Снаряд схема. 125 Мм подкалиберный снаряд 3бм60. Снаряд Калибр 152 мм чертеж. ОБПС 3бм42 манго. 100/125-Мм подкалиберный снаряд.

Снаряд схема. 152мм снаряд шрапнель схема. Зажигательный артиллерийский снаряд чертеж. Строение танкового снаряда. Танковый снаряд устройство.

Снаряд схема. Бр-412 — бронебойный остроголовый Каморный снаряд. 100мм снаряд бр-412д. 85 Мм бронебойный Каморный снаряд. Бронебойный снаряд 76 мм устройство.

Снаряд схема. Дымовые боеприпасы артиллерии. Удлинённый цилиндрический снаряд. Сердечник снаряда дымовой.

Снаряд схема. Кумулятивный снаряд схема. Схема действия кумулятивного снаряда. Схема действия кумулятивного заряда. Схема танкового снаряда фугасного.

Снаряд схема. 76мм бронебойный снаряд чертеж. Бронебойный снаряд бр-350п. 76мм бронебойный снаряд ВОВ. Бронебойный снаряд бр-471б.

Снаряд схема. Снаряд 76 мм чертеж. Снаряд Калибр 152 мм чертеж. Чертеж снаряда 152 мм. Снаряд 45 мм чертеж.

Снаряд схема. Устройство 120 мм миномета. Мина 82 мм чертеж. Устройство мины для миномета 82. Минометная мина 120 мм схема.

Снаряд схема. 76 Мм бронебойно-трассирующий снаряд бр-350а. 122 Мм кумулятивный снаряд БП-460а. 76мм снаряд бр350. Снаряд Pzgr 40 88мм.

Снаряд схема. Кумулятивный снаряд схема. Схема действия кумулятивного снаряда. Схема действия кумулятивного заряда. Кумулятивный снаряд схема и принцип.

Снаряд схема. Артиллерийский снаряд 152 мм характеристики. 152-Мм снаряд 3ш2. Снаряд 107 мм артиллерийский. Оф-530 осколочно-ФУГАСНЫЙ снаряд.

Снаряд схема. 122мм управляемый реактивный снаряд. Снаряд 111сг. Снаряд 122 мм в разрезе. Диаметр снаряда.

Снаряд схема

Снаряд схема. Взрыватели к 155 мм снарядам. Калибры артиллерийских снарядов таблица. Химическое оружие снаряды. Бинарные химические боеприпасы.

Снаряд схема

Снаряд схема. Бронебойно подкалиберный снаряд схема. 125-Мм кумулятивный снаряд 3бк18м. Кумулятивный подкалиберный снаряд. Подкалиберный снаряд бм15.

Снаряд схема. Схема бронебойного снаряда 305. 152 Мм кумулятивный снаряд. 203 Мм снаряд Размеры. 152 Мм снаряд схема.

Снаряд схема

Снаряд схема. ШВАК 20мм пушка снаряд. Пушка ШВАК 20 мм боеприпасы. ШВАК 20мм пушка лента. Авиационная пушка ШВАК 20 мм.

Снаряд схема. Строение осколочно фугасного снаряда. Осколочно ФУГАСНЫЙ снаряд структура. Бронебойный осколочный снаряд схема. Строение бронебойного снаряда.

Снаряд схема. Схема действия кумулятивного снаряда. Кумулятивный снаряд схема. Кумулятивные боеприпасы принцип действия. Кумулятивный снаряд принцип действия.

Снаряд схема. Кумулятивный снаряд схема. Кумулятивный заряд схема. Схема действия кумулятивного заряда. Схема танкавава снарада.

Снаряд схема. Неуправляемый реактивный снаряд м-21оф. М-28 реактивный снаряд. Реактивный снаряд 9м28к. Реактивный снаряд 9м528.

Снаряд схема. Снаряд 76 мм шрапнель схема. Шрапнельный снаряд 76 мм с трубкой устройство. Шрапнельный снаряд 76 мм чертеж. Шрапнельный снаряд 76 мм в разрезе.

Снаряд схема. Бронебойный снаряд бр-471б. 122 Мм бронебойный снаряд. Бронебойный снаряд 30 мм чертёж. 76мм бронебойный снаряд чертеж.

Снаряд схема. Ядерный артиллерийский снаряд калибра 152 миллиметра. Ядерный боеприпас 152 мм схема. Схема термоядерной боеголовки. Устройство ядерного заряда имплозивного типа.

Снаряд схема. Осколочно-ФУГАСНЫЙ снаряд 122 мм. Осколочно-ФУГАСНЫЙ снаряд 125 мм танковый. Осколочно-ФУГАСНЫЙ снаряд 125 мм фугас. Осколочно-ФУГАСНЫЙ снаряд 76.

Снаряд схема. Французский кумулятивный 105мм снаряд. OCC 105 f1 снаряд. 30 Мм кумулятивный снаряд. 105 Мм кумулятивный снаряд.

Снаряд схема. Артиллерийский снаряд схема. Схема артиллерийского снаряда ВОВ. Устройство артиллерийского снаряда. Устройство артиллерийского снаряда схема.

Снаряд схема. Снаряд 3бм24. Снаряд к БМ 24. Маркировка снаряда 3бм60. 3бм-42 снаряд чертеж.

Снаряд схема. Калибр 305мм артиллерийских снарядов. Схема бронебойного снаряда 305. Бронебойный снаряд 152. Снаряд артиллерийский бронебойный.

Снаряд схема. Маркировка снарядов 152 мм. Снаряд Калибр 152 мм чертеж. Калибр 155 мм схема. 155 Калибр диаметр снаряда.

Снаряд схема. Зенитная управляемая ракета 5в55 чертеж. Реактивный снаряд чертежи. Схема реактивного снаряда 9м27ф. Рейнтохтер зенитная управляемая ракета.

Снаряд схема. Строение осколочно фугасного снаряда. Осколочно-ФУГАСНЫЙ снаряд принцип действия. Осколочно ФУГАСНЫЙ снаряд структура. Осколочно-фугасно-зажигательный патрон.

Снаряд схема. Кумулятивный осколочно пучковый снаряд патент. Танковый осколочно-пучковый снаряд. Кинетически осколочный снаряд патент 2413922. Снаряд Экскалибур схема.

Снаряд схема. Снаряд МД 20 Ф. МД-20ф снаряд схема. МД 20 ракета. Взрыватели для реактивных снарядов.

Снаряд схема. Устройство мины для миномета 120 мм. Минометная мина 120 мм схема. Мина 82 мм миномета принцип действия. Мина 82мм схема.

Снаряд схема. Выстрел унитарного заряжания. Артиллерийский выстрел унитарного заряжания. Гильза 152-мм артиллерийского выстрела раздельного заряжания. Снаряд раздельно-гильзового заряжания.

Снаряд схема. Снаряд 76 мм шрапнель схема. Шрапнельный артиллерийский снаряд 76мм. Снаряд 76 мм схема. Шрапнельный снаряд 76 мм с трубкой устройство.

Снаряд схема. Минометная мина 120 мм ТТХ. 120 Мм осколочные фугасные мины. Вес мины 120 мм миномета. Устройство мины для миномета 120 мм.

Снаряд схема

Снаряд схема. 76мм бронебойный снаряд ВОВ. 45 Мм бронебойный снаряд устройство. Подкалиберный Каморный снаряд. Бронебойный калиберный снаряд схема.

Снаряд схема. Размер патрона 20мм ШВАК. Гильза 45 мм снаряда чертежи. Гильза 45-мм пушки чертеж. Размер ШВАК 20мм снаряд бронебойный.

Снаряд схема. Устройство артиллерийского снаряда схема. Строение бронебойного снаряда. Баллистический наконечник снаряда. Составные части снаряда.

Снаряд схема. Снаряд бронебойный 37 мм пушки Гочкиса. 37 Мм снаряд чертёж. 25 Мм пушка Гочкиса чертёж. Боеприпасы к пушке Гочкис чертёж.

Снаряд схема. 122 Мм осветительный снаряд маркировка. Снарядный ящик 122 мм чертеж. ПГ 552 маркировка снаряда. Маркировка снарядов 122 мм.

Снаряд схема. Взрыватель 76 мм снаряда КТМ -1. Взрыватель артиллерийский КТМ 1. Взрыватель КТМ-1 устройство. Устройство 122мм снаряда.

Снаряд схема. Устройство лазерной головки самонаведения. Головка самонаведения ракеты принцип работы. Управляемый снаряд с кумулятивным зарядом. Конструктивная схема кумулятивной боевой части.

Снаряд схема. Бронебойные снаряды второй мировой войны. Бронебойный снаряд ст60. Снаряд бр 240сп. Бронебойный кумулятивный снаряд 3бк14м;.

Снаряд схема

Снаряд схема

Снаряд схема. 23 Мм осколочный снаряд схема. Ведущий поясок снаряда медный. Устройство артиллерийского снаряда схема. Снаряд с ведущим пояском.

Снаряд схема. 125-Мм кумулятивный снаряд бк12м. УБК-354м. Снаряд 3бм 110. Снаряд к БМ 24.

Снаряд схема

Снаряд схема. ШВАК 20мм снаряд. 20 Мм снаряд ШВАК осколочный. Снаряд 20мм пушки. Кумулятивные боеприпасы 20 мм.

Снаряд схема. Бетонобойный снаряд г-620 чертеж. 130 Мм офс снаряд чертеж. Бронебойный калиберный снаряд схема. Снаряд 76 мм схема.

Снаряд схема. 122 Мм реактивный снаряд м21оф. Неуправляемый реактивный снаряд м-21оф. Осколочно ФУГАСНЫЙ снаряд м-21. Осколочно ФУГАСНЫЙ реактивный снаряд оф-21м.

Снаряд схема. Выстрел раздельно-гильзового заряжания. Гильза 152-мм артиллерийского выстрела раздельного заряжания. Снаряд раздельно-гильзового заряжания. Артиллерийские снаряды патронного заряжания.

Снаряд схема. Артиллерийский снаряд схема. Корпус снаряда 30 мм схема. Схема снаряда для пушки 777. Артиллерийский патрон калибра 30 мм схема.

Снаряд схема. ФУГАСНЫЙ снаряд схема. Осколочный снаряд схема. Принцип осколочно-фугасного снаряда. Разрыв снаряда схема.

Снаряд схема. Артиллерийский заряд снаряда выстрела схема. Краснополь управляемый снаряд принцип действия. Устройство артиллерийского снаряда схема. Снаряд Китолов строение.

Снаряд схема. Схема снаряда танка. Устройство подкалиберного бронебойного снаряда. Бронебойный подкалиберный снаряд бм2. Схема действия кумулятивного снаряда.

Снаряд схема. ФУГАСНЫЙ снаряд ф-625д чертеж. Артиллерийский снаряд схема. Схема укладки боеприпасов 2с12. 53-Бр-471б.

Снаряд схема. 130 Мм офс снаряд чертеж. Снаряд оф 152мм чертеж. Чертеж снаряда 152 мм. Осколочно-ФУГАСНЫЙ заряд чертеж.

Снаряд схема. Кумулятивный снаряд принцип действия. Кумулятивный снаряд эффект. 125-Мм кумулятивный снаряд бк12м. Кумулятивный заряд чертеж.

  • Вперед Блок схема суммы элементов массива лежащих между максимальным и минимальным по значению элементами
  • Назад Воронка для мягкой кровли

Новые страницы

10 Нанофарад сколько микрофарад

Аквафор фильтры для воды замена картриджей

Алгебра 7 класс макарычев 978

Альпенштадт карта wot blitz

Aqv

Если треугольник равнобедренный то углы при основании равны

Как снять клипсы с подкрылка

Какой аккумулятор ставят на поло седан

Какой спорт в россии

Картинка будка для собаки для детей на прозрачном фоне

Книга код да винчи

Конструктивизм искусство

Лосиный остров кормить лосей

Монстры на каникулах герои

На рисунке луч ос является биссектрисой угла аов найдите угол bod если угол аов прямой

Нарисовать рисунок на выставку

Не горят габариты шевроле круз

Образец почетной грамоты сотруднику за добросовестный труд

Парез глазодвигательного нерва лечение

Планета фитнес казань

Подключение бронепроводов на калине

Решебник по математике 6 класс с м никольский

С днем рождения солнышко картинки красивые мужчине

Схема споттера на симисторе

Спортивные комплексы чита

Тренировочные егэ по математике профильный уровень

Установка трамблера москвич 412

Замена экрана айфон 6s

Заниматься спортом 2 раза в неделю

Заявление об аттестации в ростехнадзоре образец

cdn.zecar.ru