Skip to content

Фотогалерея

  • Главная
  • Контакты

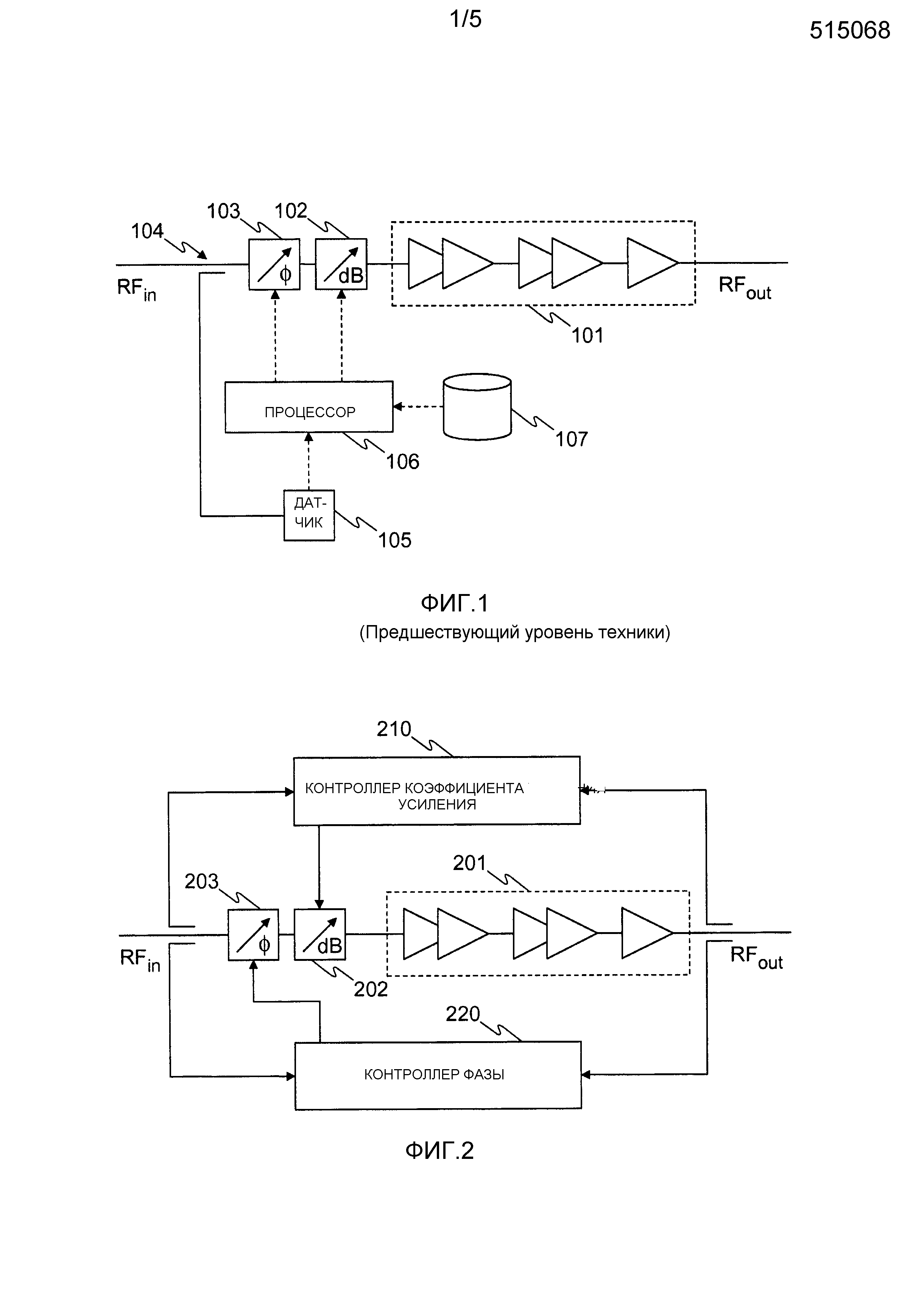
Схемы управления усилителем

Схемы управления усилителем. Схема усилителя на ИГБТ транзисторах. Усилитель на IGBT транзисторах схема. Схема управления затвором мощного полевого транзистора. Драйвер для IGBT-транзистора схема своими руками.

Схемы управления усилителем. Энкодер регулятор громкости на 561. Цифровой регулятор громкости для усилителя схема. Цифровой регулятор громкости на к155. Регулятор громкости на 561кт3.

Схемы управления усилителем. Импульсный блок питания на IGBT транзисторах схема. Импульсный блок питания на IGBT. Bvgekmcysq ,KJR gbnfybz ecbkbntkz 300 DN C[TVF. Импульсный блок питания 1000 ватт схема.

Схемы управления усилителем. Электронный регулятор тембра микросхема. Регулятор громкости и тембра схема. Темброблок с кнопочным управлением. Регулятор громкости на 572па1а схема.

Схемы управления усилителем. Схема с общим усилителем электропривода. Структурная схема с общим усилителем замкнутых электроприводов. Функциональная схема электропривода с обратной связью по скорости. Блок схема электропривода.

Схемы управления усилителем. Электронный регулятор громкости для усилителя мощности. Схема электронного регулятора громкости для усилителя. Кнопочный переменный резистор схема. Регулятор громкости на полевом транзисторе схема.

Схемы управления усилителем. Датчик момента усилителя руля Приора. Схема электрического усилителя рулевого управления. Блок управления электроусилителем руля схема. Датчик крутящего момента усилителя рулевого управления w212.

Схемы управления усилителем. Схема подключения трансивера для цифровых видов связи. Трансивер Lin схема. Схема соединения комп трансивер. Трансивер g90 схема.

Схемы управления усилителем. Селектор входов для усилителя схема. Селектор входов для усилителя на реле схема. Коммутатор входов для усилителя схема. Коммутатор входов для усилителя на 561кп1.

Схемы управления усилителем

Схемы управления усилителем

Схемы управления усилителем. Tda7313 схема включения микросхема. Микросхема tda9859 схема включения. Принципиальная схема цифрового регулятора громкости. Принципиальные схемы регуляторов громкости и тембра.

Схемы управления усилителем. Схема коммутация усилителя мощности. Релейный усилитель схема. Схема реле включения усилителя мощности. Реле для коммутации 1кв гу81.

Схемы управления усилителем. Ds1833 схема включения. At90s2313 принципиальные схемы. РАДИОКОТ.ру схемы. Схемы устройств с индикаторами weh001202a.

Схемы управления усилителем. Схема управления усилителя плата. Sunsdr2 управление усилителем мощности схема.

Схемы управления усилителем. Pga2310 регулятор громкости. Pga2311 регулятор громкости. Регулятор громкости на pga2311/2310. Pga2311 регулятор громкости ардуино.

Схемы управления усилителем. К561кп2 регулятор громкости. Цифровой регулятор на микросхемах 561. Регулятор громкости на к561. К561кп2 схема включения микросхема.

Схемы управления усилителем. Транзистор irf3205. Irf3205 схема. Полевой транзистор irf3205 характеристики. Irf3205 инвертор схема.

Схемы управления усилителем. Гибридный усилитель кв на 6п45с с бестрансформаторным питанием. Гибридный усилитель мощности на 6п45с. Усилитель мощности кв трансивера на лампах 6п45с схема. Усилитель ВЧ мощности для трансивера схема.

Схемы управления усилителем

Схемы управления усилителем. Усилитель с микроконтроллерным управлением. Предварительный усилитель с микроконтроллерным управлением. Tea6300 регулятор громкости и тембра схема. Темброблок с микроконтроллерным управлением.

Схемы управления усилителем. Ir2184 усилитель. Ir21844 схема включения. Ir21844 схема включения схема включения. Ir2184 схема усилителя.

Схемы управления усилителем. Предусилитель Матюшкина схема. Схама пред усилитель Матюшкина. Темброблок Натали схема. Темброблок Матюшкина схема.

Схемы управления усилителем

Схемы управления усилителем. Lm3886 схема усилителя мощности. Усилитель на lm3886 ИТУН. Lm3886 усилитель Андронникова. Lm3886 усилитель 2.1 схема.

Схемы управления усилителем

Схемы управления усилителем

Схемы управления усилителем. Регуляторов оборотов на микросхеме tda1085c. Регулятор оборотов электродвигателя tda1085 схема. Микросхема tda1085c характеристики. TDA 1085 регулятор оборотов двигателя схема.

Схемы управления усилителем

Схемы управления усилителем. Уд1408а схема усилителя звука. Усилитель 70 ватт схема на транзисторах. Схема усилителя звуковой частоты на операционном усилителе. Транзистор кт972а схема включения.

Схемы управления усилителем. Принципиальные схемы электронных регуляторов громкости и тембра. Принципиальная схема цифрового регулятора громкости. Схемы на микроконтроллерах pic16f628. Регулятор громкости с цифровой индикацией схема.

Схемы управления усилителем. Датчик тока схема включения. Токовый датчик схема. Mp8037adc цифровой модуль защиты и управления с функцией измерения. Схема подключения датчика тока.

Схемы управления усилителем

Схемы управления усилителем. Повторитель ИК сигнала пульта схема. Глушилка пультов дистанционного управления схема. Схема ретранслятора ИК пульта. Altronics z6900 схема передатчика.

Схемы управления усилителем. Схема электрического усилителя руля Фольксваген. Схема рулевого управления поло седан 2013. Рулевая рейка электроусилитель схема. Рулевое управление поло седан схема.

Схемы управления усилителем. Переключатель на 561тм3 схема. Схема электронного переключателя на 8 каналов. К561тм8 схема включения. Микросхема цифровая к561тм3.

Схемы управления усилителем. Схема усилителя мощности 2000вт. Схемы автомобильных усилителей мощности на транзисторах. Схема дифкаскада на транзисторах. Усилители мощности с диф каскадами схема.

Схемы управления усилителем. Схема управления усилителем мощности кв. Схема коммутация усилителя мощности. Схема реле включения усилителя мощности. Схема коммутации кв усилителя мощности.

Схемы управления усилителем. Параллельное соединение мосфетов схема. Параллельное включение полевых транзисторов для увеличения мощности. Параллельное подключение полевых транзисторов схема. Параллельное включение MOSFET транзисторов схема.

Схемы управления усилителем. Усилитель класса d на tl494 ir2110. Ir2110 усилитель класса d схема. Irs2092s 500 Вт усилитель схема. Усилитель d класса на ir2110.

Схемы управления усилителем. Регулятор громкости Никитина схема. Регулятор громкости Никитина схема 5 реле. Релейный регулятор громкости Никитина схема. Регулятор громкости Никитина Arduino.

Схемы управления усилителем. Селектор входов для усилителя схема. Pga2311 регулятор громкости схема. Моторизированный регулятор громкости схема управления. Энкодер регулятор громкости схема.

Схемы управления усилителем. Схема подключения блютуз колонки. Схема подключения самодельной колонки. Колонка на ардуино схема. Блютуз колонка на ардуино.

Схемы управления усилителем. Cat Интерфейс для трансивера Yaesu. Схема интерфейса для трансивера ft840.

Схемы управления усилителем. Энкодер регулятор громкости схема. Регулятор громкости на ардуино и энкодере. Kit регулятор громкости ds1868. Цифровой регулятор громкости с энкодером схема.

Схемы управления усилителем. Cat Интерфейс для трансивера Icom. Cat Интерфейс для трансивера Icom 746. Интерфейс для трансивера своими руками. Cat Интерфейс для трансивера ic-7000.

Схемы управления усилителем. Коммутация входов в усилителе схема. Селектор входов для усилителя схема. Селектор входов на реле схема. Схема коммутатора входов для УНЧ.

Схемы управления усилителем. К561кп2 схема. Ad009-02t схема включения. Ad009-07 микросхема. Ad009-02t схема пульта.

Схемы управления усилителем

Схемы управления усилителем

Схемы управления усилителем. Цифровой регулятор громкости схема. Цифровой регулятор громкости на к155. Кнопочный регулятор громкости lc7530. Управление моторизированным регулятором громкости схема.

Схемы управления усилителем. Предварительный усилитель с микроконтроллерным управлением. Схема блока питания с микроконтроллерным управлением. Микроконтроллерный модуль схема принципиальная. Слуховой аппарат с микроконтроллерным управлением схема.

Схемы управления усилителем

Схемы управления усилителем

Схемы управления усилителем. Цифровое управление вентиляторами в блоках питания. Гибридное управление вентилятором своими руками.

Схемы управления усилителем. Принципиальная схема УНЧ_tda2822m. TDA 2822 усилитель для колонок схема принципиальная. Полный усилитель Васильева принципиальная схема. Микросхемаха8.

Схемы управления усилителем

Схемы управления усилителем. Модуль управления усилителем схема. Схема управления ca6140. Схема платы управления усилителя. Схема управления реле в ИБП.

Схемы управления усилителем

Схемы управления усилителем. Схема гидравлического усилителя рулевого управления. Схема работы гидроусилителя рулевого управления. Гидравлический усилитель руля схема. Схема электрогидравлического усилителя руля.

Схемы управления усилителем. Импульсный блок питания на sg3525. Схема мощного импульсного БП. Импульсный блок питания 2000 ватт схема. Импульсный блок питания 220/12 схема.

Схемы управления усилителем. Модулятор усилителя постоянного тока. ЧМ модулятор схема. Дифференциальный модулятор схема. Импульсный модулятор схема.

Схемы управления усилителем. Электрическая схема блока кнопок управления на руль Шевроле Каптива.

Схемы управления усилителем

Схемы управления усилителем

Схемы управления усилителем. Схема усилителя мощности на ГК 71 С заземленными сетками. ГК-71 усилитель схема. Усилитель мощности на 2 ГК 71 схемы. Схема кв ум на 2х ГК-71.

Схемы управления усилителем

Схемы управления усилителем

Схемы управления усилителем

Схемы управления усилителем

Схемы управления усилителем. Принципиальная схема электроусилителя руля. Схема электромеханического усилителя рулевого управления. Схема подключения электромеханического усилителя руля Приора. Блок управления электроусилителя руля Калина схема.

Схемы управления усилителем. Tda1524a темброблок конструктор. Tda1524a темброблок схема. Предусилитель на tda1524a. Регулятор громкости на микросхеме tda1524a тембра.

Схемы управления усилителем

Схемы управления усилителем

Схемы управления усилителем. Регулятор для усилителя на микроконтроллере. Звуковой процессор tda8425. Tda8425 ATTINY. Предусилитель на tda8425 схема.

Схемы управления усилителем. Схема RGB контроллера для светодиодной ленты. RGB усилитель принципиальная схема. Китайский RGB контроллер схема. Схема усилителя RGB ленты своими руками.

Схемы управления усилителем

Схемы управления усилителем. Tda8425 схема. Звуковой процессор tda8425. Принципиальная схема цифрового регулятора громкости. Темброблок с микроконтроллерным управлением на tda8425.

  • Вперед Справка для спортивных соревнований образец
  • Назад Прайс на строительно отделочные работы

Новые страницы

Английский язык 5 класс стр 50 номер 2

Бархатные сезоны в сочи город отель

Что значит gnd на магнитоле

Днс каталог комсомольск на амуре

Доступная среда для инвалидов картинки

Экономическая теория марксизма

Как выпрессовать шаровую опору

Какие изображения дворцовых и церковных интерьеров помогли восстановить их исторический облик

Какой антифриз заливать в ваз 2114

Карта метро проспект лиговский проспект

Картинки люси из мой шумный дом

Книга отзывов и предложений образец заполнения

Образец протокола общего собрания ооо

План к рассказу великие путешественники м зощенко

Профессионально прикладной спорт

Прокат эндуро спб

Расход пежо 206

Ремонт и замена полов под ключ

Рисунки на заборе на даче своими руками простые по этапно

Сервировка салфеток схемы

Схема короны

Схема предохранителей skoda rapid

Сравнить рено сандеро и опель корса

Территория российской федерации схема

Твинмакс финляндия

Визитка психолога образец грамотная

Вольво хс60 отзывы владельцев

Южно сахалинск прокат авто

Запали кнопки на кодовом замке

Заявление на увольнение по собственному желанию образец рк

cdn.zecar.ru