Skip to content

Фотогалерея

  • Главная
  • Контакты

Схемы советских

Схемы советских. Транзисторные радиоприемники схемы. Схема простого fm радиоприемника. Схемы детекторных УКВ приемников. Приемник Радиоточка схема.

Схемы советских. МК-61 калькулятор схема. Блок питания для микрокалькулятора электроника мк61 схема. Электроника МК 66 схема. Блок питания калькулятора электроника МК 59 схема.

Схемы советских. Калькулятор электроника б3-05м схема. Принципиальная электрическая схема калькулятора электроника мк59. Алькулятор "электроника б3-02" схема. Калькулятор электроника б3-18а схема.

Схемы советских

Схемы советских. Электрическая схема лампового телевизора. Принципиальная схема лампового телевизора. Электрическая схема радиоприемника Урал 112. Магниторадиола романтика 106 схема.

Схемы советских. Схема выпрямителя ВСА-6к 440100. Выпрямитель ВСА-6к схема принципиальная электрическая. Выпрямитель ВСА-5к схема принципиальная электрическая. Схема выпрямителя ВСА-5к.

Схемы советских. УКВ детекторный радиоприемник. Приемник прямого усиления на кт815. Приёмник прямого усиления на транзисторе c9018. Транзисторные радиоприемники схемы.

Схемы советских. Схема кадровой развертки. Схема питания кадровой развертки телевизора. Схема строчной развертки телевизора Юность. Блок кадровой развертки схема.

Схемы советских

Схемы советских. Декодер Pal SECAM схема. Декодер Pal 3усцт схема. Микросхема на советских телевизорах. Схема советского цветного телевизора.

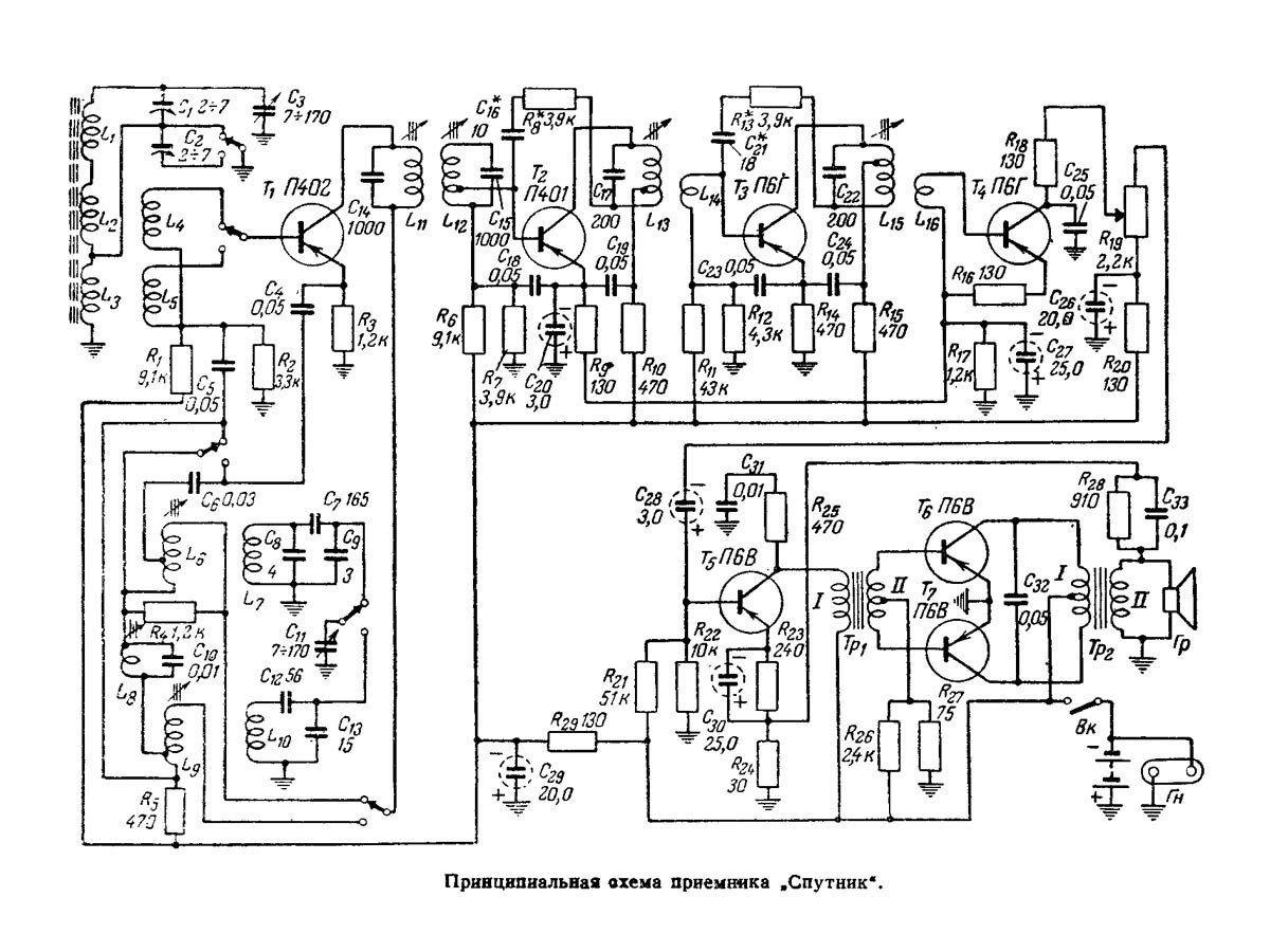
Схемы советских. Радиоприемник на транзисторах п402. Принципиальная схема приемника 402. Альфатон РП-204 схема радиоприемник. Схема радиоприемника Нейва 402.

Схемы советских

Схемы советских. Микросхема к264гф1 часы янтарь. Схема электромеханических часов к264 гф1. Микросхема к264гф1. К264гф1 часы янтарь.

Схемы советских

Схемы советских

Схемы советских

Схемы советских. Схема советского телевизора. Схема телевизора СССР. Схемы цветных телевизоров СССР. Принципиальная схема телевизора СССР.

Схемы советских. Схема лампового приемника рекорд 61. Блок питания телевизора рекорд 312 схема. Схема УНЧ телевизора рекорд 312. Схема лампового телевизора Горизонт 204.

Схемы советских. Часы электроника кр 145ик1901. Часы на кр145ик1901 электроника пт206. Часы электроника 6.15 схема монтажная. Часы электронные на к145ик1901 схема.

Схемы советских

Схемы советских

Схемы советских

Схемы советских. Схема калькуляторов электроника СССР. Советский телефон схема. Схемы советские интерьера 1940. ГП-20 схема СССР.

Схемы советских. Колонки радиотехника s70 схема усилителя. Схема усилителя радиотехника s70. Колонки радиотехника s70 схема. Акустическая система радиотехника s70 схема.

Схемы советских. Кварц 404 радиоприемник схема. Схема радиоприёмника Сокол рп204. Альпинист 320 радиоприемник схема. Схема приёмника Вега 402.

Схемы советских. ЗУ для восстановления автомобильных аккумуляторов. Схема устройства для восстановления автомобильных аккумуляторов. Зарядно-разрядное устройство для аккумуляторов своими руками. Схема зарядного устройства АКБ С тренировкой.

Схемы советских. ЦМУ электроника 301 схема. Советская гитарная педаль спектр-2 схема. Спектр 3 педаль схема. Цветомузыкальная приставка спектр-10 схема.

Схемы советских. Схема полюс-2д аппарат магнитотерапии. Принципиальная схема аппарата магнитотерапии. Схема прибора магнитотерапии своими руками. Маг-30-3 прибор магнитотерапии схема.

Схемы советских. Схема телевизора Горизонт 3усцт. Телевизор 3усцт блок УНЧ схема. Модуль дистанционного управления МДУ-2 телевизоров 3усцт. Схема дистанционного управления телевизорам 3усцт.

Схемы советских

Схемы советских

Схемы советских. Лабораторный блок питания СССР схема. Блок питания БП 12 5 СССР схема. Блок питания Соната схема. Лабораторный блок питания сборник схем.

Схемы советских

Схемы советских

Схемы советских. Стабилизатор напряжения СН-200 схема. Стабилизатор напряжения УСН-200 Таврия. Стабилизатор напряжения Вега-5м электрическая схема. Стабилизатор напряжения Вега 7 схема.

Схемы советских. Телевизор спектр ц280д. Телевизор темп ц-380д. Телевизор темп ц-280д блок питания. Телевизор спектр 61тц 435.

Схемы советских. Часы электроника 8 схема принципиальная электрическая. Схема на часы электроника 6 . 11. Схема электроники зап 01 эч. Часы электроника 6 схема принципиальная электрическая.

Схемы советских. Схема стационарного кнопочного телефона. Схема стационарного телефонного аппарата. Схема проводного телефонного аппарата. Схема телефонного аппарата та-68 АТС.

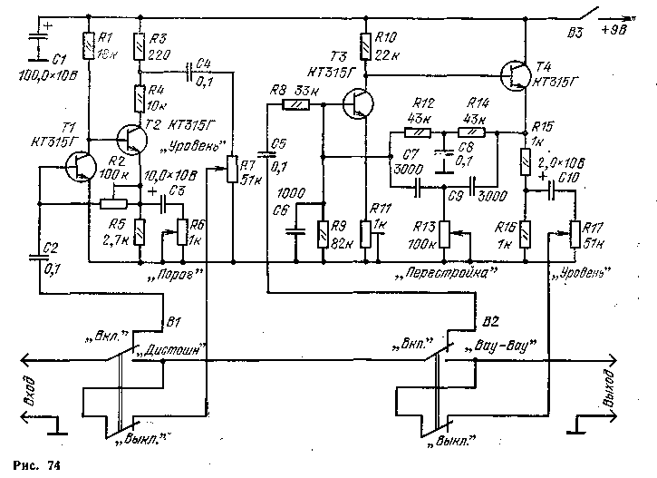
Схемы советских. Схема приставки для электрогитары дисторшн на транзисторах. Схема дисторшн для электрогитары на транзисторах. Приставка дисторшн схема. Схема гитарного процессора эффектов.

Схемы советских. Усилитель на германиевых транзисторах п213. Усилитель на германиевых транзисторах гт403. Усилитель на транзисторах мп39-мп40. Усилитель на германиевых транзисторах п217.

Схемы советских. Схема зарядного устройства ЗУ-71м. Выпрямитель ва-2 схема. Зарядное ву-71м схема. Выпрямитель вза-4 схема.

Схемы советских. Блок питания п213б мп26. Универсальный блок питания п213. Блок питания на п213 схема. Советский блок питания БП 12/5 схема.

Схемы советских

Схемы советских. Ламповый магнитофон Яуза -6 схема. Магнитофон Астра 202 схема. Схема магнитофона Астра 209 стерео. Магнитофон Астра 110 стерео схема принципиальная электрическая.

Схемы советских. Принципиальная схема лампового телевизора. Принципиальная схема КВН 49. Радиоприемник VEF Spidola 232 схема. Кадровая развёртка лампового телевизора схема.

Схемы советских. З У для авто АКБ на тиристорах схемы. Схема зарядки авто аккумулятора 12в. Схемы ЗУ для АКБ авто на тиристорах .. Схемы з/у для автомобильных аккумуляторов на тиристорах.

Схемы советских

Схемы советских. Часы электроника 6.02 схема. Схема часов электроника б6-401. Электронные часы кварц тн-021 схема. Схема на часы электроника 6 . 11.

Схемы советских. Схема этажного щита на 4 квартиры. Схема подключения подъездного электрощита. Схема подключения этажного щита на 4 квартиры. Этажный распределительный щит схема.

Схемы советских. Часы электроника ннб49-60-057. Часы электроника ннб49-60-057 схема. Лампа часы электроника ннб49-60-057. Лампа электроника ннб49-60-057 схема.

Схемы советских. Полесье 02 зеркало инструкция. Схема подключения авто зеркала Полесье 2. Схема подключения Полесье 2. Часы Полесье 02 схема.

Схемы советских

Схемы советских. Автомобильное зеркало с часами Полесье-01 схема. Электронные часы кварц тн-021 схема. Ивл2-7/5 часы схема. Часы Полесье 02 схема.

Схемы советских. Магнитофон Соната 213 с схема. Громкоговоритель Советский усилитель трансформаторный п213. Магнитофон Снежеть 110 схема. Схема магнитофона Снежеть 203.

Схемы советских. П210 усилитель мощности. Усилитель НЧ на п210. Усилитель УНЧ 25 схема на транзисторах. Усилитель на германиевых транзисторах п210.

Схемы советских. Часы электроника 7-06к схема. Часы электроника 7-06 схема принципиальная. Часы электроника б6-402 схема. Часы электроника б6-403 электросхема.

Схемы советских

Схемы советских. Схема электрическая бас гитары Урал. Схема электрогитары Урал. Форманта гитара схема электрическая. Схема электрическая принципиальная электрогитары Урал.

Схемы советских. Элегия 301 магнитофон схема. Магнитофон ИЖ 302 схема. Магнитофон Элегия 302с-1 схема принципиальная. Маяк 202 магнитофон схема.

Схемы советских. Приставки для электрогитары схемы. Схема генератора вибрато транзисторах. Вау приставка для электрогитары схема. Схема приставки для электрогитары дисторшн на транзисторах.

Схемы советских. Принципиальная схема лампового приемника Балтика. Ламповый радиоприемник Балтика схема. Радиоприемник на лампах 2к2м. Схема лампового приемника Балтика р3-1.

Схемы советских. Схема зарядки автомобильных АКБ ЗРУ -1. Зарядное для автомобильного аккумулятора с десульфатацией схема. Схема зарядно-восстановительного устройства для АКБ. Схема зарядного устройства для десульфатации автомобильного АКБ.

Схемы советских. Схема БП ИПС-1. Схема блока питания Марс 1а. Схема лабораторный блок питания 5бп-6. Блок питания Марс 15в, 1а.

Схемы советских

Схемы советских. ЗУ для автомобильного аккумулятора на 553уд2. Схема ЗУ для АКБ С реле зарядки. Зарядное для автомобильного аккумулятора своими руками схемы. Зарядное устройство для автомобильного аккумулятора на MOSFET.

Схемы советских. Радиоприемник Селга 404 схема. Кварц 404 радиоприемник схема. Радиоприемник Селга 402 схема. Схема радиоприемника Нейва 402.

Схемы советских. Слесарно-инструментальная машина Гном электрическая схема. Бормашина Гном 2 электрическая схема. Бормашина бэтсг-03 схема электрическая принципиальная. Система радиоуправления Гном 2.

Схемы советских

Схемы советских

Схемы советских. Зарядное устройство узр-п-12-6.3 УХЛ3.1. Узр-п-12-6.3-УХЛ3.1 схема зарядного устройства. Зарядное устройство Промсвязь ЗРУ 12/6. ЗУ Свитязь схема электрическая принципиальная.

Схемы советских. Схема магнитофона тоника 309. Магнитофон тембр 2м схема электрическая. Ламповый магнитофон Яуза-206 схема. Магнитофон Дайна ламповый схема.

Схемы советских. Часы электроника г9. Часы электроника г9 02 кварц. Ламповые часы электроника г9.02. Часы электроника г9 02 апгрейд.

Схемы советских. Калькулятор электроника МКШ 2м схема. Электроника б3-18а схема. Калькулятор электроника б3-05м схема. Электроника МКШ 2м схема.

Схемы советских

Схемы советских

Схемы советских

Схемы советских

  • Вперед Сигнализация с автозапуском старлайн инструкция
  • Назад Схему самолета посадочное место боинг 777

Новые страницы

Алгебра 8 класс макарычев номер 562

Английский язык 2 класс афанасьева михеева ответы

Дополнительное соглашение к договору поставки образец о внесении изменений

Энергия картинка пнг

Гдз по русскому языку 4 класс упр 203

Гифки бабочки для презентации на прозрачном фоне

Горький день города

Как сделать кикер для самоката чертежи

Карта первого ведьмака

Картинка клей для детей на прозрачном фоне для детей

Кхр ру работа

Клапана данфосс

Компрессия дизеля

Красивые яркие новогодние картинки с микки маусом

Математика 3 класс 2 часть 21

Образец сметы на электромонтажные работы

Опись на пожарный щит образец напечатать

Песня ай фил гуд

Приора о приоре

Схема части растений 1 класс

Схема мест в салоне а320

Схема стратификации

Спасибо за внимание флаг россии для презентации

Спасский собор питер

Спутниковая карта энгельса с улицами и домами в реальном времени со спутника

Стр 73 упр 3 математика 2

Стр 80 упр 3 английский язык 7 класс

Выписка из егрн об объекте недвижимости образец

Высказывания про учителей картинки

Заказ воды черноголовка

cdn.zecar.ru