Skip to content

Фотогалерея

  • Главная
  • Контакты

Схема зарядного узс п 12 6.3

Схема зарядного узс п 12 6.3. Зарядное устройство для автомобильного аккумулятора на ку202. Регулятор для зарядки автомобильного аккумулятора на ку 202. Зарядное устройство на т122-25. Зарядное устройство на т122--25 автомобильного аккумулятора.

Схема зарядного узс п 12 6.3. Зарядное устройство электроника УХЛ 3.1. З У электроника УЗС-П-12-6.3. Зарядное устройство электроника УЗС-П-12-6.3. Зарядное электроника УЗС 12 6.3.

Схема зарядного узс п 12 6.3. Уз-а-12-6.3-УХЛ3.1 кулон схема принципиальная. Кулон уз а 12 6.3 зарядное устройство схема. Уз-а-12-6,3-УХЛ3.1 "кулон". УЗС-С-12-6.3 УХЛ3.1 сигнал схема.

Схема зарядного узс п 12 6.3. Схема зарядного устройства УЗС П 12 6 3. Электроника ЗУ-7м. Схема зарядного устройства электроника УЗС-П-12-6.3. Электроника УЗС-П-12-6,3 плата.

Схема зарядного узс п 12 6.3. Зарядное электроника УЗС П 12 6.3. Зарядное электроника УЗС 12 6.3 УХЛ 3,1. Электроника УЗС-П-12-6,3 УХЛ3.1. З У электроника УЗС-П-12-6.3.

Схема зарядного узс п 12 6.3. Зарядно пусковое электроника ЗП 01 схема. Пуско зарядное электроника ЗП-01 схема. Зарядно-пусковое устройство Импульс ЗП-02 схема. Зарядное устройство электроника ЗП 01 схема.

Схема зарядного узс п 12 6.3. Схема зарядного устройства электроника УЗС-П-12-6.3. УЗС-П-6/12-1.6-УХЛ 3.1 схема. УЗС-100 схема. Уз-па-6/12-6,3-УХЛЗ.1.

Схема зарядного узс п 12 6.3. Зарядное устройство узр-п-12-6.3 УХЛ3.1. Схема узр-п-12/6-6.3-УХЛ3.1. Узр-п-12-6.3-УХЛ3.1 схема зарядного устройства. Схема зарядного устройства ресурс 1 для автомобильного аккумулятора.

Схема зарядного узс п 12 6.3. Схема зарядного пускового устройства Импульс ЗП-02 схема. Зарядно-пусковое устройство Импульс ЗП-02 схема. Электрическая схема зарядно-пускового устройства Импульс ЗП-02. Зарядно-пусковое устройство электроника ЗП-01 схема.

Схема зарядного узс п 12 6.3. Схема зарядного устройства УЗС П 12 6 3. Зарядное электроника УЗС 12 6.3 УХЛ 3,1. Зарядное устройство электроника УЗС-П-12-6.3. Электроника УЗС-П-12-6,3 УХЛ3.1.

Схема зарядного узс п 12 6.3

Схема зарядного узс п 12 6.3. Зарядное устройство электроника УЗС-П-12-6.3. Электроника УЗС-П-12-6.3 трансформатор. Электроника УЗС-П-12-6.3 инструкция. Пуско зарядное устройство УЗС П 12 6.

Схема зарядного узс п 12 6.3. Печатная плата ЗУ ресурс1. Автомобильное зарядное устройство ресурс-1 схема. Схема зарядки ресурс 1. ЗУ ресурс-1 схема.

Схема зарядного узс п 12 6.3. Печатная плата ЗУ ресурс1. Схема зарядного устройства ресурс 1 для автомобильного аккумулятора. Зарядка автомобильного аккумулятора ресурс-1 схема. Схема зарядного устройства УЗС П 12 6 3.

Схема зарядного узс п 12 6.3. Зарядное электроника УЗС 12 6.3 УХЛ 3,1. УЗС 6/12-6.3 УХЛ3.1-1. УЗС- П - 6/12 - 6,3 УХЛ 3.1 схема. ЗУ сигнал.УЗС-С-12-6.3.

Схема зарядного узс п 12 6.3. Зарядное УЗИ-П-12\6. УЗИ-П-12\6 Свитязь.

Схема зарядного узс п 12 6.3. Зарядное устройство бархат схема принципиальная электрическая. Схема зарядного устройства УЗС П 12 6 3. Узр-п-12-6.3-УХЛ3.1 схема. Схема зарядного устройства ЗРУ 12 6 6.

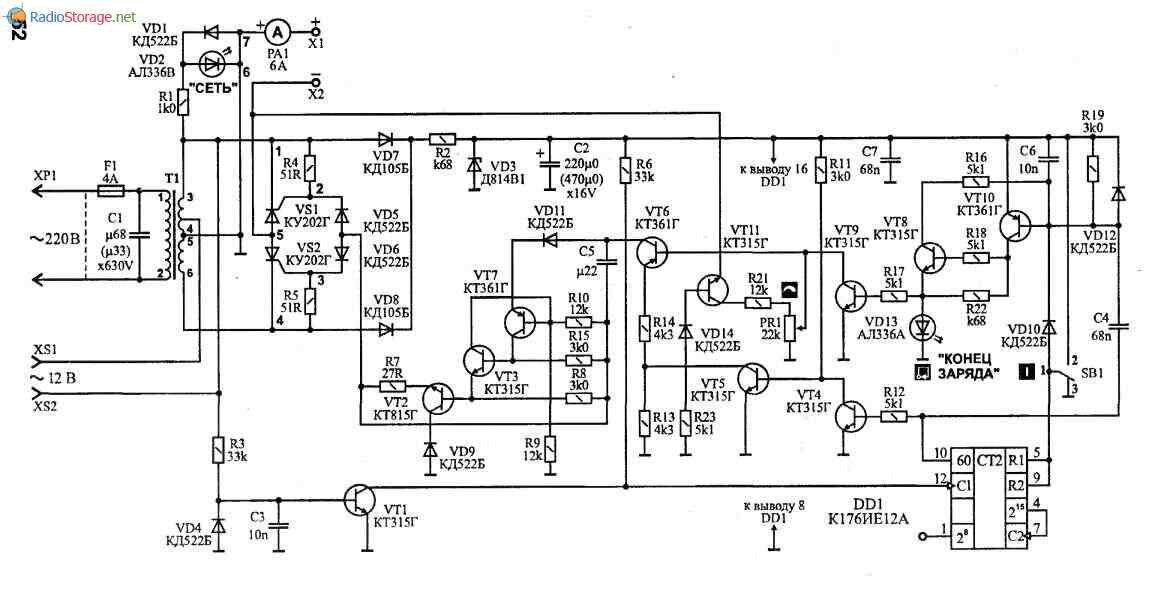
Схема зарядного узс п 12 6.3. УЗС-П-12-6.3 УХЛ3.1 схема. Зарядное устройство электроника УЗС-П-12-6.3 УХЛ3.1 схема. УЗС-П-12-6.3 УХЛ 3.1 схема подключения амперметра. Схема зарядного устройства УЗС П 12 6 3.

Схема зарядного узс п 12 6.3. Зарядное электроника УЗС 12 6.3 УХЛ 3,1. УЗС-П-6/12-1.6-УХЛ 3.1 схема. ЗУ электроника УЗС-П-12-6.3 схема электрическая. Электроника УЗС-П-12-6,3 УХЛ3.1.

Схема зарядного узс п 12 6.3

Схема зарядного узс п 12 6.3. Зарядное Импульс ЗП 02 схема. Зарядное устройство Импульс ЗС-01. Зарядно-пусковое устройство Импульс ЗП-02 схема. Схема пуско зарядного устройства Импульс ЗП 02.

Схема зарядного узс п 12 6.3

Схема зарядного узс п 12 6.3. Зарядное устройство электроника УЗС-П-12-6.3. Зарядное электроника УЗС 12 6.3. З У электроника УЗС-П-12-6.3. Электроника УЗС-П-12-6,3 УХЛ3.1-1.

Схема зарядного узс п 12 6.3. Устройство зарядное уз-с-6/12-6.3 УХЛ3.1 схема. Устройство зарядное автоматическое для аккумуляторов уз-1 Бриз. Уз-п-12-6.3-УХЛ3.1 бархат схема. Зарядное устройство бархат схема уз-п-12-6.3-УХЛ 3.1 схема.

Схема зарядного узс п 12 6.3

Схема зарядного узс п 12 6.3. УЗП-П-12-6-УХЛ3.1 схема. Усилитель с эмос схема. Схема зарядного устройства электроника УЗС-П-12-6.3. УЗС-П-12-6.3 схема.

Схема зарядного узс п 12 6.3. Схема зарядно пусковое устройства ЗП 01. Зарядно пусковое электроника ЗП 01 схема. Зарядное устройство электроника ЗП 01 схема. Пуско зарядное электроника ЗП-01 схема.

Схема зарядного узс п 12 6.3. Схема зарядного устройства УЗС П 12 6 3. УЗП-П-6/12-6.3-УХЛ3.1 схема. Зарядное устройство электроника УЗС-П-12-6.3 ухл3. Зарядное электроника УЗС 12 6.3 УХЛ 3,1.

Схема зарядного узс п 12 6.3. Схема зарядного устройства АЗТ 6 12-6 Ермак. Зарядно-пусковое устройство Импульс ЗП-02 схема. Зарядное устройство УЗП 6 12 схема.

Схема зарядного узс п 12 6.3. Схема зарядного электроника УЗС-П-12-6.3 УХЛ 3.1. Зарядка электроника УЗС-П-12-6.3. Схема зарядного устройства УЗС П 12 6 3. Схема зарядки электроника УЗС-П-12-6.3.

Схема зарядного узс п 12 6.3

Схема зарядного узс п 12 6.3

Схема зарядного узс п 12 6.3

Схема зарядного узс п 12 6.3. Зарядное электроника УЗС 12 6.3. Зарядное устройство электроника УЗС-П-12. Зарядное устройство электроника УЗС-П-12-6.3 схема принципиальная. Зарядное электроника УЗС 12 6.3 УХЛ 3,1.

Схема зарядного узс п 12 6.3. УЗП-12-20/140 спринт схема. УЗП спринт 200 схема. УЗП 12-15/100 спринт 100 схема. Пуско-зарядное старт 2 схема.

Схема зарядного узс п 12 6.3. Зарядное УЗП-1м для газоанализатора м02-01. Зарядное устройство УЗП 6 12 схема. Ультразвуковой преобразователь УЗП-2,5. УЗП-м1.

Схема зарядного узс п 12 6.3. Зарядно-пусковое устройство Импульс ЗП-02 схема. Зарядное устройство электроника ЗП 01 схема. Электроника Импульс ЗП-02 схема. Зарядно пусковое электроника ЗП 01 схема.

Схема зарядного узс п 12 6.3. Схема зарядного устройства рассвет для автомобильного аккумулятора. ЗУ рассвет 2 схема принципиальная электрическая. Схема зарядного устройства рассвет-2 для автомобильного аккумулятора. Схема зарядного устройства для автомобильного аккумулятора расвет2.

Схема зарядного узс п 12 6.3. Схема зарядно-восстановительного устройства для АКБ. Зарядное устройство электроника схема возможные неисправности. Устройство зарядно разрядное узр 201 у2 схема. Схема зарядного устройства автомобильных аккумуляторов электрон-6.

Схема зарядного узс п 12 6.3

Схема зарядного узс п 12 6.3

Схема зарядного узс п 12 6.3. Зарядное устройство узр-п-12-6.3 УХЛ3.1. Узр-п-12-6.3-УХЛ3.1 схема зарядного устройства. Зарядное устройство Промсвязь ЗРУ 12/6. ЗУ Свитязь схема электрическая принципиальная.

Схема зарядного узс п 12 6.3

Схема зарядного узс п 12 6.3. Зарядное устройство Импульс ЗС 02 схема. Зарядное Импульс ЗП 02 схема. Схема зарядного пускового устройства Импульс ЗП-02 схема. Электрическая схема зарядно - пускового устройства электроника ЗП - 01.

Схема зарядного узс п 12 6.3. Устройство зарядное автоматическое электроника схема. Зарядное автоматическое электроника уз-а-6/12-6д-УХЛ. Зарядно пусковое электроника ЗП 01 схема. Зарядное устройство электроника 15мо 081 043 ту схема.

Схема зарядного узс п 12 6.3. Взву отре-6п-12/6 схема электрическая. Узр-п-12-6.3-УХЛ3.1 схема. Зарядное устройство взву отре-6,3п-12/6. Взву отре-6.3п-12/6-УХЛЗ.

Схема зарядного узс п 12 6.3

Схема зарядного узс п 12 6.3. Схема зарядного устройства УЗС П 12 6 3. ЗУ бархат уз п 12 6 3 УХЛ 3 1 схема. Зарядное устройство бархат схема уз-п-12-6.3-УХЛ 3.1. Бархат-м уз-п-12-6.3-УХЛ 3.1.

Схема зарядного узс п 12 6.3

Схема зарядного узс п 12 6.3. Зарядное устройство узр-п-12-6.3 УХЛ3.1. Схема зарядного устройства УЗС П 12 6 3. Узр п 12 6.3 УХЛ3.1 1989. Схема узр-п-12/6-6.3-УХЛ3.1.

Схема зарядного узс п 12 6.3. Зарядное устройство электроника ЗП 01 схема. Зарядно пусковое электроника ЗП 01 схема. Схема зарядно пусковое устройства ЗП 01. УЗП-П-6/12-6.3-УХЛ3.1 схема.

Схема зарядного узс п 12 6.3. Схема зарядного устройства УЗС П 12 6 3. УЗС-П-6/12-1.6-УХЛ 3.1 схема. Зарядное устройство электроника УХЛ 3.1. УЗС-С-12-6.3 УХЛ3.1 сигнал схема.

Схема зарядного узс п 12 6.3. УЗС-С-12-6.3 УХЛ3.1 сигнал схема. Милта ф 8 01 принципиальная схема. Принципиальная схема прибора УЗС-24. Милта ф-8-01 схема электрическая принципиальная.

Схема зарядного узс п 12 6.3. Схема зарядного устройства электроника УЗС-П-12-6.3. Зарядное устройство электроника 15мо 081 043 ту схема. Автоматическое зарядное устройство на тиристорах плата 7.103.182. Устройство зарядное уз-с-6/12-6.3 УХЛ3.1 схема.

Схема зарядного узс п 12 6.3. Зарядное устройство электроника 15мо 081 043 ту схема. Схема зарядного устройства электроника УЗС-П-12-6.3. Электроника" УЗС-П-12-6,3 УХЛ3.1 схема электрическая. Зарядное устройство электроника УЗС-П-12-6.3 схема принципиальная.

Схема зарядного узс п 12 6.3

Схема зарядного узс п 12 6.3. XM 508 зарядка схема. Зарядное устройство XM-508 схема. Схема Ryobi bcl1418h. Схема зарядки Ryobi.

Схема зарядного узс п 12 6.3

Схема зарядного узс п 12 6.3. Схема зарядного устройства электроника УЗС-П-12-6.3. Зарядное устройство электроника 15мо 081 043 ту схема. Автоматическое зарядное устройство электроника схема 1988. Схема ЗУ электроника автомат.

Схема зарядного узс п 12 6.3. Выпрямитель зарядный агрегат ВАЗ-6/12-6.3. Автоматическое подзарядное устройство 1п-12/6-уз. ЗУ ресурс-1 схема. Схема ЗУ электроника автомат.

Схема зарядного узс п 12 6.3. Выпрямительное зарядно-восстановительное устройство взву отре-6п-12 6. Зарядное устройство взву отре-6,3п-12/6. Узр-п-12-6.3-УХЛ3.1 схема. Зарядно-восстановительное взву отре-6п-12.

Схема зарядного узс п 12 6.3. Схема зарядного устройства электроника УЗС-П-12-6.3. Электроника УЗС-П-12-6,3 плата. Зарядное устройство электроника УЗС-П-12. Зарядное устройство электроника УЗС-П-12-6.3 схема принципиальная.

Схема зарядного узс п 12 6.3. Блок питания на п217в схема с защитой от кз. Блок питания до 40в защитой от кз. Блок питания на 217ma. БП С комплексной защитой.

Схема зарядного узс п 12 6.3. Зарядное электроника УЗС П 12 6.3 схема. Схема зарядного устройства электроника УЗС-П-12-6.3. Схема зарядного 15мо. Схема ЗУ для автомобильного аккумулятора электроника.

Схема зарядного узс п 12 6.3. Зарядное устройство электроника УЗС-П-6/12-7.5 схема. Зарядное устройство электроника УЗС-П-12-6.3 схема принципиальная. УЗС-П-12-6.3 УХЛ 3.1 схема подключения амперметра. Схема зарядного устройства УЗС П 12 6 3.

Схема зарядного узс п 12 6.3. Схема ЗУ электроника автомат. Зарядное устройство электроника 15мо 081 043 ту схема. Схема зарядного устройства электроника уз-а-6/12. Устройство зарядное автоматическое электроника схема.

Схема зарядного узс п 12 6.3. Схема зарядного пускового устройства Импульс ЗП-02 схема. Зарядно-пусковое устройство электроника ЗП-01 схема. ЗУ сигнал.УЗС-С-12-6.3. Зарядное устройство Импульс ЗС 02 схема.

Схема зарядного узс п 12 6.3

Схема зарядного узс п 12 6.3. Выпрямитель зарядный ВАЗ-6/12-6.3 схема. Зарядное устройство электроника УЗС-А-12-6.3 схема. Схема зарядно разрядное устройство узр-п-12/6. Схема зарядного устройства электроника уз-а-6/12-7.5.

Схема зарядного узс п 12 6.3. Устройство зарядно-выпрямительное бархат м схема. Схема зарядного устройства бархат м УЗС-П-12-6.3 УХЛ3.1. Выпрямитель ВАЗ 6/12-6.3 схема. Уз-п-12-6.3-УХЛ3.1 бархат схема.

Схема зарядного узс п 12 6.3. Схема зарядного устройства электроника УЗС-П-12-6.3. Схема зарядного устройства УЗС П 12 6 3. Зарядное устройство электроника м42180 схема. Зарядное электроника УЗС П 12 6.3 схема.

Схема зарядного узс п 12 6.3. Зарядное устройство электроника 15мо 081 043 ту схема. Зарядное устройство электроника 15 МО 081043 ту схема. Зарядное устройство электроника уз-а-12,6. Зарядное устройство 15мо081043ту схема электрическая.

Схема зарядного узс п 12 6.3

Схема зарядного узс п 12 6.3. Схема зарядное устройство кедр 3м. Схема зарядного кедр авто 10а. Схема зарядки кедр авто 10а. Зарядное устройство Ермак АТЗ-6/12-6 схема электрическая схема.

Схема зарядного узс п 12 6.3. ЗУ сигнал.УЗС-С-12-6.3. УЗП-С-12-6.3-УХЛ3.1 Саранск.

Схема зарядного узс п 12 6.3. Выпрямитель зарядный ВАЗ-6/12-6.3 схема. Устройство зарядно-выпрямительное бархат схема. Выпрямитель зарядный агрегат ВАЗ-6/12-6,3 схема. Бархат уз-п-12-6.3 схема.

Схема зарядного узс п 12 6.3. Устройство зарядно-выпрямительное бархат схема. Бархат зарядно-выпрямительное устройство. Схема зарядного устройства бархат м УЗС-П-12-6.3 УХЛ3.1. ЗУ бархат уз п 12 6 3 УХЛ 3 1 схема.

Схема зарядного узс п 12 6.3. Схема зарядного устройства автомобильных аккумуляторов электрон-6. Схема зарядного устройства ЗУ-3м для автомобильного аккумулятора. Зарядное устройство Patriot схема. Электроника ЗУ-7м схема.

Схема зарядного узс п 12 6.3. Устройство зарядно-выпрямительное бархат схема. Уз-п-12-6.3-УХЛ3.1 бархат схема. Бархат п-12-6.3-УХЛ3.1. Бархат устройство зарядно-выпрямительное принципиальная схема.

Схема зарядного узс п 12 6.3. Узр-п-12/6-6,3-УХЛ3.1. Зарядное устройство узр-п-12-6.3 УХЛ3.1. Узр-п-12-6.3-УХЛ3.1 схема. Зарядное устройство рейд узр-п-12-6.3 инструкция.

Схема зарядного узс п 12 6.3. Зарядное устройство электрон 3м схема. Зарядное устройство электрон 3м схема возможные неисправности. Электрон 3м схема принципиальная. ЗУ электрон 6 схема.

  • Вперед Составьте предложение по схеме если
  • Назад Tmpl fitness

Новые страницы

4 Картинки 1 слово ответы на все уровни на андроид

651 Геометрия 8 класс атанасян

Договор уступки прав требования образец

Эпоха великих географических открытий 5 класс география презентация

Футболка с принтом на заказ спб

Гоголь 3 фильм

Хомут заземления ухз 25 40

Изображение из webm в jpg

Кабан рисунок для детей

Как диагностировать аутизм у ребенка

Как написать обращение в страховую компанию образец

Карта тц зеленопарк

Купить спортивную винтовку

Не смейте забывать учителей картинки

Объявление о наборе сотрудников образец

Опель астра предохранители и реле

Пчела картинка для детей на прозрачном фоне

Поломка вариатора симптомы

Расписка о получении денежных средств предоплата образец

Решение об одобрении крупной сделки ооо образец один учредитель скачать

Самолет аэробус а350 900 схема

Схемы свитера регланом сверху

Сколько букв в слове а

Спортивный зал дружба

Тату эскиз панда в очках

Учебник математика 5 класс виленкин 2 часть скачать

Все ночные клубы барнаула

Замена акпп audi q7

Замена датчика дроссельной заслонки на калине

Женская стрижка боб схема

cdn.zecar.ru