Skip to content

Фотогалерея

  • Главная
  • Контакты

Схема соединения кабеля

Схема соединения кабеля. Схема подключения греющего кабеля к сети 220в. Схема подключения греющего кабеля. Схема подключения двухжильного резистивного кабеля. Саморегулирующийся греющий кабель схема подключения.

Схема соединения кабеля. Обжимка для витой пары RJ 45 схема подключения. Схема подключения Ethernet кабеля розетки. Схема коннектора RJ-45. Схема подключения компьютерной розетки rj45.

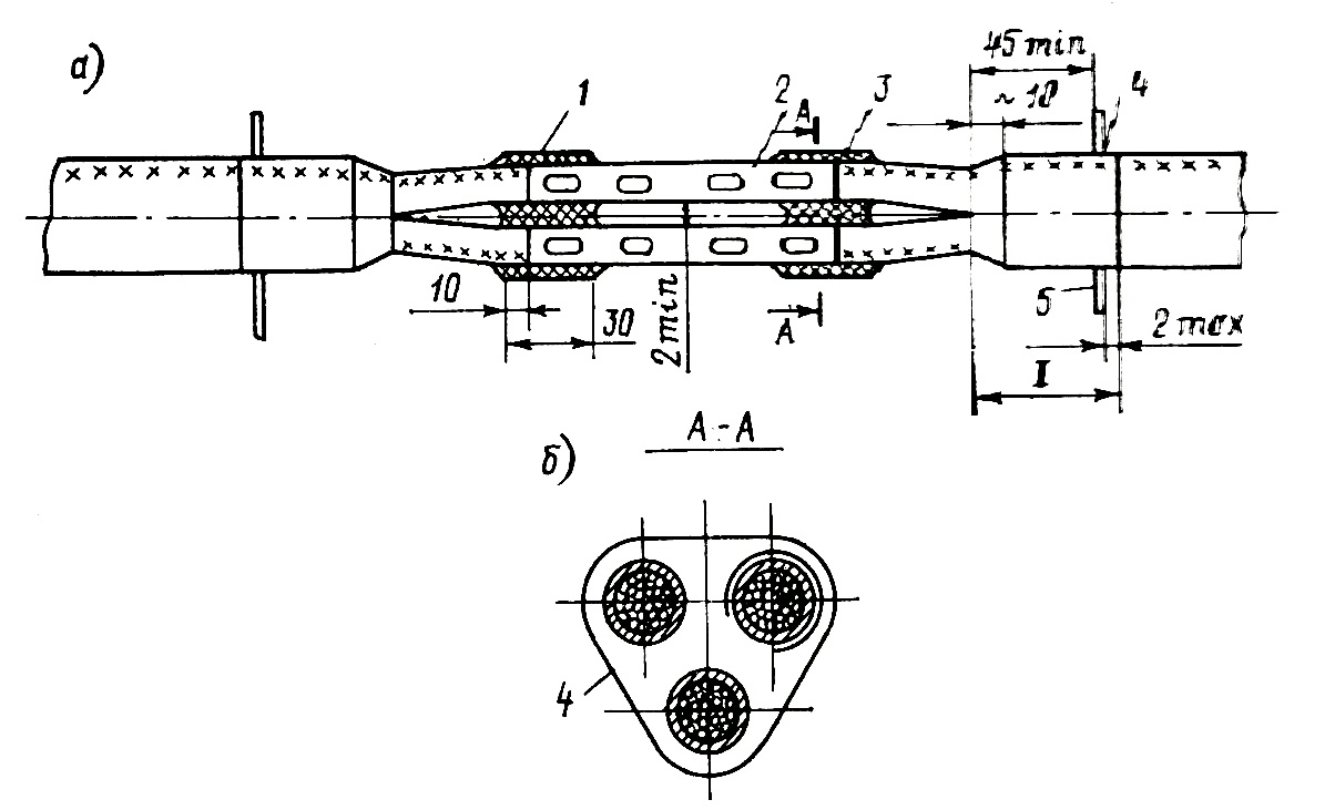
Схема соединения кабеля. Схема монтажа соединительной кабельной муфты. Соединительная муфта для кабеля схема. Монтажная схема муфты. Кабельная муфта чертеж.

Схема соединения кабеля. Типы сетевых кабелей схема витая пара. Типы сетевых кабелей схема таблица. Кабели витая пара и оптоволокно Информатика. Типы кабелей локальных сетей и скорость передачи.

Схема соединения кабеля. Схемы расключения электропроводки. Схема подключения электрических проводов 3. Схема подключения освещения в распаечной коробке. Схема соединений электрическая в распаечной коробке.

Схема соединения кабеля. Разъём rj45 распиновка витой пары. Схема подключения Ethernet кабеля rj45. Расключение коннектора RJ 45 2 пары. Обжим кабеля rj45 распиновка.

Схема соединения кабеля. Схема подключения IP камеры видеонаблюдения по витой паре. POE IP камера по витой паре. Схема подключения видеокамеры витая пара. Питание РОЕ по витой паре схема.

Схема соединения кабеля. Соединение проводов многожильных схема. Правильное соединение проводов скруткой. Схема соединения зажимами проводов. Соединение 2 медных проводов.

Схема соединения кабеля. Концевая муфта на греющий кабель теплого пола. Концевая муфта саморегулируемого греющего кабеля. Соединение концевой муфты греющего кабеля. Муфта соединительная греющего кабеля схема.

Схема соединения кабеля. Электрическая схема греющего кабеля. Схема подключения обогревающего кабеля. Схема подключения кабеля подогрева водопровода. Схема подключения греющего кабеля к выключателю.

Схема соединения кабеля. Соединение проводов пайкой на чертеже. Схема изоляции проводов скруткой. Соединение проводов пайкой схема. Схемы соединений медных проводов.

Схема соединения кабеля. Распиновка розетки rj45. Как подключить провода в сетевую розетку RJ 45. Расключение розетки RJ 45 Schneider. Розетка Шнайдер rj45 распиновка.

Схема соединения кабеля. Провод для соединения компьютера с роутером. Как от одного кабеля подключить 2 компьютера. Соединение двух компьютеров в локальную сеть. Схема кабеля lan соединение двух компьютеров.

Схема соединения кабеля. Схемы соединений медных проводов. Пайки, скрутки алюминиевых жил проводов. Соединение проводов пайкой. Скрутка проводов схема соединений.

Схема соединения кабеля. Схема подключения коннектора сетевого кабеля. Схема соединения проводов интернета. Коннектора в роутер схема подключения. Схема разъема к которому подключен сетевой кабель.

Схема соединения кабеля. Характеристики кабеля типа витая пара. Интернет схема присоединения коаксиального кабеля. Кабельные линии связи характеристика. Подключение кабеля витая пара типы соединений.

Схема соединения кабеля. Схема подключения саморегулирующего греющего кабеля. Схема подключения кабеля подогрева водопровода. Схема подсоединения греющего кабеля. Схема подключения греющего кабеля.

Схема соединения кабеля

Схема соединения кабеля. Схема подключения саморегулирующего греющего кабеля. Схема подключения обогревающего кабеля для водопровода. Схема саморегулирующего греющего кабеля. Греющий кабель в трубу схема подключения.

Схема соединения кабеля. Схема подключения резистивного греющего кабеля. Схема подключения греющего кабеля. Схема подключения греющего кабеля в 220. Параллельное подключение греющего кабеля схема.

Схема соединения кабеля. Схема подключения греющего кабеля для водопровода. Схема подсоединения греющего кабеля. Схема подключения двухжильного резистивного кабеля. Схема подключения кабеля обогрева трубопровода.

Схема соединения кабеля. Витая пара обжим схема 8 жил. Схема прямого обжима витой пары RJ-45 8 проводов. Схема подключения Ethernet кабеля. Витая пара rj45 схема обжима.

Схема соединения кабеля. Схема подключения видеокамеры витая пара. Схема подключения камеры через витую пару. Подключение видеокамеры по витой паре схема подключения. Распиновка кабеля витой пары rj45 для видеонаблюдения.

Схема соединения кабеля. Соединение проводов пайкой. Соединение электрических проводов скруткой. Соединитель проводов электропроводки алюминия. Соединение многожильных проводов электро.

Схема соединения кабеля. Расключение кабеля UTP схема. Схема обжимки коннектора RJ-45. Схема обжима кабеля rj45. Обжим коннектора RJ-45 схема.

Схема соединения кабеля. Схема подключения резистивного греющего кабеля. Схема соединения саморегулирующего греющего кабеля. Схема подключения резистивного кабеля. Схема подключения кабеля обогрева трубопровода.

Схема соединения кабеля. Схема подключения оптических волокон. Конструкция оптического коннектора. Оптический разъем на схеме подключения. Оптический кабель волокон схема подключения.

Схема соединения кабеля. Схема подключения греющего кабеля. Схема монтажа греющего кабеля для водопровода. Греющий кабель схема монтажа. Схема установки греющего кабеля в водопроводе.

Схема соединения кабеля. Элементы соединения электрических проводов. Соединение проводов на электрической схеме. Гальваническое соединение проводов. Схема соединения проводов монтажная.

Схема соединения кабеля. Сетевой кабель rj45 распиновка. Витая пара распиновка rj45. Распиновка rj45 для Ethernet. Кабель эзернет RJ 45 распиновка.

Схема соединения кабеля. Распиновка разъема rj45 Ethernet. Схема обжима кабеля rj45. RJ 45 коннектор распиновка. Разъём RJ-45 распиновка.

Схема соединения кабеля

Схема соединения кабеля. Схема подключения греющего кабеля для кровли. Схема подключения греющего кабеля на крышу. Греющий кабель для кровли и водостоков схема подключения. Схема подключения кабеля подогрева водопровода.

Схема соединения кабеля. Схема подключения наружного греющего кабеля. Трехфазный греющий кабель схема подключения. Схема подключения греющего кабеля для скважины. Схема подключения уличного греющего кабеля.

Схема соединения кабеля

Схема соединения кабеля. Схема обжима витой пары RJ-45 розетка коннектор. Обжимка коннектора RJ-45 схема. Схема подключения Ethernet кабеля. Сетевой коннектор RJ-45 распиновка.

Схема соединения кабеля. Ethernet RJ-45 схема расключения. Обжим кабеля rj45 POE схема. Расключение коннектора RJ 45 2 пары. Сетевой разветвитель rj45 схема пайки.

Схема соединения кабеля. Схема подключения экранированного кабеля. Схема соединения проводов заземление. Заземление экрана кабеля на схеме. Схема подключения силового кабеля с экраном.

Схема соединения кабеля. Схема подключения греющего кабеля. Схема подключения греющего кабеля к сети 220в. Схема подключения нагревательного кабеля. Схема подключение саморегулируемого греющего кабеля.

Схема соединения кабеля. Схема включения саморегулирующего кабеля. Схема подключения греющего кабеля. Схема подключения греющего провода. Схема подключения кабеля обогрева трубопровода.

Схема соединения кабеля. Гильза для кабеля чертеж. Гильза для соединения жил кабеля ТПП. Соединительные гильзы на муфты кабелей чертеж. Соединители кабельные СКР чертёж.

Схема соединения кабеля

Схема соединения кабеля. Кабель балансный XLR Jack 3.5 стерео. Кабель RCA Jack 3.5 схема пайки. Схема распайки межблочного кабеля. Распайка балансного кабеля Jack.

Схема соединения кабеля. Витая пара роутер компьютер распиновка. Схема обжима Gigabit витой пары RJ-45. Схема обжатия rj45 от роутера к компьютеру. Схема подключения изернет кабеля.

Схема соединения кабеля. Схема подключения обогревающего кабеля для водопровода. Схема соединения саморегулирующего греющего кабеля. Саморегулирующийся греющий кабель для водопровода схема подключения. Схема заделки греющего кабеля для водопровода.

Схема соединения кабеля. Греющий кабель схема подключения к регулятору. Трехфазный греющий кабель схема подключения. Электрическая схема подключения греющего кабеля. Греющий кабель схема подключения напрямую.

Схема соединения кабеля. Схема подключения Ethernet кабеля 4 жилы. Витая пара обжим схема 8 жил роутер. Схема обжимки витой пары 8 проводов роутер компьютер. Витая пара обжим схема 8 жил роутер компьютер.

Схема соединения кабеля. Схема подключения нагревательного кабеля на 220 в. Трехфазный греющий кабель схема подключения. Схема подключения нагревательной ленты. Греющий кабель схема подключения напрямую.

Схема соединения кабеля. Ethernet витая пара распиновка. Схема распиновки порта rj45 Ethernet. Распиновка разъема rj45 Ethernet. Распиновка кабеля Ethernet RJ-45.

Схема соединения кабеля. Кабель 4 жильный цвета схема 220 вольт. Трехфазный провод схема. Схема подключения трехжильного провода. Схема соединения 3х жильного провода.

Схема соединения кабеля. Оконцевание и соединение жил проводов и кабелей. Соединение кабелей на чертеже. Разветвление проводов схема подключения. Соединение проводов на схеме.

Схема соединения кабеля. Распиновка обжимки rj45. Схема распиновки порта rj45 Ethernet. Разъём для интернет кабеля rj45 распиновка. Разъём RJ-45 распиновка.

Схема соединения кабеля. Скрутка проводов схема соединений. Соединение типа скрутка проводов. Соединение ответвление и оконцевание проводов. Ответвление одножильных проводов.

Схема соединения кабеля. Обжим витой пары 568b. UTP 5e кабель схема. Cat6 rj45 кабель схемы. Ethernet-кабель (Cat 5),распайка.

Схема соединения кабеля. Витая пара интернет кабель маркировка кабеля 4 жилы. Витая пара обжим схема 8 интернет. Обжим кабеля rj45 по категориям. Обжимка витой пары схема 2 пары.

Схема соединения кабеля

Схема соединения кабеля. Схема подключения КИП ЭХЗ. Принципиальная схема ЭХЗ газопровода. Технологическая схема подключения трубопроводов. Монтажная схема соединений газопроводов.

Схема соединения кабеля. Rj45 коннектор видеокамер схема расключение. Схема подключения камеры витая пара. Распиновка джеков витой пары. Схема расключения витой пары.

Схема соединения кабеля. Как соединить кабель витая пара. Как соединить два кабеля витой пары между собой. Соединение UTP кабеля витая пара. Соединение проводов витой пары.

Схема соединения кабеля. Подключение саморегулирующего греющего кабеля. Схема подключения нагревающего кабеля. Греющий кабель схема подключения напрямую. Схема подсоединения греющего кабеля.

Схема соединения кабеля. Заземление экрана кабеля контрольного кабеля схема. Заземление экрана контрольного кабеля нормы. Заземление брони кабеля 0.4 кв. Схема заземления брони кабеля.

Схема соединения кабеля. Витая пара обжимка 4 проводов. Стандарт обжима витой пары RJ-45. Схема обжимки витой пары. Обжим кабеля rj45 роутер роутер.

Схема соединения кабеля. Скважинный насос 4 жильный кабель схема подключения. Скважинный насос 4 провода схема подключения. Глубинный насос схема подключения 4 провода. Термоусадочная муфта для кабеля погружного насоса.

Схема соединения кабеля

Схема соединения кабеля. Чертеж пайки резистора. Соединение проводов пайкой на чертеже. Соединение проводов по ГОСТУ. Соединение кабельное чертеж.

Схема соединения кабеля. Обжим витой пары rj45 гигабит. Расключение коннектора RJ 45 2 пары. Обжим rj45 распиновка. Распиновка РЖ 45 витая пара.

Схема соединения кабеля

Схема соединения кабеля. Греющий кабель 380в схема подключения. Схема подключения греющего кабеля. Греющий кабель с терморегулятором схема концевой муфты. Электрическая схема подключения греющего кабеля.

Схема соединения кабеля. Муфта 10 кв соединительная схема. Монтаж соединительной муфты 10 кв масляный кабель. Инструкция по монтажу соединительной муфты 10 кв.

Схема соединения кабеля. Схема подключения двухжильного резистивного кабеля. Схема подключения саморегулирующегося нагревательного кабеля. Схема подсоединения греющего кабеля. Схема подключения одножильного резистивного греющего кабеля.

Схема соединения кабеля. Схема подключения двухжильного резистивного кабеля. Схема подключения саморегулирующего греющего кабеля к сети. Греющий кабель схема монтажа. Схема подключения саморегулирующего греющего кабеля.

Схема соединения кабеля. Подключение сварочного аппарата 380в схема трехфазный. Схема подключения трехфазного ТЭНА. Схема подключения 3х фазного ТЭНА. Соединение 3 фазного нагревателя.

Схема соединения кабеля. Схема подключения саморегулирующего греющего кабеля. Подключение плоского греющего кабеля. Монтаж греющего кабеля соединение проводов. Схема подключения нагревающего кабеля.

Схема соединения кабеля. Обжимка витой пары 568b. Соединения патч корд т568а. Обжим витой пары по стандарту 568-а и 568-b. Обжим витой пары 568а.

Схема соединения кабеля. Схема обжима витой пары RJ-45. Схема разъема интернет кабеля. Схема обжима кабеля витая пара. Обжимка rj45 распиновка роутер.

Схема соединения кабеля. Схема подключения коннектора сетевого кабеля. Схема подключения Ethernet кабеля 4 жилы. Схема подключения Ethernet кабеля rj45. Расключение кабеля UTP схема.

Схема соединения кабеля. Схема подключения телефонной розетки Legrand 4 провода. Телефонная розетка схема подключения 4 провода. Схема расключения телефонного кабеля. Схема подключения телефонного кабеля к разъёму RJ-11.

Схема соединения кабеля. Схема распайки двухклавишного выключателя. Схема подключения двух светильников через двухклавишный выключатель. Схема подключения 2 светильников к двухклавишному выключателю. Схема подключения двухклавишного выключателя на 6 светильников.

Схема соединения кабеля. Powercon разъем распайка. Схема распайки проводов. Спикон разъем распиновка. Схема распайки Speakon разъемов.

Схема соединения кабеля. Схема обжимки витой пары 8 проводов роутер компьютер. Обжимка кабеля RJ 45 схема. Схема подключения коннектора сетевого кабеля. Схема соединения RJ 45 компьютерный разъем.

Схема соединения кабеля. Экранированные провода схемы подключений. Схема распайки межблочного кабеля. Схема распайки силового кабеля. Схема подключения экранированного кабеля.

  • Вперед Упражнение 477
  • Назад Программа тренировок для начинающих дома

Новые страницы

Адаптация дросселя калина

Что такое зумба в фитнесе

Дышит ли пенопласт при утеплении стен

Добавки для восстановления после тренировок

Двудольные однодольные таблица

Экспресс на спорт

Где находится ирак на карте мира

Гдз по английскому spotlight тренировочные

Gdz vip

Холодная тренировка

Кафе гараж старый оскол

Карта ташкента с районами на русском языке

Картинки с прикольные с надписями про работу со смыслом

Министр иностранных дел украины

Монтаж светодиодного освещения

Парные тату для парня и девушки со смыслом маленькие эскизы

С днем рождения антон александрович картинки

Схема соединения кабеля

Схемы сборки рубика 5х5

Спорт костюм большие размеры

Спортивная одежда купить в спб

Спортивное на букву ф

Стеклоподъемник не поднимает

Тизерцин рецепт на латинском

Tomahawk инструкция

Троллейбусный парк 3 санкт петербург

Установка снегозадержателей на крыше

Заливает свечи маслом инжектор

Замена реактивных тяг на ниве

Зеркало гинекологическое металлическое

cdn.zecar.ru