Skip to content

Фотогалерея

  • Главная
  • Контакты

Схема плазмы

Схема плазмы. Схема плазменной резки металла. Принцип работы плазменной резки металла. Плазменная обработка металлов схема. Плазморез полярность.

Схема плазмы. Плазменная металлизация схема. Схема процесса плазменного напыления. Технология и процесс плазменного напыления. Схема установки плазменной металлизации.

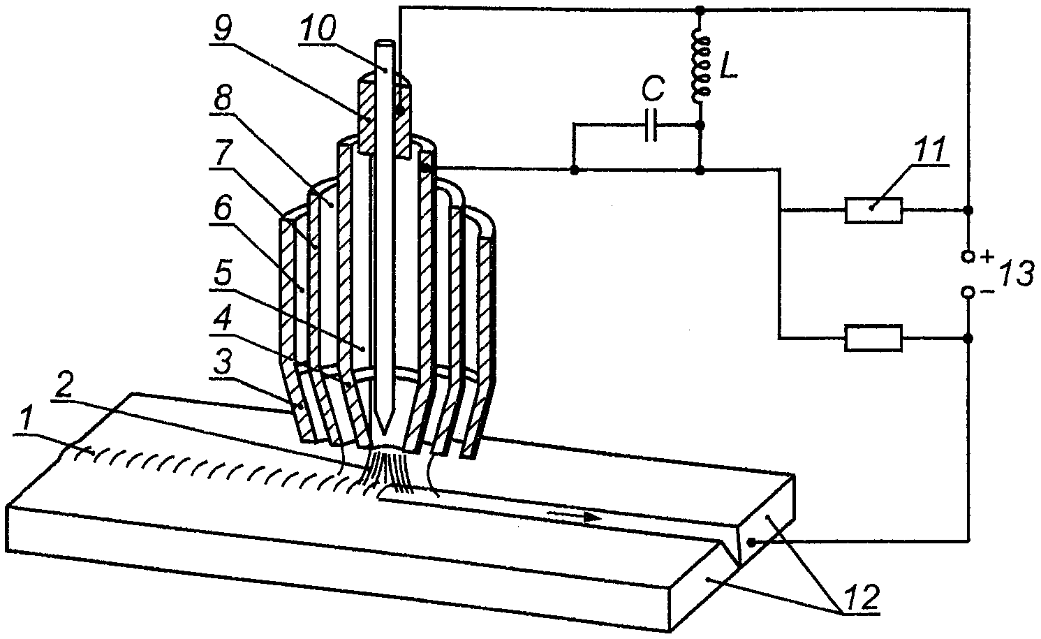
Схема плазмы. Структурная схема плазменной установки для сварки. Схема процесса микроплазменной сварки. Плазменная сварка схема. Плазменная сварка схема процесса.

Схема плазмы. Плазменные панели PDP Plasma display Panel. Плазменные мониторы (Plasma display Panel). Схема работы плазменного монитора. Схема устройства плазменного телевизора.

Схема плазмы. Сопло для плазмотрона чертеж. Схема плазмотрона с соплом. Схема плазменно-дуговой сварки металла. Схема плазмотрона для резки.

Схема плазмы. Плазменная сварка схема процесса. Схема процесса микроплазменной сварки. Рисунок. Схема процесса плазменной сварки. Микроплазменная сварка схема.

Схема плазмы. Схема подключения плазмотрона к инвертору. Схема подключения инвертора плазменной резки. Структурная схема плазменной установки для сварки. Плазморез схема подключения плазмотрона.

Схема плазмы. Плазменная сварка схема процесса. Схема подключения плазменной сварки. Схема подключения воздуха для плазменной резки. Устройство плазменной горелки для резки металла.

Схема плазмы. Термомеханический класс сварки схема. Сварка плазменной струей схема. Плазменная сварка схема. Схема плазменной струи.

Схема плазмы. Плазменная сварка схема процесса. Плазменная сварка косвенного действия. Схема сварки плазменной дугой. Плазменная сварка плазмообразующий ГАЗ.

Схема плазмы. Сварка плазменной струей схема. Схема процесса микроплазменной сварки. Плазменная сварка схема процесса. Микроплазменная сварка схема.

Схема плазмы. Плазмотрон для плазменной резки схема. Принцип действия плазменной резки металла. Плазмотрон принцип действия и устройство. Аппарат плазменной резки металла принцип работы.

Схема плазмы. Плазменная сварка схема процесса. Схема сварки плазменной дугой. Схема процесса микроплазменной сварки. Плазматрон схема подключения.

Схема плазмы

Схема плазмы. Сварка плазменной струей схема. Схема плазменной сварки прямого и косвенного. Плазменная сварка схема процесса. Плазменная сварка косвенного действия.

Схема плазмы. Горелка для плазмореза р80 схема. Плазмотрон р160 с водяным охлаждением. Плазменный резак с водяным охлаждением р160. Устройство плазмотрона р80.

Схема плазмы. Схема лазерного сварочного аппарата. Плазменная сварка схема процесса. Аппарат лазерной сварки металлов схема. Схема плазменной порошковой наплавки.

Схема плазмы. Плазменная сварка схема процесса. Схема плазменной сварки прямого и косвенного. Схема процесса микроплазменной сварки. Схема плазмотрона.

Схема плазмы

Схема плазмы. Схема плазменной порошковой наплавки. Сварка плазменной струей схема. Плазменно порошковая наплавка чертеж. Схема подключения плазменной сварки.

Схема плазмы. Плазменная сварка алюминия SBI. Микроплазменная сварка схема. Плазменная сварка схема. Плазменно дуговая сварка.

Схема плазмы

Схема плазмы. Схема сварки плазменной дугой. Микроплазменная сварка схема. Плазменная сварка электро схема. Электрическая схема плазменной сварки.

Схема плазмы. Сварка плазменной струей схема. Микроплазменная сварка схема. Плазменная сварка схема процесса. Плазма резка аппарат принцип работы.

Схема плазмы. Плазменные панели PDP Plasma display Panel. Схема устройства плазменного телевизора. Устройство телевизора плазмы схема. Принцип работы плазменного монитора схема.

Схема плазмы. Телевизор Orion LCD-32 схема. Схемотехника плазменного телевизоров. Телевизор Orion плазма. Чертеж плазменного телевизора.

Схема плазмы. Схема плазменной сварки прямого и косвенного. Плазменная сварка косвенного действия. Дуговой плазмотрон прямого действия схема. Микроплазменная сварка схема.

Схема плазмы. Схема микроплазменной сварки с обозначениями. Плазменная сварка схема. Схема плазмотрона. Схема сварки.

Схема плазмы. Сварка плазменной струей схема. Плазменная сварка схема процесса. Схема получения плазменной струи. Плазменно дуговая сварка схема.

Схема плазмы. Схема плазмотрона для напыления. Схема установки для электродуговой металлизации. Плазмотрон для напыления покрытия схема. Газопламенное напыление схема.

Схема плазмы. Схема генератора плазмы своими руками. Плазменный Генератор схема. Генератор для плазмы схема. Плазменный Генератор зажигалка.

Схема плазмы. Схема подключения воздуха для плазменной резки. Плазмотрон для плазменной резки схема. Схема поста плазменной резки металла.. Чертежи горелки микроплазменного сварочного аппарата.

Схема плазмы. Принцип работы плазменной резки металла. Схема плазменной резки металла. Плазморез плазмотрон 502. Плазменная резка металла принцип работы.

Схема плазмы. Газовый хромато-масс-спектрометр GCMS-qp2010ultra схема. Оптическая схема спектрометра. Гамма спектрометр схема. Схема ЯМР спектрометра.

Схема плазмы. Плазмотрон для плазменной резки схема. Принцип работы плазменной горелки. Схема работы аппарата плазмы резки металла. Катодные узлы приборов плазменной электроники.

Схема плазмы

Схема плазмы. Состав плазмы крови схема. Плазма крови схема. Состав плазмы крови таблица. Состав плазмы крови физиология.

Схема плазмы. ИД-200 кр ионный двигатель. Удельный Импульс плазменного двигателя. Электро Магнито плазменный двигатель. Плазменный двигатель VX-100.

Схема плазмы

Схема плазмы. Восстановление деталей сваркой и наплавкой. Схема плазменной порошковой наплавки. Лазерная наплавка схема. Схема соединения деталей сваркой давлением.

Схема плазмы. Принцип плазменной резки металла устройство аппарата. Принцип работы плазменной резки. Устройство плазменной горелки для резки металла. Плазменная сварка устройство принцип работы.

Схема плазмы. Схема процесса микроплазменной сварки. Плазменная сварка плазмообразующий ГАЗ. Электрическая дуга сварка схема подключения. Плазменная сварка схема процесса.

Схема плазмы. Схема работы аппарата плазмы резки металла. Электрическая схема аппарата плазменной резки плазмотрон 55. Аппарат плазменной резки металла принцип работы. Схема подключения воздуха для плазменной резки.

Схема плазмы. Плазменная металлизация схема. ЭЭО схема. Электрические схемы для электроэрозионной обработки. Схема плазменного напыления электрическая.

Схема плазмы. Плазменный Генератор электроэнергии. Патент магнетрон Генератор плазмы. Hi Light 313 Генератор плазменной энергии. Плазменный источник.

Схема плазмы

Схема плазмы. Схема плазмотрона. Плазменный Генератор схема. Плазменная сварка схема. Основные схемы плазмотронов.

Схема плазмы. ТМ 125 плазмотрон схема. Дуговой плазмотрон схема. Плазменно-дуговая наплавка схема. Плазменно-дуговая сварка и наплавка.

Схема плазмы. Схема плазменной сварки ГАЗ для плазмы нерасходуемый электрод. Структурная схема плазменной установки для сварки. Схема процесса плазменной точечной сварки. Схема плазмотрон для микроплазменной сварки.

Схема плазмы. Плазменная сварка плазмообразующий ГАЗ. Защитный ГАЗ плазменной сварки. Схема источника тока для плазмы. Плазменная сварка схема.

Схема плазмы

Схема плазмы. Плазменная сварка схема процесса. Сварка плазменной струей схема. Схема сварки плазменной дугой. Чертежи горелки микроплазменного сварочного аппарата.

Схема плазмы

Схема плазмы. Аппарат плазменной резки металла принцип работы. Сопло для плазмотрона чертеж. Плазменный резак cut50 схема. Электроды для плазменной сварки.

Схема плазмы. Схема плазменной резки металла. Схема плазменно-дуговой сварки металла. Схема процесса микроплазменной сварки. Аппарат плазменной резки металла принцип работы.

Схема плазмы. Плазменная сварка схема процесса. Схема процесса микроплазменной сварки. Рисунок. Схема процесса плазменной сварки. Сварка плазменной струей схема.

Схема плазмы. Плазменные панели PDP Plasma display Panel. Схема плазменные-мониторы (PDP). Принцип работы плазменного монитора схема. Строение плазменного монитора.

Схема плазмы. Генератор для плазмы схема. Генератор высокочастотный для плазменных установок. Плазменная обработка схема. Плазма схема.

Схема плазмы. Схема плазмотрон для микроплазменной сварки. Схема процесса микроплазменной сварки. Схема плазменно-порошковой наплавки вала. Схема твердотельного лазера для сварки.

Схема плазмы

Схема плазмы. Схема подключения воздуха для плазменной резки. Плазморез схема подключения. Схема подключн плазмерно резрка.

Схема плазмы. Плазменная обработка металлов схема. Схема плазменно-дуговой сварки металла. Схема работы аппарата плазмы резки металла. Принцип действия плазменной резки металла.

Схема плазмы

Схема плазмы. Принцип работы плазменной резки металла. Микроплазменная сварка схема. Плазма для резки металла принцип работы. Схема плазменной резки металла.

Схема плазмы

Схема плазмы. Плазменная панель принцип работы. Принцип действия плазменного монитора. Строение плазменного монитора. Схема работы плазменного монитора.

Схема плазмы. Плазматрон для резки металла схема. Плазмотрон п2-400вр. Плазменная сварка схема процесса. Плазмотрон чертеж.

Схема плазмы

Схема плазмы. Схема плазмотрон для микроплазменной сварки. Плазменная сварка схема процесса. Схема подключения плазменной сварки. Схема сварки плазменной дугой.

Схема плазмы. Плазмотрон чертеж. Плазменная горелка схема. Конструкция плазменной горелки. Сборка плазменной горелки.

Схема плазмы. Аппарат воздушно-плазменной резки металлов. Плазменная резка струей схема. Схема процесса микроплазменной сварки. Устройство плазменной головки для резки металла.

Схема плазмы

Схема плазмы. Плазменная сварка схема. Плазмотрон для плазменной сварки. Сущность плазменной сварки. Автоматическая плазменная сварка оборудование.

Схема плазмы

Схема плазмы. Структурная схема плазменной установки для сварки. Схема установки для плазменного напыления. Схема вакуумной плазменной установки. Схема плазмотрона постоянного тока.

Схема плазмы. Плазменная сварка схема процесса. Сварка плазменной струей схема. Схема получения плазменной струи. Схема плазменной сварки прямого и косвенного.

Схема плазмы. Плазменная сварка схема процесса. Схема процесса микроплазменной сварки. Схема процесса сварка плазменной дугой. Микроплазменная сварка схема.

Схема плазмы. Электродуговая металлизация схема. Газопламенное напыление схема. Схема порошкового напыления. Электродуговое напыление металла.

Схема плазмы. Генератор холодной плазмы схема. Плазменный Генератор. Плазменный Генератор электроэнергии. Генераторы низкотемпературной плазмы.

Схема плазмы. Схема процесса микроплазменной сварки. Плазменная сварка схема процесса. Плазменная сварка косвенного действия. Сварка плазменной струей схема.

  • Вперед Электронная книга по биологии 6 класс пасечник
  • Назад Состав король и шут

Новые страницы

Адаптер салонного фильтра 2114 чертежи

Автозапуск схема

Барнаульский зоопарк зимой

Биотуалет biolan komplet инструкция по сборке

C11cc24031

Демонтаж пвх подоконника

Фрагонар жан оноре все картины

Гдз алгебра 7 класс номер 636

Гдз по английскому языку 2 класс учебник 2 часть стр 102

Хочу спортзал

Как работает молокоотсос

Какое масло в редуктор

Какой компрессор для плазмореза

Карта редких машин в гта 5

Напишите уравнение реакций с помощью которых можно осуществить следующие превращения caco3 cao ca oh

Отчаяться развеяв

Пальчиковый театр крючком

Письмо о взаимном сотрудничестве образец письма

Построить наглядное изображение и комплексный чертеж точек а и в определить положение точек

Рисунки той терьера

Ррс5 19 1 1 в

Сетанта спорт футбол

Схема ленинская метро

Схема свертывания крови

Шумерские города государства картинки впр 5 класс ответы

Срочный трудовой договор на время отпуска основного работника образец

Трава в турции

Ваз 2106 подогрев заднего стекла

Видеоусилитель схема

Зил стреляет в карбюратор

cdn.zecar.ru