Skip to content

Фотогалерея

  • Главная
  • Контакты

Схема мб 2

Схема мб 2. Схема контактного зажигания бензопилы Урал. Схема электронного зажигания МБ 1 пилы Дружба. Зажигание МБ-1 схема. Магнето МБ-1 схема.

Схема мб 2. Схема электронного зажигания МБ-1 для мотокультиватора Крот. Схема зажигания бензопилы Урал 2 электрон. Зажигание МБ-1 схема. Принципиальная схема электронного зажигания мотоблока Крот МБ 1.

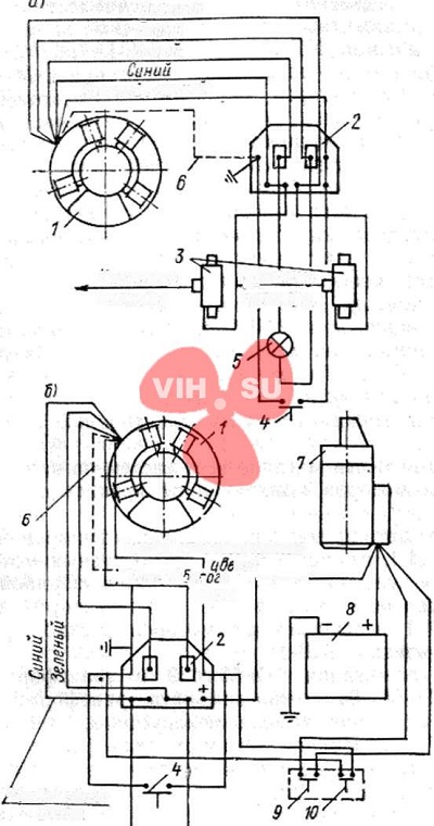
Схема мб 2. Вихрь 30 электронное зажигание МБ 2 схема. Схема зажигания МБ 22 для мотора Вихрь 30. МБ-2 зажигание Вихрь схема. Схема электронного зажигания Вихрь 30.

Схема мб 2. Электронное зажигание МБ-1. Зажигание МБ-1 схема. Магнето МБ-2 схема. Схема зажигания бензопилы Урал 2 электрон.

Схема мб 2. Электросхема магнето МБ-2 Вихрь-30. Магнето МБ-2 схема. Электронное зажигание Вихрь 30 МБ 2. Вихрь 30 электронное зажигание МБ 2 схема.

Схема мб 2. Схема контактного зажигания бензопилы Урал. Схема магнето мотоблока. Магнето МБ-1 схема. Схема электронного зажигания бензопилы Урал 2 электрон.

Схема мб 2. Стабилизатор напряжения на симисторе схема. Симистор генераторы схема. Эквивалентная схема симистора. Управление симистором 12 вольт.

Схема мб 2. Схема двигателя мотоблок Нева МБ 2. Мотоблок Луч МБ 1 схема.

Схема мб 2. Схема магдино эм-2. Бесконтактное магнето МБ-1к схема. ЭСЗ для МБ 23 схема. Схема электронного зажигания эм-1.

Схема мб 2. Схема двигателя мотоблок Нева МБ 2. Нева МБ-2 схема зажигания.

Схема мб 2. Схема электронного зажигания МБ 22. МБ-22 зажигание схема. Схема зажигания МБ 23у. Электронный блок зажигания МБ-23у схема.

Схема мб 2. Схема подключения электронное зажигание МБ 2. Схема бесконтактного зажигания лодочного мотора Вихрь 30. Схема стартера Вихрь 25. МБ-2 схема зажигания.

Схема мб 2. Схема электронного зажигания МБ-1 для мотокультиватора Крот. Схема электронного зажигания культиватора Крот. Мотоблок МБ 1 зажигание схема. Схема зажигания мотоблока Крот.

Схема мб 2. Схема электронного зажигания бензопилы Дружба. Электронное зажигание для мопеда схемы. Схема электронного зажигания культиватора Крот. Схемы электронного зажигания бензопилы Дружба-4.

Схема мб 2. Схема электронного блока МБ 103. Магнето МБ-1 схема и ремонт своими руками. Сколько витков катушки магнето на мотоблоке Агро. Магнето - доработка под электронное управление двигателем.

Схема мб 2. Коммутатор зажигания Восход 3м схема. Схема коммутатора Кэт-1а электрическая. Коммутатор Кэт 1а схема подключения Восход. Коммутатор Кэт 1а схема подключения.

Схема мб 2

Схема мб 2

Схема мб 2. Принципиальная схема электронного зажигания мотоблока Крот МБ 1. Электронное зажигание МБ-1 схема. Схема катушки зажигания мотоблока МБ-1. Электрическая схема зажигания мб1 мотоблока Крот.

Схема мб 2. Схема зажигания МБ 23у. Схема электронного зажигания мб2. Схема коммутатора МБ 2. Принципиальная схема зажигания МБ-2.

Схема мб 2. Схема электронного зажигания на Лодочный мотор Москва 10. Схема электронного зажигания на Лодочный мотор ветерок 8. Схема зажигания лодочного мотора ветерок 8. Электронное зажигание на Лодочный мотор схема.

Схема мб 2. Мотоблок Нева МБ 2 схема включения передач. Схема двигателя мотоблок Нева МБ 2. Мотоблок Нева МБ-2 схема переключения передач. Мотоблок Нева МБ 2 чертеж.

Схема мб 2. Схема электронного зажигания Вихрь 30. Вихрь 30 электронное зажигание МБ 2 схема. Магнето МБ-2 схема. Магнето схема электрическая.

Схема мб 2

Схема мб 2. Модернизация зажигания мб1 мотоблока Крот. Модернизация системы зажигания (МБ-1) мотокультиватора "Крот". Зажигание МБ-1 схема. Ремонт зажигания МБ-1 своими руками.

Схема мб 2. Схема двигателя мотоблок Нева МБ 2. Органы управления мотоблока Нева МБ-2. Мотоблок Нева МБ-2 органы управления. Переключение скоростей на мотоблоке Нева МБ-2 схема.

Схема мб 2. Схема двигателя мотоблока МБ 1. Коробка мотоблока Нева МБ-2 схема. Центробежный регулятор оборотов мотоблока мб1.

Схема мб 2. ЭСЗ для МБ 23 схема. Схема электронного зажигания мб2. Электронное зажигание на Лодочный мотор схема. Схема электронного зажигания на Нептун 23.

Схема мб 2. Мотоблок Нева рычаги управления двигателем. Схема центробежного регулятора мотоблока Нева МБ-2. Привод газа мотоблока мб1. Мотоблок Нева МБ-2 К схема тросика газа.

Схема мб 2. Ходоуменьшитель для мотоблока Нева мб1. Мотоблок агат редуктор чертежи.

Схема мб 2. Контактное зажигание МБ - 1 М зарядные катушки. Схема электронного опережения зажигания. Электронное зажигание для мопеда схемы. Зажигание эм-1 для мотоблока МБ-1 схема 01.

Схема мб 2. Тиристорные системы зажигания схемы. Схема электронного зажигания мотоблока к1м. Самодельная схема электронного зажигания. Принципиальная схема электронного зажигания.

Схема мб 2. Электронное зажигание CDI на д6 схема. Принципиальная схема электронного зажигания мотоблока Крот МБ 1. Схема электронного зажигания эм-1. Электронное зажигание для мопеда схемы.

Схема мб 2. Схема контактного зажигания бензопилы Урал. Электрическая принципиальная схема магнето бензопилы. Модуль зажигания бензопилы схема. Схема зажигания китайской бензопилы.

Схема мб 2. Схема электронного зажигания на Нептун 23. Схема электронного зажигания Вихрь 30. Электронное зажигание на Лодочный мотор схема. Катушка зажигания МБ 23.

Схема мб 2

Схема мб 2. Схема зажигания пилы Урал 2 электрон. Зажигание бензопилы Урал 2т электрон схема. Зажигание бензопила Урал МБ-1 схема. Схема зажигания бензопилы Урал 2 электрон.

Схема мб 2. Схема зажигания пилы Урал 2 электрон. Схема зажигания бензопилы Урал 2 электрон. Зажигание бензопила Урал МБ-1 схема. Схема зажигания бензопилы Дружба электрон.

Схема мб 2. Схема электронного зажигания бензопилы Дружба 4 электрон. Схема контактного зажигания бензопилы Урал. Схема зажигание бензопилы Дружба мб1. Схема электронного зажигания пилы Дружба 4.

Схема мб 2. Электронное зажигание Вихрь 30 МБ 2. Схема электронного зажигания мб2. Катушка зажигания мб23у переделка. Электросхема коммутатора зажигания МБ-2.

Схема мб 2

Схема мб 2. Схема катушки зажигания мотоблока МБ-1. Схема электронного зажигания культиватора Нева МБ-1. Схема зажигания мотоблока Нева. Схема зажигания мотоблока Нева МБ-2.

Схема мб 2

Схема мб 2. Схема электронного зажигания ветерок 8. Схема зажигания ветерок 8м. Схема электронного зажигания ветерок 12. Защитный диод тиристора МБЭ 1.

Схема мб 2. Принципиальная схема электронного зажигания мотоблока Крот МБ 1. Электронное зажигание МБ-1 схема.

Схема мб 2. Мб22 магнето схема. Схема зажигания МБ 23у. Схема электронного зажигания МБ-1 для мотокультиватора Крот. Электронное зажигание МБ-1 схема.

Схема мб 2

Схема мб 2. Схема электронного зажигания МБ 22. Мб22 магнето схема. Схема электронного. Магнето МБ-22. МБ-22 зажигание схема.

Схема мб 2. Сборочный чертеж редуктора мб1. Схема редуктора мотоблока Нева МБ-1.

Схема мб 2. Схема коммутатора мотоблока Агро. Схема зажигания МБ 23у. Схема электронного зажигания мотоблока к1м.

Схема мб 2. Схема электронной магнето мб130. Бесконтактное магнето МБ-1к схема. Магнето 13.3728 схема электрическая. Схема электронного магнето эм 6.

Схема мб 2. Вихрь 30 электронное зажигание МБ 2 схема. Зажигание МБ 22 на Вихрь схема. Схема зажигания МБ 22 для мотора Вихрь. Схема электронного зажигания мб2.

Схема мб 2

Схема мб 2. Лодочный мотор Вихрь 30 схема зажигания зажигание. Лодочный мотор Вихрь электронное зажигание. Зажигания лодочного мотора Вихрь-30 электрон. Схема зажигания МБ 2 для мотора Вихрь.

Схема мб 2

Схема мб 2. Привод газа мотоблока Нева МБ-2. Схема двигателя мотоблок Нева МБ 2. Мотоблок Нева МБ-1 схема. Плата газа мотоблока Нева МБ-2.

Схема мб 2

Схема мб 2. Инструкция в мотоблок Луч мб2. Инструкция мотоблока Луч МБ-1 инструкция. Мотоблок Луч МБ-1 схема газовой ручки. Мотоблок Нева МБ-2 схема переключения передач.

Схема мб 2

Схема мб 2

Схема мб 2. Схема редуктора мотоблока Нева МБ-2. Редуктор мотоблока Нева МБ-2 чертеж. Мотоблок Нева МБ-2 редуктор схема. Мотоблок Нева МБ 2 редуктор конструкция.

Схема мб 2. Тиристор зажигания мотоблока Крот. Магнето Крот тиристор ку202. Схема зажигания МБ 23у. Схема катушки зажигания мотоблока МБ-1.

Схема мб 2. Электронное зажигание бензопилы Урал 2 электрон. Зажигание бензопилы Урал 2 электрон. Схема зажигания пилы Урал 2 электрон. Зажигание бензопила Урал МБ-1 схема.

Схема мб 2. Схема электронного зажигания мб2. МБ-2 зажигание Вихрь схема. Магнето МБ-2 схема. Принципиальная схема магнето эм-1н.

Схема мб 2. Схема коммутатора лодочного мотора Ямаха 3. Схема коммутатора зажигания лодочного мотора ветерок 8. Коммутатор лодочного мотора схема. Схема 3 электронного зажигания Нептун.

Схема мб 2. Двигатель Нева дм 1устройство. Схема двигателя мотоблока МБ 1. Карбюратор на мотоблок дм 1м1.

Схема мб 2. Электронное зажигание на Лодочный мотор схема. Схема электронного зажигания на Нептун 23. Схема электронного зажигания Вихрь 30. Схема катушки бесконтактного зажигания лодочного мотора.

Схема мб 2. Схема подключения электронное зажигание МБ 2. Вихрь 30 электронное зажигание МБ 2 схема. Принципиальная схема зажигания МБ 1.

Схема мб 2. Схема электронного зажигания бензопилы Дружба 4 электрон. Электронное зажигание МБ-1 схема. Зажигание бензопила Урал МБ-1 схема.

Схема мб 2. Схема двигателя мотоблока Нева МБ-2. Схема электропроводки двигателя мотоблока. Двигатель мотоблока Нева МБ-2 схема зажигания. Электрическая схема мотоблока Нева МБ-2.

Схема мб 2. Мотоблок Нева МБ-1 схема ременной передачи. Схема ременной передачи мотоблока МБ-2. Мотоблок МБ 1 схема ременной передачи. Мотоблок Каскад МБ-1 схема ременной передачи.

Схема мб 2. Схема коммутатора МБ 103. Электронное зажигание на Лодочный мотор схема. Схема коммутатора зажигания лодочного мотора. Схема электронного зажигания МБ 22м.

Схема мб 2. Зажигание бензопила Урал МБ-1 схема. Схема зажигания бензопилы Урал 2 электрон. Схема зажигания бензопилы Урал электрон. Схема зажигания пилы Урал 2 электрон.

Схема мб 2. Схема электрооборудования мотора Вихрь 30. Схема зажигания МБ-2 Вихрь 30. Схема подключения зажигание электронное Вихрь 30. Схема электронного зажигания мб2.

Схема мб 2. Электронное зажигание для мопеда схемы. Электронное зажигание бензопилы принципиальные схемы. Магнето МБ-2 схема. Электронное зажигание схема 3.

  • Вперед Put the adjectives in the correct position
  • Назад Рено сандеро как снять глушитель

Новые страницы

3 Класс математика учебник страница 85

Бердск доставка еды

Ценники на пиво образец

Читать про котенка шмяка онлайн бесплатно с картинками сказки

Достижения ссср в спорте

Этапы многолетней спортивной подготовки

Функциональное заземление это

Гдз по а английскому языку 6 класс spotlight рабочая тетрадь

Gdz spotlight 11 класс

Gerrida свк 15г магнит

График работы по сменам образец

Gran turismo sport купить

Информация схема понятия

Как нарисовать синего из радужных друзей

Машинная штукатурка спб вакансии

Математика учебник 3 класс стр 59

Обозначение подшипников zz

Обозначения элементов цепи на электрической схеме

Радиотелескопы особенности конструкции

Расписка о проживании в квартире от собственника образец

Рисунки для термомозаики

Рисунок скетч лето

Шалимар духи

Схема мб 2

Схема подключения котла отопления в частном

Схема предохранителей скания 4

Спортпит спб

Услуги автовышки spectehmanipulyator

Услуги связанные с продажей товаров

Заборы в раменском

cdn.zecar.ru