Skip to content

Фотогалерея

  • Главная
  • Контакты

Схема макаронных изделий

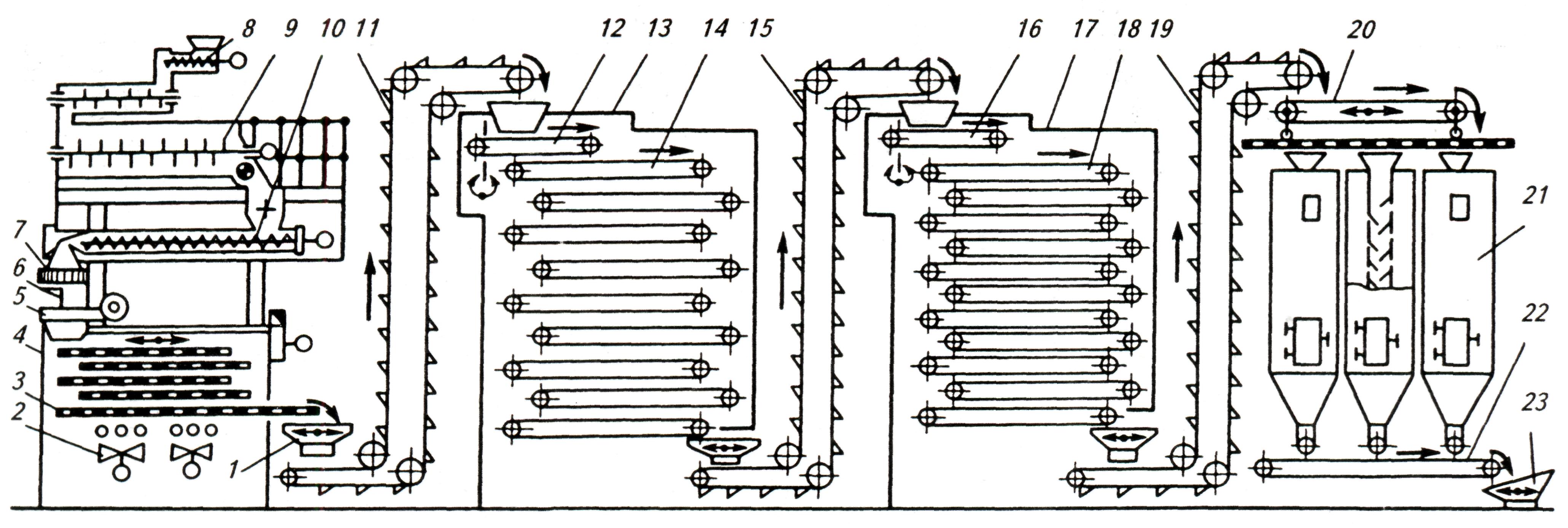
Схема макаронных изделий. Аппаратурно технологическая схема производства макаронных изделий. Аппаратно-технологическая схема производства макаронных изделий. Технологическая линия производства макаронных изделий. Технологическая схема производства длинных макаронных изделий.

Схема макаронных изделий. Машинно-аппаратурная схема линии производства макаронных изделий. Технологические схемы производства коротких макаронных изделий. Схема линии фирмы Брайбанти с конвейерными сушилками. Машинно аппаратурная схема производства макаронных изделий.

Схема макаронных изделий

Схема макаронных изделий. Технология хлеба кондитерских и макаронных изделий. Сырье для производства макаронных изделий. Основные сырье для производства макаронных изделий. Технология производства макаронных изделий.

Схема макаронных изделий. Классификация макаронных изделий. Ассортимент макаронных изделий. Длинные макаронные изделия названия. Технология производства макаронных изделий.

Схема макаронных изделий. Подготовка макаронных изделий. Макаронные изделия процесс. Процесс приготовления макаронных изделий. Технология варки макарон.

Схема макаронных изделий. Технологическая схема производства макарон. Технологическая схема приготовления макаронных изделий. Технологическая схема производства макаронных изделий спагетти. Технологическая схема трубчатых макаронных изделий.

Схема макаронных изделий. Подтипы трубчатых макаронных изделий. Виды макаронных изделий трубчатые лентообразные и фигурные. Макароны трубчатые нитевидные. Классификация макаронных изделий схема.

Схема макаронных изделий. Линия для производства макаронных изделий h105lyhid. Технологическая линия производства макаронных изделий Паван 1200. Схема производства макарон. Схемы технологического оборудования макаронных изделий.

Схема макаронных изделий. Функциональная схема производства макаронных изделий. Линия производства макарон схема. Автоматизированная поточная линия схема. Автоматизированная поточная линия б6-ЛКС.

Схема макаронных изделий. Линия производства короткорезанных макаронных изделий. Схема производства короткорезанных макарон. Технологическая линия производства макаронных изделий Паван 1200. Технологическая схема производства макаронных изделий.

Схема макаронных изделий

Схема макаронных изделий. Машинно-аппаратурная схема линии производства макаронных изделий. Технологическая схема производства макарон. Технологическая схема производства длинных макаронных изделий. Аппаратно-технологическая схема производства макаронных изделий.

Схема макаронных изделий. Автоматизированные линии производства длинных макаронных изделий. Автоматизированная поточная линия б6-ЛКС. Схема б6 ЛМГ. Схема автоматизации конвейерной линии для сушки.

Схема макаронных изделий. Технологическая схема производства макаронных изделий. Схема технологического процесса производства макаронных изделий. Процесс производства макаронных изделий схема. Технологическая схема блюда «макароны отварные с овощами».

Схема макаронных изделий. Технология производства макаронных изделий схема. Схема технологического процесса производства макаронных изделий. Блок-схемы процесс производства макаронных изделий. Технологическая схема макаронных изделий.

Схема макаронных изделий. Макаронные изделия. Макаронные изделия презентация. Факты о макаронах. Ассортимент макаронных изделий.

Схема макаронных изделий. Классификация макаронных изделий. Трубчатые макаронные изделия виды. Трубчатые макаронные изделия ассортимент. Разновидность трубчатых макаронных изделий.

Схема макаронных изделий. Шнековый макаронный пресс ЛПЛ-2м. Технологическая схема производства макаронных изделий. Технологическая схема трубчатых макаронных изделий. Схема технологического процесса производства макаронных изделий.

Схема макаронных изделий. Машинно-аппаратурная схема линии производства макаронных изделий. Технологическая линия производства макаронных изделий. Технологическая схема производства длинных макаронных изделий. Технологический процесс производства коротких макаронных изделий.

Схема макаронных изделий. Аппаратурно-технологическая схема производства макарон. Машинно аппаратурная схема производства пельменей. Машинно аппаратурная схема производства макаронных изделий. Технологическая схема производства длинных макаронных изделий.

Схема макаронных изделий. Автоматизированная поточная линия б6-ЛКС. Технологическая схема производства макарон. Линия производства макаронных изделий ЛПШ 500. Машинно-аппаратурная схема линии производства макаронных изделий.

Схема макаронных изделий. Технологическая схема приготовления макаронных изделий. Технологическая карта приготовления пасты. Технологическая схема блюда макароны с сыром. Технологическая схема приготовления макаронных изделий отварных.

Схема макаронных изделий. Аппаратурно-технологическая схема производства макарон. Машинно аппаратурная схема производства макаронных изделий. Аппаратурно технологическая схема производства макаронных изделий. Машинно-аппаратурная схема линии производства макаронных изделий.

Схема макаронных изделий. Технологическая линия производства макаронных изделий. Аппаратурно технологическая схема производства макаронных изделий. Структурная схема производства макаронных изделий. Линия производства макаронных изделий быстрого приготовления.

Схема макаронных изделий. Классификация макаронных изделий схема. Классификация макаронных прессов. Схема классификации макаронных изделий на типы и виды. Шнековые макаронные прессы классификация.

Схема макаронных изделий. Шнековый макаронный пресс ЛПЛ-2м. Технологическая схема шнекового макаронного пресса. Шнековый макаронный пресс б6-ЛПШ-500. Технологическая схема шнекового макаронного пресса ЛПЛ-2м.

Схема макаронных изделий. Аппаратно-технологическая схема производства макаронных изделий. Технологическая схема производства длинных макаронных изделий. Аппаратурно-технологическая схема производства макарон. Технологическая схема трубчатых макаронных изделий.

Схема макаронных изделий. Классификация макаронных изделий таблица. Типы макаронных изделий таблица трубчатые. Классификация макарон схема. Классификация макаронных изделий схема.

Схема макаронных изделий. Технологическая схема производства макаронных изделий. Технологическая линия производства макаронных изделий. Машинно аппаратурная схема производства макаронных изделий. Схема производства макарон с сушкой в лотковых кассетах.

Схема макаронных изделий

Схема макаронных изделий. Классификация макарон схема. Классификация макаронных изделий схема. Способы формования макаронных изделий. Характеристика макаронных изделий.

Схема макаронных изделий. Линия для производства длинных изделий с сушкой на бастунах. Автоматизированные линии производства длинных макаронных изделий. Схема линии б6-ЛМГ. Автоматизированная сушилка для длинных макаронных изделий схема.

Схема макаронных изделий. Технологическая схема блюда «макароны отварные с овощами». Классификация макаронных изделий схема. Технологическая схема производства макаронных изделий. Процесс производства макаронных изделий схема.

Схема макаронных изделий

Схема макаронных изделий. Машинно-аппаратурная схема линии производства макаронных изделий. Линия производства короткорезанных макаронных изделий. Линия для производства макаронных изделий Паван. Технологическая схема производства макаронных изделий.

Схема макаронных изделий. Ассортимент макаронных изделий. Формы макаронных изделий. Макаронные изделия ассортимент названия. Ассортимент макаронных изделий в магазине.

Схема макаронных изделий. Технологическая линия производства макаронных изделий. Технологическая линия производства макаронных изделий Паван 1200. Процесс производства макаронных изделий схема. Технологическая схема производства макаронных изделий.

Схема макаронных изделий. Технологическая схема трубчатых макаронных изделий. Технологическая схема производства макаронных изделий спагетти. Технологическая схема приготовления макаронных изделий. Технологическая схема производства длинных макаронных изделий.

Схема макаронных изделий. Технологическая схема производства макаронных изделий спагетти. Технологическая схема производства длинных макаронных изделий. Технологическая схема производства макаронных изделий с добавками. Аппаратурно технологическая схема производства макаронных изделий.

Схема макаронных изделий. Фасетная классификация макаронных изделий. Классификация и характеристика ассортимента макаронных изделий. Ассортимент макаронных изделий таблица классификация. Классификация макаронного изделия фасетным методом.

Схема макаронных изделий. Технология производства макаронных изделий схема. Технологическая схема макаронных изделий. Технологическая схема производства макарон. Схема технологического процесса производства макаронных изделий.

Схема макаронных изделий. Схема приготовления макарон. Технологическая схема приготовления макарон. Схема приготовления макарон с сыром. Технология приготовления макарон с сыром.

Схема макаронных изделий. Технологическая схема производства макаронных изделий. Технологическая линия производства макаронных изделий. Линия производства короткорезанных макаронных изделий. Машинно-аппаратурная схема линии производства макаронных изделий.

Схема макаронных изделий. Классификация и ассортимент макаронных изделий. Классификация макарон схема. Ассортимент макаронных изделий таблица. Макаронные изделия подразделяют на.

Схема макаронных изделий. Технологическая схема макаронного производства. Схема технологического процесса производства макаронных изделий. Блок схема производства макаронных изделий. Технологическая схема производства макаронных изделий спагетти.

Схема макаронных изделий. Технология макаронных изделий. Технология производства мака. Процесс производства макаронных изделий. Схема производства макарон.

Схема макаронных изделий. ГОСТ макаронные изделия. Маркировка макаронных изделий. ГОСТ 31743-2017 изделия макаронные. Название макаронных изделий по форме.

Схема макаронных изделий

Схема макаронных изделий

Схема макаронных изделий. Технологическая схема производства макаронных изделий. Технологическая схема производства длинных макаронных изделий. Машина аппаратная схема производства макаронных изделий. Технологическая схема производства сока подорожника.

Схема макаронных изделий. Трубчатые макаронные изделия ассортимент. Описание макаронных изделий. Ассортимент макаронных изделий и муки. Перечислите ассортимент макаронных изделий.

Схема макаронных изделий. Схема производства макаронных изделий. Управление производственной средой схема. Технологический процесс производства макаронных изделий. Схема процесса сборки макарон на производстве.

Схема макаронных изделий. Схема контроля готовой продукции хлебобулочных изделий. Схема контроля производства хлебобулочных. Технология хлеба кондитерских и макаронных изделий.

Схема макаронных изделий

Схема макаронных изделий. Формы макаронных изделий. Оценка качества макаронных изделий. Оценка качества макарон. Излом макаронных изделий.

Схема макаронных изделий. Технологическая схема макаронного производства. Технологическая СХЕМАПРОИЗВОДСТВО макарон. Блок схема производства макаронных изделий. Технологическая схема приготовления макаронных изделий.

Схема макаронных изделий. Машинно-аппаратурная схема линии производства макаронных изделий. Машинно аппаратурная схема производства макаронных изделий. Аппаратурно технологическая схема производства макаронных изделий. Технологическая схема производства длинных макаронных изделий.

Схема макаронных изделий. Технология производства макаронных изделий. Процесс производства макарон. Технологический процесс производства макаронных изделий. Схема производства макаронных изделий.

Схема макаронных изделий. Технологическая схема производства макаронных изделий. Линия производства макарон схема. Технологическая линия производства макаронных изделий. Технологическая схема производства длинных макаронных изделий.

Схема макаронных изделий. Машинно аппаратурная схема производства макаронных изделий. Машинно-аппаратурная схема линии производства макаронных изделий. Аппаратурно-технологическая схема производства макарон. Технологическая схема производства длинных макаронных изделий.

Схема макаронных изделий

Схема макаронных изделий. Технология макаронных изделий. Процесс производства макарон. Этапы производства макаронных изделий. Оборудование для производства макаронных изделий.

Схема макаронных изделий. Технологическая карта варки макаронных изделий. Технологический процесс приготовления блюд из макаронных изделий.. Технологическая карта отварных макарон. Технологическая карта приготовления макарон отварных.

Схема макаронных изделий. Технологическая схема производства длинных макаронных изделий. Линия производства короткорезанных макаронных изделий. Машинно аппаратурная схема производства макаронных изделий. Аппаратурно-технологическая схема производства макарон.

Схема макаронных изделий. Технология производства макаронных изделий. Этапы приготовления макаронных изделий. Процесс производства макарон. Технология производства мака.

Схема макаронных изделий. Машинно-аппаратурная схема линии производства макаронных изделий. Аппаратурно технологическая схема производства макаронных изделий. Аппаратурно технологическая линия производства макаронных изделий. Функциональная схема производства макаронных изделий.

Схема макаронных изделий. Технологическая схема макарон отварных с овощами. Технологическая схема производства макаронных изделий. Составление технологических схем макаронных. Технологическая схема макаронник с мясом.

Схема макаронных изделий. Схема технологического процесса производства макаронных изделий. Технологическая схема производства макаронных изделий с добавками. Технологическая схема производства лапши быстрого приготовления. Аппаратурно технологическая схема производства макаронных изделий.

Схема макаронных изделий. Машинно аппаратурная схема производства макаронных изделий. Машинно-аппаратурная схема линии производства макаронных изделий. Технологическая схема производства длинных макаронных изделий. Технологическая схема производства лапши.

Схема макаронных изделий. Оборудование для раскладки макаронных изделий. Макаронный пресс для производства макаронных изделий. Механизм резки макаронных изделий схема.

Схема макаронных изделий

Схема макаронных изделий. Технологическая схема приготовления макаронных изделий. Технологическая линия производства макаронных изделий. Линия производства макаронных изделий ЛПШ 500. Технологическая линия производства макаронных изделий Паван 1200.

Схема макаронных изделий. Технологическая схема приготовления макаронных изделий. Структурная схема производства макаронных изделий. Технологическая схема макаронного производства. Технология производства макаронных изделий схема.

Схема макаронных изделий. Ассортимент макаронных изделий. Виды макарон. Формы макаронных изделий. Фигурные макароны.

Схема макаронных изделий. Схема механизированной поточной линии. Схема механизированной линии производства вишневой пасты. Универсальная поточная механизированная линия судна. Комплексно механизированная линия схема.

Схема макаронных изделий. Технологическая схема макаронного производства. Технологическая схема производства макаронных изделий. Технологическая схема производства макаронных изделий спагетти. Технологическая линия производства макаронных изделий Паван 1200.

Схема макаронных изделий. Структурная схема производства макаронных изделий. Классификация макаронных изделий схема. Классификация и ассортимент макаронных изделий. Технологическая схема макаронных изделий.

Схема макаронных изделий. Оценка качества макарон. Качество макаронных изделий. Экспертиза макаронных изделий. Ассортимент макаронных изделий.

Схема макаронных изделий. Автоматизированная поточная линия б6-ЛКС. Технологическая схема производства длинных макаронных изделий. Агрегатно технологическая линия производства макаронных изделий. Технологическая линия производства макаронных изделий Паван 1200.

  • Вперед Колеса даром салават
  • Назад Музыка облачный атлас

Новые страницы

Административный иск по кас рф образец

Admired and considered important

Александр малинин альбомы слушать

Ангельские глазки своими руками

Договор аренды помещения с предоставлением юридического адреса образец

Гдз по биологии 5 класс учебник плешаков сонин

Гостиницы северобайкальска

Как пользоваться съемником пружин

Какие бывают виды маникюра

Каневская компьютер сити

Карта хмао со спутника

Lg cf 20f30

Листорасположение семейства розоцветных

Машинное масло плотность

Масло в раздатке соренто

Отмена судебного приказа и восстановление пропущенного срока образец

Ответы по тренировочным примеров 3 класс

Паралимпийские игры спортсмены

Париж в оккупации

Пристенный сифон для раковины

Работа дома за компьютером

Рассмотри схему модель

Схема кирпичных печей

Схема макаронных изделий

Сколько стоит переезд из квартиры в квартиру

Спортивный комплекс 5 в 1

Термопаста замена

Тренировочный вариант огэ 112

Уборка квартиры в москве

Замена глаз

cdn.zecar.ru