Skip to content

Фотогалерея

  • Главная
  • Контакты

Схема гетеродина на селекторе

Схема гетеродина на полевом транзисторе

Схема гетеродина для приема ssb

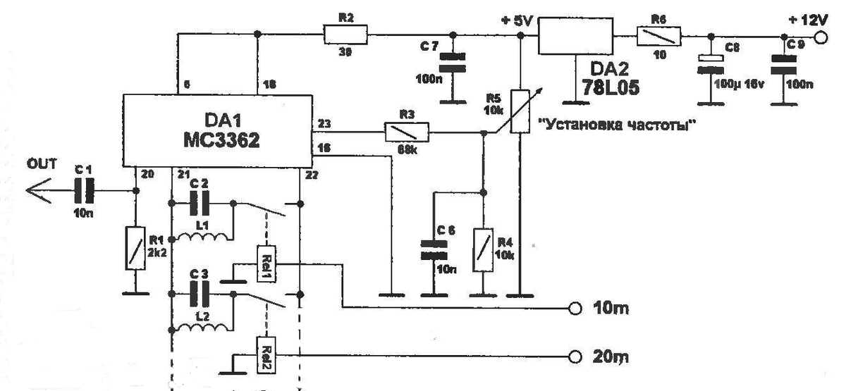
SSB передатчик для радиомаяка на 144 МГц, гетеродин: ra8ja — LiveJournal

Схема гетеродина для приема ssb

Схема гетеродина для приема ssb

По следам комментария. О генераторах на микросхемах. | Старый радио ...

Ремонт кнопки СТАРТ/СТОП на селекторе АКПП — Mercedes-Benz CLS (W219 ...

СВЧ гетеродины · ИПА РАН

Схема гетеродина для приема ssb

Приемник УКВ-Радиостанций и звука телевидения . Принципиальная схема ...

Схема гетеродина для приема ssb

Ёмкостная трехточка от Эрика Рэда. | Старый радио любитель | Дзен

Можно ли оставлять коробку автомат на нейтральной скорости? – Бензоблог

Детекторы CW/SSB для Ишима 003 - US5MSQ

Перестройка гетеродина блока УКВ-Е1 на ФМ диапазон. - YouTube

Генератор мгц схема

Микросборки для блоков преобразования частот · ИПА РАН

Практические схемы преобразователей частоты

Самодельный приёмник диапазона FM (87,5 - 108 МГц) с двойным ...

Микросборки для блоков преобразования частот · ИПА РАН

Russian Hamradio - Прием SSB сигналов на Си-Би трансивере.

Особенности построения РПУ

Генератор на 56 МГц для гетеродина с делением частоты. | Старый радио ...

Гетеродины - Основы радиоприема

1.3. Описание структурной и принципиальной электрических схем тюнера

Гетеродины - Схемотехника мобильных радиостанций

Ищу хорошую схему супер гетеродина на 1 транзисторе - Дайте схему ...

Схема гетеродина для приема ssb

Слайд № 7: Структурная схема возбудителя «Лазурь»

7. Расчет гетеродина

Схема приемника на селекторе каналов

Проект «Селенит». Часть 2: Квадратурный смеситель / Хабр

Генератор на 56 МГц для гетеродина с делением частоты. | Старый радио ...

Причины возникновения интермодуляции. Схема смесителя на полевом ...

Гетеродин схема

  • Вперед Щенки колли москва цены
  • Назад Контурная карта восточная сибирь и дальний восток

Новые страницы

Б у аккумуляторы

Чип тюнинг в сыктывкаре

Что символизирует голубая стрекоза

Электрическая схема погружного насоса с поплавком и конденсатором

Фитнес браслет топ

Гдз по математике третий класс вторая часть страница 29

Хоккейная сборная швеции

Как испортить портрет рамона в резидент

Карта профессионального роста педагога образец

Картинки на торт гена и чебурашка

Картинки спасибо за обед любимая

Кран для подключения фильтра

Кукутики участники проекта имена и фото

Лавочка в парке зимой

Математика пятый класс ответы гдз

Насос grundfos ups 25 80

Образец на возврат денежных средств за товар

Параллельно или последовательно динамики

Полуавтомат ресанта саипа 220 отзывы

Разъем компьютерный rj45

Ресторан в новгород

Схема трансивера радио 77

Спортсмен занимающийся дайвингом 100

Тальцы музей деревянного зодчества

Запах тосола в салоне шевроле нива

Заявление об увольнении по собственному желанию образец скачать

Заявление в суд на развод с детьми образец и алименты

Женя лесневский огэ

Журнал диспетчерских и оперативных заявок в электроустановках образец

Зимние виды спорта входящие в олимпийские игры

cdn.zecar.ru