Skip to content

Фотогалерея

  • Главная
  • Контакты

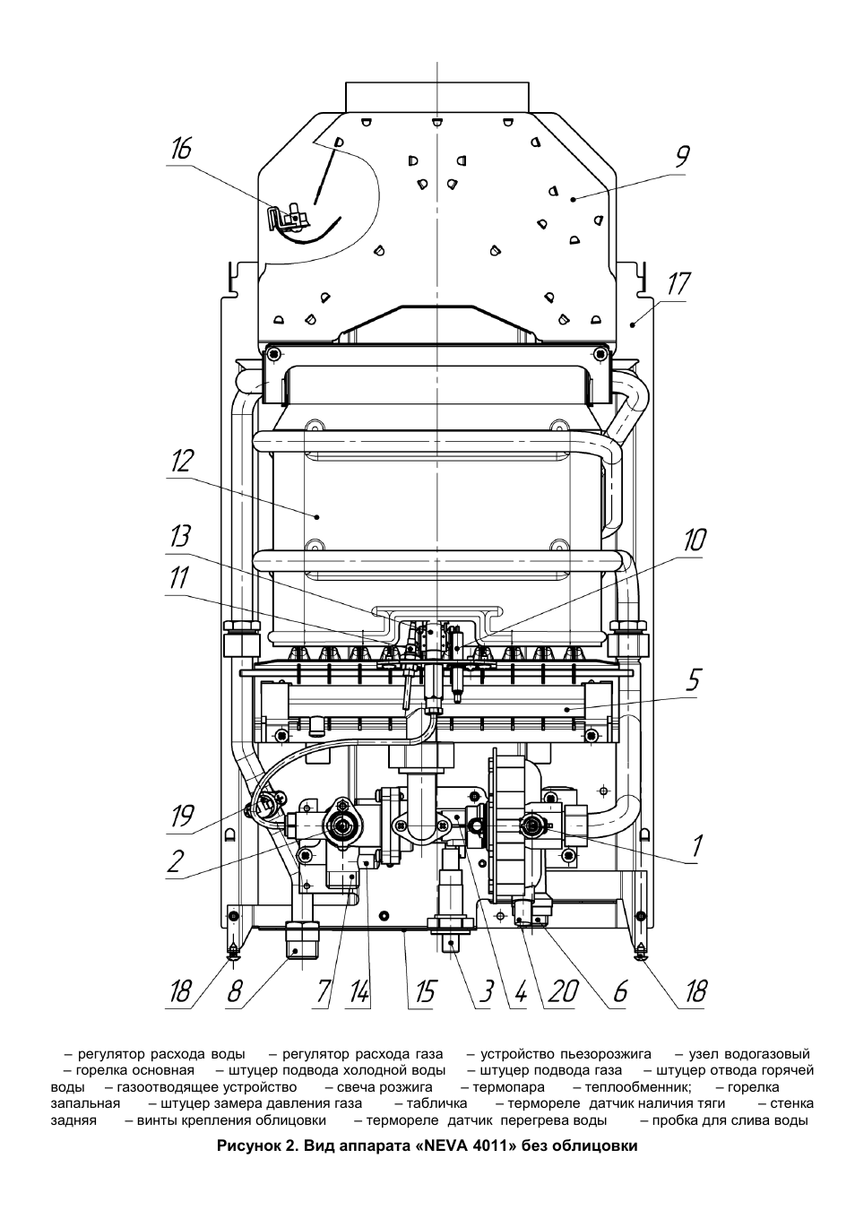
Схема газовой колонки

Схема газовой колонки. Arderia котёл газовый схема. Схема подключения котла Ардерия. Схема газовой колонки Лемакс. Электрическая схема котла Ардерия.

Схема газовой колонки

Схема газовой колонки. Master Gas Comfort 10.

Схема газовой колонки

Схема газовой колонки

Схема газовой колонки. Газовая колонка BALTGAZ Comfort 15.

Схема газовой колонки. Газовая колонка вектор jsd20-w схема. Газовая колонка вектор схема подключения. Схема блока управления газовой колонки вектор. Электросхема газовой колонки Оазис.

Схема газовой колонки. Схема подключения проточной газовой колонки. Схема соединения газовой колонки. Газовая колонка схема подключения электро. Юнкерс 275 газовая колонка схема.

Схема газовой колонки. Проточный газовый водонагреватель Wert 10lt. Газовая колонка Оазис схема устройства теплообменник. Датчик тяги проточного газового водонагревателя схема. Датчик тяги проточного газового водонагревателя.

Схема газовой колонки. Газовая колонка Electrolux GWH 12 NANOPLUS 2.0. Газовая колонка Электролюкс схема включения. Газовая колонка Electrolux GWH 10 NANOPLUS 2.0. Колонка газовая Electrolux GWH 14.

Схема газовой колонки. Колонка Нива схема розжига.

Схема газовой колонки. Схема газовой колонки Занусси. Колонка газовая Занусси схема проводов. Электрическая схема газовой колонки Zanussi 12. Газовая колонка Занусси схема электрическая.

Схема газовой колонки. Газовая колонка Bosch WR 10 схема устройство. Схема подключения газовой колонки Bosch wr10 2p. Схема соединений ГАЗ колонки бош. Газовый проточный водонагреватель Bosch схема подключения.

Схема газовой колонки. Схема подключения блока управления газовой колонки Оазис. Электрическая схема газовой колонки Electrolux 265. Блок управления газовой колонки схема.

Схема газовой колонки. Схема мембран на газовой колонке. Схема газового водонагревателя Оазис. Газовая колонка Оазис схема устройства теплообменник.

Схема газовой колонки. Схема подключения газовой колонки Junkers. Схема подключения газовой колонки Юнкерс. Junkers газовая колонка схема. Газовая колонка Bosch WR 13 электрическая схема.

Схема газовой колонки. Газовая колонка ВПГ 18 схема подключения.

Схема газовой колонки. Устройство газовой колонки Оазис схема устройства. Устройство газовой колонки Лемакс 20.

Схема газовой колонки

Схема газовой колонки. Газовый водонагреватель Bosch схема. Газовая колонка бош схема устройства. Схема газовой колонки Bosch WR-13. Схема подключения газовой колонки бош 13.

Схема газовой колонки. Газовая колонка Electrolux GWH 11. Газовая колонка схема подключения воды Electrolux. Газовая колонка GWH-285 ern NANOPRO схема.

Схема газовой колонки

Схема газовой колонки

Схема газовой колонки. Схема газовой колонки Аристон фаст. Газовый проточный водонагреватель Аристон fast 11 CF P. Аристон газовая колонка схема устройства.

Схема газовой колонки. Схема подключения блока управления газовой колонки. Схема электрическая блока управления газовой колонкой. Блок управления газовой колонки схема.

Схема газовой колонки. Газовый проточный водонагреватель Electrolux схема.

Схема газовой колонки. Газовая колонка Comfort jsd10d схема.

Схема газовой колонки. Газовая колонка схема подключения воды. Газовый проточный подогреватель воды конструкция. Схема подключения проточной газовой колонки. Газовая колонка ВПГ 18 схема подключения.

Схема газовой колонки

Схема газовой колонки. Колонка газовая Оазис конструкция схема устройства.

Схема газовой колонки. Газовая колонка ВПГ 18 схема подключения. КГИ 56 газовая колонка схема. Принципиальная схема монтажа газового проточного водонагревателя.

Схема газовой колонки

Схема газовой колонки

Схема газовой колонки. Схема газовой колонки Занусси. Схема газовой колонки Электролюкс 10. Газовый водонагреватель Электролюкс схемы. Газовая колонка Занусси gwh10fonte устройство.

Схема газовой колонки. Газовая колонка Bosch Therm 2000. Газовая колонка Bosch w10 чертеж. Схема подключения газовой колонки фирмы Bosch. Газовая колонка Bosch WR 10 схема устройство.

Схема газовой колонки. Газовая колонка Oasis Pro WM 10. Газовый водонагреватель halsen WM 12. Газовый водонагреватель halsen WM 10. Проточный газовый водонагреватель Baxi sig-2 11i (19 КВТ) схема.

Схема газовой колонки. Газовая колонка Bosch Therm 2000. Газовая колонка Bosch Therm 2000 o w 10 KB. Колонка Bosch 10 KB. Газовая колонка Bosch Therm 2000 o w10 KB, батарея.

Схема газовой колонки

Схема газовой колонки. Газовая колонка Ладогаз схема. Газовая колонка Ладогаз ВПГ-10ed. Теплообменник газовой колонки ВПГ-10ae.

Схема газовой колонки. Проточный газовый водонагреватель Beretta Idrabagno. Газовая колонка Beretta Idrabagno 11 , схема подключения. Газовая колонка Беретта Idrabagno 14 конструкция. Схема газовой колонки Beretta Aqua.

Схема газовой колонки

Схема газовой колонки. Схема подключения проточной газовой колонки. Газовая колонка Электролюкс модель 265 ern устройство. Газовая колонка Electrolux 265 датчики. Электрическая схема газовой колонки.

Схема газовой колонки. Схема подключения газовой колонки Bosch wr10 2p. Газовая колонка Bosch схема. Газовый водонагреватель Bosch схема. Газовая колонка Bosch WR 10 схема устройство.

Схема газовой колонки. Газовая колонка Оазис схема устройства теплообменник. Схема газовой водонагревательной колонки Оазис. Газовая колонка Beretta блок управления.

Схема газовой колонки. Газовая колонка Beretta Idrabagno 11 i схема. Беретта Идрабаньо 11 схема газовой части. Газовая колонка Беретта Idrabagno 14 конструкция. Колонка газовая Беретта 14 схема.

Схема газовой колонки

Схема газовой колонки. Схема водяного узла газовой колонки Оазис.

Схема газовой колонки. Газовая колонка Балтгаз Классик 10.

Схема газовой колонки. Газовая колонка Оазис схема устройства теплообменник. Взрыв схема газовой колонки. Газовая водонагревательная колонка схема.

Схема газовой колонки

Схема газовой колонки

Схема газовой колонки

Схема газовой колонки. Проточный газовый водонагреватель Superflame sf0320 10l.

Схема газовой колонки. Газовая колонка Аристон фаст 11 CF P. Газовая колонка Аристон схема. Газовая колонка Ariston fast 14 схема. Газовая колонка Ariston fast cf14e.

Схема газовой колонки. Котёл бакси main 24 Fi. Схема котла Будерус. Датчики котла бакси майн 24. Схема газового котла Будерус.

Схема газовой колонки. Газовая колонка Аристон b11bs. Газовая колонка Аристон fast EVO 11b схема. Газовая колонка Ariston fast 14 схема подключения. Схема газовой колонки Аристон фаст.

Схема газовой колонки. Колонка Bosch Therm 4000. Газовая колонка Bosch Therm 4000 o. Газовая колонка Аристон с пьезорозжигом схема. Газовая колонка Bosch Junkers wr10 схема запчасти.

Схема газовой колонки

Схема газовой колонки. Схема подключения проточного нагревателя воды. Схема подключения электричества проточного водонагревателя. Схема включения газовой колонки вода. Схема включения газового водонагревателя.

Схема газовой колонки

Схема газовой колонки. Газовая колонка ВПГ 10 схема.

Схема газовой колонки

Схема газовой колонки. Газовая колонка мора Вега 10. Газовая колонка Mora Top (мора) Vega 13 e. Колонки газовые Mora Top Vega 13e. Газовая колонка Mora Top 5506.

Схема газовой колонки. Газовая колонка вектор jsd20-w схема. Схема газовой колонки Оазис. Газовая колонка Ватти hr20-NV. Схема блока управления газовой колонки вектор.

Схема газовой колонки. Газовая колонка Беретта Idrabagno 14 конструкция. Газовая колонка Beretta Idrabagno 11 , схема подключения. Схема газовой колонки Beretta Aqua. Колонка газовая Беретта 14 схема.

Схема газовой колонки

Схема газовой колонки. Водонагреватель проточный газовый модель ВПГ-10е и схема. Газовая колонка ВПГ 10 схема.

Схема газовой колонки

Схема газовой колонки

Схема газовой колонки

Схема газовой колонки. Схема подключения газовой колонки Аристон фаст 11 CFP. Схема газовой колонки Аристон фаст. Газовая колонка Аристон схема. Газовая колонка Аристон схема подключения воды.

Схема газовой колонки. Колонка газовая Балтгаз премиум 12. Газовая колонка Балтгаз схема колонки. Колонка газовая Балтгаз Размеры. Колонка Балтгаз 1788.

Схема газовой колонки. Принципиальная схема газовой колонки Электролюкс. Газовая колонка Electrolux 275 схема.

Схема газовой колонки

Схема газовой колонки

Схема газовой колонки

Схема газовой колонки

Схема газовой колонки

Схема газовой колонки

Схема газовой колонки. Аристон газовая колонка схема устройства. Аристон газовый водонагреватель 200 схема подключения. Газовая колонка схема устройства. Газовый водонагреватель проточный Аристон схема подключения.

Схема газовой колонки. Схема подключения газовой колонки. Газовая колонка Ладогаз схема. Схема подключения газовой колонки Занусси. Схема газовой колонки мора топ.

Схема газовой колонки. Газовый водонагреватель Wert 10 LC White. Проточный газовый водонагреватель Wert 10lc. Схема автоматики проточного газового водонагревателя.

  • Вперед Горит стоп на спойлере ваз 2114
  • Назад К людям надо относиться мягше а на вопросы смотреть ширше картинка

Новые страницы

Blue sleep матрасы

Характеристика с работы в суд по уголовному делу образец

Хламидия трахоматис лечение у мужчин

Карта со спутника волгоград в реальном времени со спутника

Картинка наблюдения для презентации

Картинки аниме пара влюбленных

Клеи герметики

Любимый вид спорта краткое сочинение

Маршрут 24 йошкар ола схема проезда маршрутки на карте

Мир схема проезда

Найдите неполные предложения расставьте знаки препинания мы пробираемся лесом

Не выключается вентилятор опель астра h

Некрасивые актрисы российского кино второго плана

Образец журнала регистрации входящих документов

Переход с третьяковской на новокузнецкую схема

Подключение зеркал приора на ваз 2110

Поло вид спорта

Протокол административного задержания образец

Ремонт реф установок

Ремонт телефонов самсунг в спб невский район

С днем рождения николай прикольные и смешные картинки

Схема размещения и использования охотничьих угодий

Схема зала большого театра историческая сцена

Сифон переливной электрический

Сочинение самоуважение

Сопротивление акб

Составьте уравнение реакции взаимодействия магния с соляной кислотой дайте полную характеристику

Спорт политика государства

Спортивные залы для женщин

Тренировка выносливости важна для бегунов

cdn.zecar.ru