Skip to content

Фотогалерея

  • Главная
  • Контакты

Схема блока укв 1 1

Схема блока укв 1 1

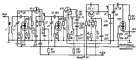
Схема блока укв 1 1. УКВ блок УКВ-2-01с схема. Блок УКВ-1-1с схема. Тюнер Элегия 106 ,блок УКВ. Блок УКВ Элегия 102.

Схема блока укв 1 1

Схема блока укв 1 1. Вега РП-240 схема радиоприемник. Вега РМ-235с-1 схема блока УКВ радиоприемника. Перестройка приемника Вега 240 на fm.

Схема блока укв 1 1. УКВ блок "УКВ-1-05с". Блок УКВ-1-1с перестройка УКВ на ФМ. Блок УКВ-2-01с перестройка на ФМ УКВ блока. Блок УКВ 1 05с схема перестройка.

Схема блока укв 1 1. УКВ-2-2-Е-01 схема. Блок УКВ 2-1с схема. Fm блок УКВ-1-05е. УКВ блок УКВ-2-01с схема.

Схема блока укв 1 1. УКВ блок лампового радиоприемника схема. Блок УКВ ИП 2 схема принципиальная. Урал 112 блок УКВ схема. Ламповый приёмник Урал 111 УКВ на ФМ.

Схема блока укв 1 1. Схема блока УКВ Ригонда 102. Блок УКВ ИП 8.4. Блок УКВ ИП-2а схема. Схема лампового приемника с блоком УКВ.

Схема блока укв 1 1. Блок УКВ 2-1с схема. УКВ блок УКВ-2-01с схема. УКВ-1-2с схема. Схема блока УКВ-1-1с Рига 104.

Схема блока укв 1 1. Блок УКВ-2-01с перестройка на ФМ УКВ блока. Блок УКВ-1-1с перестройка УКВ на ФМ. Перестройка УКВ на ФМ приемника. Схема УКВ блок океан 214 УКВ-2-01с схема перестройка на ФМ.

Схема блока укв 1 1. УКВ-ип2 перестройка блока УКВ ип2 на ФМ схема. Печатная схема блока УКВ-ип2. Схема телевизора Юность 402. Схема радиостанции сигнал 201б.

Схема блока укв 1 1

Схема блока укв 1 1

Схема блока укв 1 1. Схема блока УКВ океан 209.

Схема блока укв 1 1

Схема блока укв 1 1

Схема блока укв 1 1. УКВ блок УКВ-2-01с схема. УКВ-2-01с перестройка УКВ на fm схема. Блок УКВ-1-02с схема. Блок УКВ 1 05с схема перестройка.

Схема блока укв 1 1. УКВ блок "УКВ-1-05с". УКВ приемник на 174пс1 и 174ха6. УКВ приемник на к174ур3. Радиоприемник салют 001 схема блока УКВ.

Схема блока укв 1 1. Блок УКВ 2-1с схема. УКВ-1-02с схема. Блок УКВ-2-01с схема. Блок УКВ-1-02с схема.

Схема блока укв 1 1. Блок УКВ 2-1с схема. Блок УКВ 3-1 схема. УКВ блок УКВ-2-01с схема. УКВ блок "УКВ-1-05с".

Схема блока укв 1 1

Схема блока укв 1 1. Радиотехника т-7111 схема блока УКВ. УКВ блок "УКВ-1-05с". Тюнер радиотехника т-7111 блок УКВ. Схема тюнера радиотехника т 7111fs.

Схема блока укв 1 1. Радиоприемник салют 001 схема блока УКВ. Блок УКВ 2-1с схема. Блок УКВ 3 1 Сокол 308. Блок УКВ 1-1с на ФМ 108.

Схема блока укв 1 1. Радиоприемник Казахстан 2 блок УКВ. Блок УКВ 2-2-Е перестройка на ФМ. Блок УКВ радиоприемника океан 209. Океан-205 перестройка УКВ на fm.

Схема блока укв 1 1. Аэлита 102 магнитофон схема принципиальная. Блок УКВ-3-03с схема. Принципиальная схема магнитолы Аэлита 102. Аэлита 102 схема.

Схема блока укв 1 1

Схема блока укв 1 1. УКВ приемник на гт313. Схема УКВ приемника на гт313. VEF 221 схема блока УКВ. Блок УКВ радиоприёмника 6м5.003.004.

Схема блока укв 1 1. Радиоприемник Ишим 003 блок УКВ-1-05с. Блок УКВ 2-1с схема. Схема блока УКВ-1-02с схема. Блок УКВ-1-1с приемник.

Схема блока укв 1 1. Рига 103 стерео схема. Схема блока УКВ-1-1с Рига 104. Радиоприёмник Рига 103 схема. Рига 103 блок УКВ схема.

Схема блока укв 1 1. Меридиан 206 радиоприемник схема. Блок УКВ 2-1с схема. Схема приемника Меридиан 206. Схема приемника Меридиан 235.

Схема блока укв 1 1. Перестройка блока УКВ-ИП-2 на. Блок УКВ ИП 2. Блок УКВ ИП-2а схема. Блок УКВ ИП 8.4.

Схема блока укв 1 1. УКВ блок "УКВ-1-05с". УКВ-1-05с схема. Блок УКВ-1-05с перестройка на ФМ диапазон. Блок УКВ 2-1с схема.

Схема блока укв 1 1. Схема блока УКВ приемника океан. Схема блока УКВ-1-02с схема. УКВ блок УКВ-2-01с схема. Схема блока УКВ приёмника океан214.

Схема блока укв 1 1. Блок УКВ 2-1с схема. Блок УКВ-1-05е. УКВ блок "УКВ-1-05с". Блок УКВ-3-03с схема.

Схема блока укв 1 1

Схема блока укв 1 1

Схема блока укв 1 1. Схема УКВ блока ВЭФ 214. Эл.схема магнитолы VEF-260 Sigma. Блок УКВ-2-08е блока BVR-01. - Блок УКВ-2-08е.

Схема блока укв 1 1. УКВ блок УКВ-2-01с схема. Блок УКВ 2-1с схема. Океан 214 схема УКВ 2 01с. Схема блока УКВ-2-01с океан 214.

Схема блока укв 1 1. Тюнер kcf201v-a схема. Kcf201v-a автомагнитолы тюнер схема включения. Ремонт приемника КК-9918. Океан-209 блок переключателей режима работы.

Схема блока укв 1 1

Схема блока укв 1 1

Схема блока укв 1 1. Урал-авто-2 схема УКВ блока. Схема блока УКВ Ригонда 102. Ригонда 102 схема переделка УКВ на ФМ. УКВ блок радиолы Беларусь 101.

Схема блока укв 1 1

Схема блока укв 1 1. Схема блока УКВ Рига 104. Блок УКВ-1-1с схема. Блок УКВ 2-1с схема. Виктория 001 схема УКВ.

Схема блока укв 1 1. Блок УКВ ам-301. Урал-авто-2 схема УКВ блока. Блюз приемник 301 схема. Схема УКВ блока автомагнитолы.

Схема блока укв 1 1. Ореанда 204 схема. Ореанда РМ-204с схема. Схема магнитолы Аэлита РМ-204с. Усилитель Аэлита РМ-204с схема.

Схема блока укв 1 1. Блок УКВ 1 03с перестройка на ФМ. Блок УКВ Вега 003. Блок УКВ 3-03с перестройка на ФМ УКВ блока. Магнитола Вега 328 стерео УКВ блок.

Схема блока укв 1 1. Блок УКВ 3-1 схема. Виктория 003 УКВ блок.

Схема блока укв 1 1. Блок УКВ-С схема. Блок УКВ 2-1с схема. Блок УКВ-2-01с схема. УКВ-1-2с схема.

Схема блока укв 1 1. Блок УКВ приемника океан 214. Схема блока УКВ приёмника океан214. Схема блока УКВ-1-02с схема. Перестройка УКВ океан 214 блок УКВ-1с.

Схема блока укв 1 1. Океан 205 схема блока УКВ. Блок УКВ радиоприемника океан 209. Океан 209 схема УКВ. Схема блока УКВ радиоприемника океан 209.

Схема блока укв 1 1

Схема блока укв 1 1. Блок УКВ приемника Урал-авто 2. Автомагнитола Урал авто 2 схема. Урал-авто-2 схема УКВ блока. Радиоприёмник Урал авто 2 схема.

Схема блока укв 1 1. Блок УКВ-2-01с схема. - Блок УКВ-2-08е. Урал-авто-2 схема УКВ блока. Блок УКВ-1-05с схема.

Схема блока укв 1 1

Схема блока укв 1 1. Океан 209 схема электрическая принципиальная. Схема блока УКВ океан 209. Схема УКВ блока океан 222. Схема радиоприемника океан 209.

Схема блока укв 1 1. УКВ блок "УКВ-1-05с". Перестройка блока УКВ-1-05с. Рига 111 магнитола схема. Схема УКВ блока УКВ-1-05с.

Схема блока укв 1 1

Схема блока укв 1 1

Схема блока укв 1 1

Схема блока укв 1 1. Радиоприемник Меридиан РП-309 схема. Радиоприёмник Меридиан 235 перестройка УКВ на ФМ. Меридиан РП-248 схема. Схема приемника Меридиан рп348.

Схема блока укв 1 1

Схема блока укв 1 1

Схема блока укв 1 1

Схема блока укв 1 1. Схема блока УКВ Ригонда 102. Блок УКВ ИП-2а схема. Схема лампового приемника с блоком УКВ. Блок УКВ Ригонда моно.

Схема блока укв 1 1. Схема радиоприемник океан-209 схема блока УКВ. Блок УКВ 2-1с схема. УКВ блок "УКВ-1-05с". Блок УКВ 1-02с перестройка.

Схема блока укв 1 1. Блок УКВ на микросхеме к237ха5. Микросхема к237ха5 схема включения. УКВ блок на к237ха5 схема. Блок УКВ-1-05с схема.

  • Вперед Cfna допуск масла
  • Назад Угол между отраженным и преломленным лучами равен 110 чему равна сумма углов падения и преломления

Новые страницы

3 Класс математика учебник 2 часть гдз ответы

Ам передатчик на 160 метров

Биржевые брокеры

Что означает эмблема рено

Что такое спелеотерапия в санатории

Гей ру

Геленджик пляж нива

Глицерин с металлическим натрием

Холидей клуб

Хорошего отдыха картинки прикольные гифки

Ключ 22 на 24

Конный спорт зимой

Марина и артем собрали и подготовили для гербария образцы растений для каждого растения

Можно заниматься спортом во время беременности

Отделы мозга схема

Пирамида хеопса внутри ловушки

Плоскоклеточная ороговевающая карцинома

Потеют стекла в дэу матиз

Предохранители и реле лада калина

Предупредительная интонация

Птица счастья детский рисунок

Расценка на погрузку мусора вручную

Схема как собрать кубик рубик 4х4 самый легкий способ

Смерч установка залпового

Справка об обучении в школе образец скачать

Тренировки по футболу дома

Тренировочные задания по русскому языку 3

Виды соревнований спортивной гимнастике

Журнал азопирамовой пробы образец заполнения

Журнал технадзора образец

cdn.zecar.ru